Export Control
EAR Export Classification: Not subject to the EAR per 15 C.F.R. Chapter 1, Part 734.3(b)(3), except for the following Service Bulletins which are currently published as EAR Export Classification 9E991: SBE70-0992, SBE72-0483, SBE72-0580, SBE72-0588, SBE72-0640, SBE73-0209, SBE80-0024 and SBE80-0025.Copyright
© IAE International Aero Engines AG (2001, 2014 - 2021) The information contained in this document is the property of © IAE International Aero Engines AG and may not be copied or used for any purpose other than that for which it is supplied without the express written authority of © IAE International Aero Engines AG. (This does not preclude use by engine and aircraft operators for normal instructional, maintenance or overhaul purposes.).Applicability
All
Common Information
TASK 30-21-49-700-101 Anti-Ice Ducts - Do A Test, Testing-001
Effectivity
FIG/ITEM | PART NO. |
01-070 | 745-5151-501 |
01-070 | 745-5151-503 |
02-100 | 740-5152-507 |
02-100 | 745-5152-501 |
02-100 | 745-5152-503 |
02-500 | 740-5153-507 |
01-010 | 740-5172-505 |
01-050 | 740-5173-507 |
01-070 | 740-5183-501 |
01-070 | 740-5183-503 |
General
Fig/item numbers in parentheses in the procedure agree with those used in the IPC. Only the primary Fig/item numbers are used. For the service bulletin alpha variants refer to the IPC.
The ducts must be cleaned and inspected before this pressure test, Refer to Cleaning-000 TASK 30-21-49-100-100 and Inspection-000 TASK 30-21-49-200-100.
NOTE
The Test Equipment Specification
Preliminary Requirements
Pre-Conditions
NONESupport Equipment
| Name | Manufacturer | Part Number / Identification | Quantity | Remark |
|---|---|---|---|---|
| Hydraulic pressure testing rig | LOCAL | Hydraulic pressure testing rig | ||
| Pneumatic pressure testing rig | LOCAL | Pneumatic pressure testing rig | ||
| Coupling, Aeroquip | 0AM53 | 6299242-0250 | ||
| Coupling, Aeroquip | 0AM53 | 6299257-0200 | ||
| 6299257-0250 Coupling, Aeroquip | 0AM53 | 6299257-0250 | ||
| IAE 1N20411 Blanking adapter | 0AM53 | IAE 1N20411 | 1 off | |
| IAE 1N20412 Pressurizing adapter | 0AM53 | IAE 1N20412 | 1 off | |
| IAE 1N20413 Pressurizing adapter | 0AM53 | IAE 1N20413 | 1 off | |
| IAE 1N20414 Blanking adapter | 0AM53 | IAE 1N20414 | 1 off | |
| IAE 1N20415 Pressurizing adapter | 0AM53 | IAE 1N20415 | 1 off | |
| IAE 1N20416 Blanking adapter | 0AM53 | IAE 1N20416 | 1 off | |
| IAE 1N20417 Pressurizing adapter | 0AM53 | IAE 1N20417 | 1 off | |
| IAE 1N20418 Blanking adapter | 0AM53 | IAE 1N20418 | 1 off |
Consumables, Materials and Expendables
NONESpares
NONESafety Requirements
NONEProcedure
Install the IAE 1N20415 Pressurizing adapter 1 off and the 206- 368 dowty seal 1 off to the duct (01-010). Safety the components with an applicable aeroquip coupling.
Install the IAE 1N20416 Blanking adapter 1 off and the 206-367 dowty seal 1 off to the duct (01-010). Safety the components with an applicable aeroquip coupling.
Install the IAE 1N20413 Pressurizing adapter 1 off and 206-368 dowty seal 1 off to the duct (01-050). Safety the components with an applicable aeroquip coupling.
Install the IAE 1N20414 Blanking adapter 1 off and the 206-366 dowty seal 1 off to the duct (01-050). Safety the components with 0.250in. (6,4 mm) bolts, washers and nuts.
Install the IAE 1N20412 Pressurizing adapter 1 off and the 206- 354 dowty seal 1 off to the duct (01-070). safety the components with an applicable aeroquip coupling.
Install the IAE 1N20411 Blanking adapter 1 off and the 206-368 dowty seal 1 off to the duct (01-070). Safety the components with an applicable aeroquip coupling.
Install the IAE 1N20417 Pressurizing adapter 1 off and the 206- 356 dowty seal 1 off to the duct (02-100). Safety the components with an applicable aeroquip coupling.
Install the IAE 1N20418 Blanking adapter 1 off and the 206-356 dowty seal 1 off to the duct (02-100). Safety the components with an applicable aeroquip coupling.
Install the IAE 1N20417 Pressurizing adapter 1 off and the 206-356 dowty seal 1 off to the duct (02-500). Safety the components with an applicable aeroquip coupling.
Install the IAE 1N20418 Blanking adapter 1 off and the 206-356 dowty seal 1 off to the duct (02-500). Safety the components with an applicable aeroquip coupling.
SUBTASK 30-21-49-780-051 Prepare the Ducts (01-070, 02-100, 02-500, 01-010 and 01-050) for the Hydraulic Pressure-Test
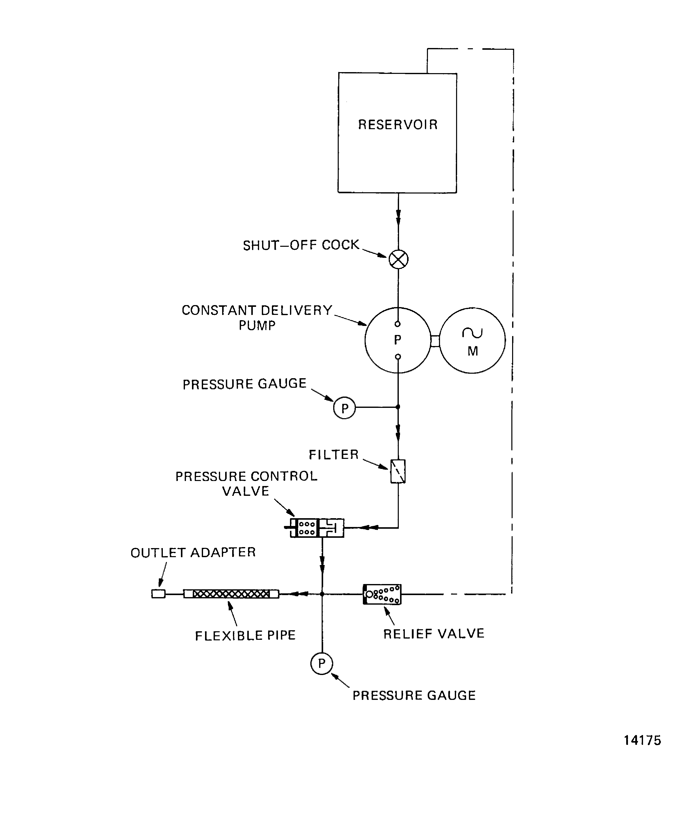
Connect the duct to the outlet of the Hydraulic pressure testing rig.
Make sure that the bleed screw is at the highest position and open.
Make sure that the pressure control valve is set to zero.
Start the Hydraulic pressure testing rig.
Slowly turn the pressure control valve until the fluid comes out of the bleed screw.
Close the bleed screw.

CAUTION
DO NOT GO PAST THE TEST PRESSURE SHOWN BELOW. IT CAN CAUSE DAMAGE TO THE DUCT. IF THE PRESSURE IN THE DUCT GETS TO MORE THAN THAT SHOWN BELOW, REJECT THE DUCT.Increse the pressure in the ducts (01-010, 01-050, 01-070, 02-100 and 02-500) to 195 psi (1345 kPa).
Let the pressure stay in the duct for 2 minutes.
Make sure that the duct has no leaks. If the duct has leaks, reject the duct, Refer to Inspection-000 TASK 30-21-49-200-100.
Decrease the pressure in the duct to zero.
Stop the Hydraulic pressure testing rig.
Open the bleed screw.
Disconnect the duct from the outlet of the Hydraulic pressure testing rig.
Remove the couplings, the adapters and the seals from the duct.

WARNING
BE CAREFUL WHEN YOU USE COMPRESSED AIR. PUT ON PROTECTIVE CLOTHING AND GOGGLES.Remove unwanted fluid from the duct with clean, dry compressed air.
SUBTASK 30-21-49-780-052 Do the Hydraulic Pressure Test of the Ducts (01-070, 02-100, 02-500, 01- 010 and 01-050)
Do again the procedure to prepare the duct for the hydraulic pressure test, refer to Step
SUBTASK 30-21-49-780-053 Prepare the Ducts (01-070, 02-100, 02-500, 01-010 and 01-050) for the Pneumatic Pressure Test
Make sure that the bleed screw is closed.
Connect the duct to the outlet of the Pneumatic pressure testing rig.
Put a pressure of 14.5 psi (100 kPa) in the duct.
Put the duct in the water tank.
Let the pressure stay in the duct for 1 minute.
Make sure that the duct has no leaks. If the duct has leaks, reject the duct, Refer to Inspection-000 TASK 30-21-49-200-100.
Decrease the pressure in the duct to zero.
Disconnect the duct from the outlet of the Pneumatic pressure testing rig.
Remove the couplings, the adapters and the seals from the duct.
SUBTASK 30-21-49-780-054 Do the Pneumatic Pressure Test of the Ducts (01-070, 01-100, 02-500, 01- 010 and 01-050)
Figure: Hydraulic Pressure Testing Rig
Hydraulic Pressure Testing Rig

Figure: Pneumatic Pressure Testing Rig
Pneumatic Pressure Testing Rig

