Export Control
EAR Export Classification: Not subject to the EAR per 15 C.F.R. Chapter 1, Part 734.3(b)(3), except for the following Service Bulletins which are currently published as EAR Export Classification 9E991: SBE70-0992, SBE72-0483, SBE72-0580, SBE72-0588, SBE72-0640, SBE73-0209, SBE80-0024 and SBE80-0025.Copyright
© IAE International Aero Engines AG (2001, 2014 - 2021) The information contained in this document is the property of © IAE International Aero Engines AG and may not be copied or used for any purpose other than that for which it is supplied without the express written authority of © IAE International Aero Engines AG. (This does not preclude use by engine and aircraft operators for normal instructional, maintenance or overhaul purposes.).Applicability
All
Common Information
TASK 71-00-02-000-005 (A1/A5-PPBU) - Remove The Forward Engine Mount, Removal-005
General
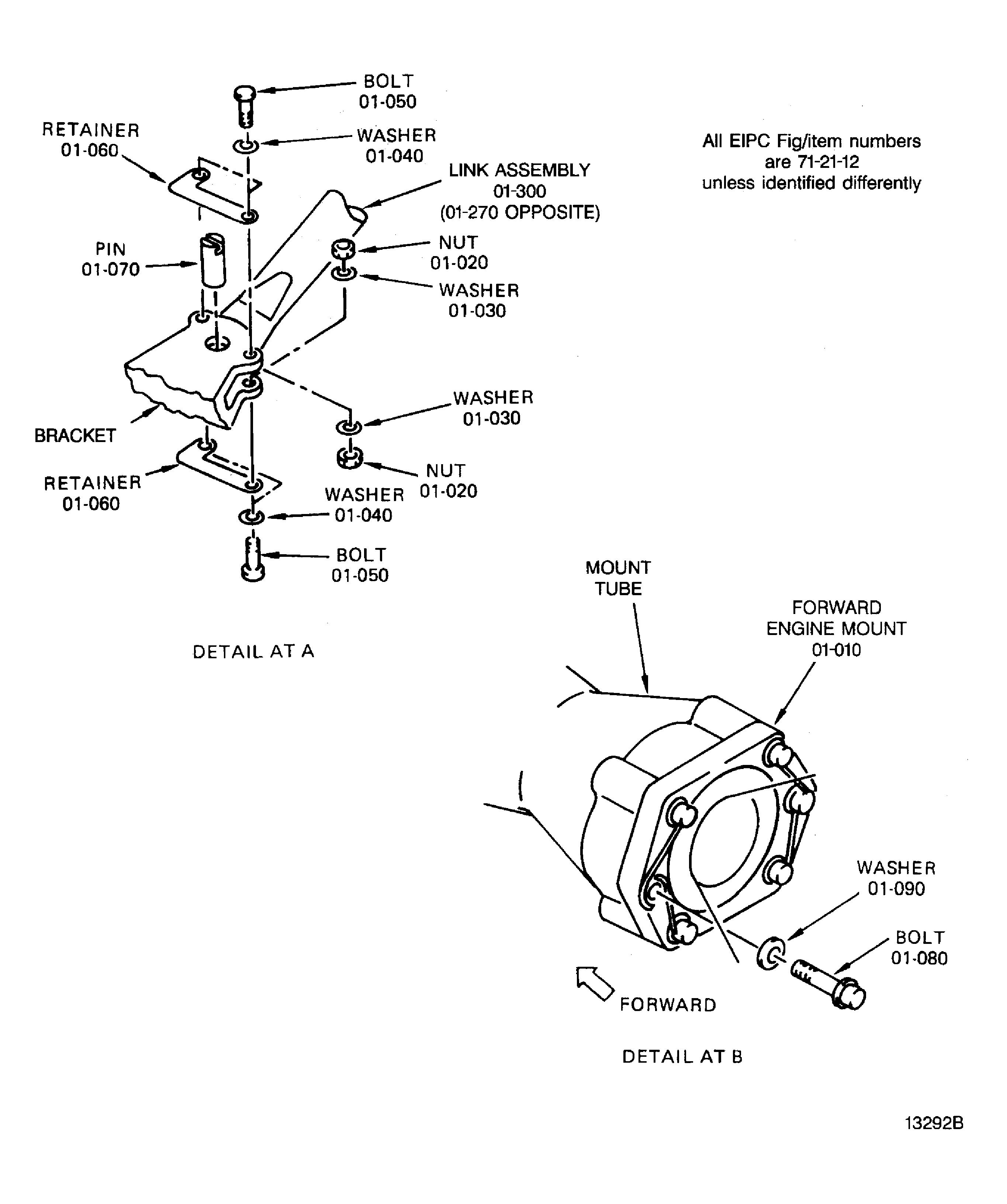
Fig./item numbers in parentheses in the procedure agree with those used in the IPC. Only the primary Fig./item numbers are used. For the service bulletin alpha variants refer to the IPC.
For all parts identified in a different Chapter/Section/Subject, the applicable Chapter/Section/Subject comes before the Fig./item number.
Apply the approved CoMat 10-058 PENETRATING OIL before the removal of threaded parts and parts with an interface fit. Let the parts soak before removal.
Remove and discard the lockwire before parts are disconnected or removed.
NOTE
Preliminary Requirements
Pre-Conditions
NONESupport Equipment
| Name | Manufacturer | Part Number / Identification | Quantity | Remark |
|---|---|---|---|---|
| IAE 1N20014 Forward engine mount sling | 0AM53 | IAE 1N20014 | 1 |
Consumables, Materials and Expendables
| Name | Manufacturer | Part Number / Identification | Quantity | Remark |
|---|---|---|---|---|
| CoMat 10-058 PENETRATING OIL | 0AM53 | CoMat 10-058 |
Spares
NONESafety Requirements
NONEProcedure
Refer to Figure.
Attach the IAE 1N20014 Forward engine mount sling 1 off to a hoist and hang the sling above the forward engine mount.
SUBTASK 71-00-02-050-006 Attach the Forward Mount Sling and Mounting Plate
Remove the bolts Front Mount Support Assembly And Mount Brackets (71-21-12, 01-050), the nuts Front Mount Support Assembly And Mount Brackets (71-21-12, 01-020), the washers Front Mount Support Assembly And Mount Brackets (71-21-12, 01-030) and Front Mount Support Assembly And Mount Brackets (71-21-12, 01-040), the retainers Front Mount Support Assembly And Mount Brackets (71-21-12, 01-060) and the pins Front Mount Support Assembly And Mount Brackets (71-21-12, 01-070) which attach the forward engine mount link assemblies Front Mount Support Assembly And Mount Brackets (71-21-12, 01-270) and Front Mount Support Assembly And Mount Brackets (71-21-12, 01-300) to the brackets.
Remove the six bolts Front Mount Support Assembly And Mount Brackets (71-21-12, 01-080) and washers Front Mount Support Assembly And Mount Brackets (71-21-12, 01-090) that attach the forward engine mount Front Mount Support Assembly And Mount Brackets (71-21-12, 01-010) to the mount tube.
SUBTASK 71-00-02-050-007 Remove the Forward Engine Mount
Refer to Figure.
Remove the IAE 1N20014 Forward engine mount sling 1 off and mounting plate from the engine mount.
SUBTASK 71-00-02-050-020 Remove the Forward Engine Mount Sling and Mounting Plates
Figure: Forward Engine Mount Sling Attachment
Forward Engine Mount Sling Attachment

Figure: Forward Engine Mount
Sheet 1

Figure: V2500-A1 Forward Engine Mount
Sheet 2

Figure: V2500-A5 Forward Engine Mount
Sheet 3

