Export Control
EAR Export Classification: Not subject to the EAR per 15 C.F.R. Chapter 1, Part 734.3(b)(3), except for the following Service Bulletins which are currently published as EAR Export Classification 9E991: SBE70-0992, SBE72-0483, SBE72-0580, SBE72-0588, SBE72-0640, SBE73-0209, SBE80-0024 and SBE80-0025.Copyright
© IAE International Aero Engines AG (2001, 2014 - 2021) The information contained in this document is the property of © IAE International Aero Engines AG and may not be copied or used for any purpose other than that for which it is supplied without the express written authority of © IAE International Aero Engines AG. (This does not preclude use by engine and aircraft operators for normal instructional, maintenance or overhaul purposes.).Applicability
All
Common Information
TASK 72-00-31-300-005 LPC Fan Blade - Blend Repair Leading Edge Erosion, Repair-005 (VRS1051)
Material of component
PART IDENT | SYMBOL | MATERIAL |
|---|---|---|
LP Compressor rotor blade assembly | TFH or TJW | Titanium, Aluminum and Vanadium alloy |
General
This repair must only be done when instructed to do so is given in 72-00-31 Inspection/Check.
This repair gives the procedure to repair erosion on the leading edge only, of the LP Compressor Rotor Blade, by material removal.
The maximum area of metal removal, for a given LP Compressor Rotor Blade set is equivalent of three blades dressed to the maximum limit. Exceeding this could result in engine vibration of unacceptable limits and/or increased SFC.
Fan Blade repaired to this scheme, must be glass bead peened when the blades are removed from the LP Fan Disk by 72-00-31, Inspection/Check. Glass bead peening instructions are specified in Repair, VRS1724 TASK 72-31-11-300-026 (REPAIR-026).
The practices and processes referred to in this procedure by TASK numbers are in the SPM.
NOTE
NOTE
NOTE
Preliminary Requirements
Pre-Conditions
NONESupport Equipment
| Name | Manufacturer | Part Number / Identification | Quantity | Remark |
|---|---|---|---|---|
| Chemical Cleaning Equipment | LOCAL | Chemical Cleaning Equipment | ||
| Fluorescent Penetrant Inspection Equipment | LOCAL | Fluorescent Penetrant Inspection Equipment | ||
| Portablegrinding equipment | LOCAL | Portable grinding equipment | ||
| Cloth | LOCAL | Cloth | ||
| Brush | LOCAL | Brush | ||
| Workshop Inspection Equipment | LOCAL | Workshop Inspection Equipment | ||
| Vibrating Marking Pencil | LOCAL | Vibrating Marking Pencil | ||
| IAE 3R19016 LE profile gage | 0AM53 | IAE 3R19016 | 1 | |
| IAE 3R19017 LE profile gage | 0AM53 | IAE 3R19017 | 1 | |
| IAE 3R19317 Template | 0AM53 | IAE 3R19317 | ||
| IAE 3R19320 Template | 0AM53 | IAE 3R19320 | ||
| IAE 3R19321 Mould | 0AM53 | IAE 3R19321 | ||
| IAE 3R19323 Mould | 0AM53 | IAE 3R19323 |
Consumables, Materials and Expendables
| Name | Manufacturer | Part Number / Identification | Quantity | Remark |
|---|---|---|---|---|
| CoMat 02-050 HIGH TEMPERATURE GLASS CLOTH TAPE | 76381 | CoMat 02-050 | ||
| CoMat 02-051 HIGH TEMPERATURE GLASS CLOTH TAPE | 0AM53 | CoMat 02-051 | ||
| CoMat 02-052 HIGH TEMPERATURE GLASS CLOTH TAPE | 0AM53 | CoMat 02-052 | ||
| CoMat 02-053 HIGH TEMPERATURE GLASS CLOTH TAPE | 0AM53 | CoMat 02-053 | ||
| CoMat 03-398 METAL SPRAYING STOPPING-OFFCOMPOUND | LOCAL | CoMat 03-398 | ||
| CoMat 05-019 WATERPROOF SILICON CARBIDE | LOCAL | CoMat 05-019 | ||
| CoMat 05-020 WATERPROOF SILICON CARBIDE | LOCAL | CoMat 05-020 | ||
| CoMat 05-021 WATERPROOF SILICON CARBIDE | 44197 | CoMat 05-021 | ||
| CoMat 05-064 WATERPROOF SILICON CARBIDE | K6835 | CoMat 05-064 | ||
| CoMat 06-022 FLUORESCENT PENETRANT (POST-EMULSIFIED ULTRA HIGH SENSITIVITY) | LOCAL | CoMat 06-022 | ||
| CoMat 06-063 FLUORESCENT PENETRANT (POST-EMULSIFIED MEDIUM SENSITIVITY) | LOCAL | CoMat 06-063 | ||
| CoMat 06-064 FLUORESCENT PENETRANT (WATER WASHABLE MEDIUM SENSITIVITY) | LOCAL | CoMat 06-064 |
Spares
NONESafety Requirements
NONEProcedure
Refer to TASK 70-23-05-230-501.
Use CoMat 06-063 FLUORESCENT PENETRANT (POST-EMULSIFIED MEDIUM SENSITIVITY) or CoMat 06-064 FLUORESCENT PENETRANT (WATER WASHABLE MEDIUM SENSITIVITY), with Fluorescent Penetrant Inspection Equipment 1 off.
Cracks are not permitted.
Do a penetrant crack test on the leading edge to find all the damage.
SUBTASK 72-00-31-230-059 Examine the LP Compressor Rotor Blade Assembly for Cracks
SUBTASK 72-00-31-350-055 Seal the LP Compressor Rotor Blade Airfoil Surfaces
Refer to Figure.
The profiling of the leading edge must be done such that excess thickness is removed only from the suction surface of the airfoil and leading edge radii is recreated/blended smoothly into the original non-eroded blade profile.
Use IAE 3R19016 LE profile gage 1 off, IAE 3R19017 LE profile gage 1 off, IAE 3R19317 Template 1 off and IAE 3R19321 Mould 1 off.
Only minimum amount of material removal is required to get a satisfactory leading edge profile.
If you use mechanical tools, do not exceed 1000 rpm.
Use Portablegrinding equipment 1 off.

CAUTION
TITANIUM COMPONENT - YOU MUST USE SILICON CARBIDE TYPE ABRASIVE WHEELS, STONES AND PAPERS TO DRESS, BLEND AND POLISH THIS COMPONENT.
CAUTION
TITANIUM COMPONENT - DO NOT USE FORCE WITH MECHANICAL CUTTERS OR THE MATERIAL WILL BECOME TOO HOT.
CAUTION
TITANIUM COMPONENT - IF THE MATERIAL SHOWS A CHANGE IN COLOR, TO DARKER THAN A LIGHT STRAW COLOR, THE COMPONENT IS TO BE REJECTED.
CAUTION
TITANIUM COMPONENT - MAXIMUM SPEED FOR MECHANICAL TOOLS MUST NOT EXCEED 1000 REVOLUTIONS PER MINUTE.
CAUTION
MAKE SURE THE LEADING EDGE PROFILE RADIUS IS POLISHED ALL ROUND THE NOSE. THE FINISHED PROFILE MUST GIVE A NOSE DOWN CONDITION FIG 72-00-31-990-082 (FIG 912).Re-profile the leading edge radii.
Use CoMat 05-021 WATERPROOF SILICON CARBIDE, CoMat 05-020 WATERPROOF SILICON CARBIDE, CoMat 05-019 WATERPROOF SILICON CARBIDE and/or CoMat 05-064 WATERPROOF SILICON CARBIDE.
Make sure all the damage marks are completely removed and the area is made smooth into the adjacent material.
Polish repaired area(s), to remove scratches and to give a surface finish the same as the adjacent material.
NOTE
Although erosion can be removed by full edge material removal, erosion will be more evident on the top half of the LP Compressor Rotor Blade.Make smooth and polish the repaired area(s).
Do Step.
NOTE
The last polish is to be in a radial direction.Remove the stopping-off compound or masking tape.
SUBTASK 72-00-31-350-056-A00 Remove Erosion from the LP Compressor Rotor Blade Assembly, Assembly A
Refer to Figure.
The profiling of the leading edge must be done such that excess thickness is removed only from the suction surface of the airfoil and leading edge radii is recreated/blended smoothly into the original non-eroded blade profile.
Use IAE 3R19016 LE profile gage 1 off, IAE 3R19017 LE profile gage 1 off.
Only minimum amount of material removal is required to get a satisfactory leading edge profile.
If you use mechanical tools, do not exceed 1000 rpm.
Use Portablegrinding equipment 1 off.

CAUTION
TITANIUM COMPONENT - YOU MUST USE SILICON CARBIDE TYPE ABRASIVE WHEELS, STONES AND PAPERS TO DRESS, BLEND AND POLISH THIS COMPONENT.
CAUTION
TITANIUM COMPONENT - DO NOT USE FORCE WITH MECHANICAL CUTTERS OR THE MATERIAL WILL BECOME TOO HOT.
CAUTION
TITANIUM COMPONENT - IF THE MATERIAL SHOWS A CHANGE IN COLOR, TO DARKER THAN A LIGHT STRAW COLOR, THE COMPONENT IS TO BE REJECTED.
CAUTION
TITANIUM COMPONENT - MAXIMUM SPEED FOR MECHANICAL TOOLS MUST NOT EXCEED 1000 REVOLUTIONS PER MINUTE.
CAUTION
MAKE SURE THE LEADING EDGE PROFILE RADIUS IS POLISHED ALL ROUND THE NOSE. THE FINISHED PROFILE MUST GIVE A NOSE DOWN CONDITION FIG.72-00-31-990-082 (FIG. 912).Re-profile the leading edge radii.
Use CoMat 05-021 WATERPROOF SILICON CARBIDE, CoMat 05-020 WATERPROOF SILICON CARBIDE, CoMat 05-019 WATERPROOF SILICON CARBIDE and/or CoMat 05-064 WATERPROOF SILICON CARBIDE.
Make sure all the damage marks are completely removed and the area is made smooth into the adjacent material.
Polish repaired area(s), to remove scratches and to give a surface finish the same as the adjacent material.
NOTE
Although erosion can be removed by full edge material removal, erosion will be more evident on the top half of the LP Compressor Rotor Blade.Make smooth and polish the repaired area(s).
Do Step.
NOTE
The last polish is to be in a radial direction.Remove the stopping-off compound or masking tape.
SUBTASK 72-00-31-350-056-B00 Remove Erosion from the LP Compressor Rotor Blade Assembly, Assembly B
Refer to Figure.
The profiling of the leading edge must be done such that excess thickness is removed only from the suction surface of the airfoil and leading edge radii is recreated/blended smoothly into the original non-eroded blade profile.
Use IAE 3R19016 LE profile gage 1 off, IAE 3R19017 LE profile gage 1 off and IAE 3R19323 Mould 1 off.
Only minimum amount of material removal is required to get a satisfactory leading edge profile.
If you use mechanical tools, do not exceed 1000 rpm.
Use portable grinding equipment.

CAUTION
TITANIUM COMPONENT - YOU MUST USE SILICON CARBIDE TYPE ABRASIVE WHEELS, STONES AND PAPERS TO DRESS, BLEND AND POLISH THIS COMPONENT.
CAUTION
TITANIUM COMPONENT - DO NOT USE FORCE WITH MECHANICAL CUTTERS OR THE MATERIAL WILL BECOME TOO HOT.
CAUTION
TITANIUM COMPONENT - IF THE MATERIAL SHOWS A CHANGE IN COLOR, TO DARKER THAN A LIGHT STRAW COLOR, THE COMPONENT IS TO BE REJECTED.
CAUTION
TITANIUM COMPONENT - MAXIMUM SPEED FOR MECHANICAL TOOLS MUST NOT EXCEED 1000 REVOLUTIONS PER MINUTE.
CAUTION
MAKE SURE THE LEADING EDGE PROFILE RADIUS IS POLISHED ALL ROUND THE NOSE. THE FINISHED PROFILE MUST GIVE A NOSE DOWN CONDITION FIG 72-00-31-990-082 (FIG 912).Re-profile the leading edge radii.
Use CoMat 05-021 WATERPROOF SILICON CARBIDE, CoMat 05-020 WATERPROOF SILICON CARBIDE, CoMat 05-019 WATERPROOF SILICON CARBIDE and/or CoMat 05-064 WATERPROOF SILICON CARBIDE.
Make sure all the damage marks are completely removed and the area is made smooth into the adjacent material.
Polish repaired area(s), to remove scratches and to give a surface finish the same as the adjacent material.
NOTE
Although erosion can be removed by full edge material removal, erosion will be more evident on the top half of the LP Compressor Rotor Blade.Make smooth and polish the repaired area(s).
Do Step.
NOTE
The last polish is to be in a radial direction.Remove the stopping-off compound or masking tape.
SUBTASK 72-00-31-350-056-C00 Remove Erosion from the LP Compressor Rotor Blade Assembly, Assembly C
Refer to Figure.
The profiling of the leading edge must be done such that excess thickness is removed only from the suction surface of the airfoil and leading edge radii is recreated/blended smoothly into the original non-eroded blade profile.
Use IAE 3R19016 LE profile gage 1 off, IAE 3R19017 LE profile gage 1 off, IAE 3R19320 Template 1 off.
Only minimum amount of material removal is required to get a satisfactory leading edge profile.
If you use mechanical tools, do not exceed 1000 rpm.

CAUTION
TITANIUM COMPONENT - YOU MUST USE SILICON CARBIDE TYPE ABRASIVE WHEELS, STONES AND PAPERS TO DRESS, BLEND AND POLISH THIS COMPONENT.
CAUTION
TITANIUM COMPONENT - DO NOT USE FORCE WITH MECHANICAL CUTTERS OR THE MATERIAL WILL BECOME TOO HOT.
CAUTION
TITANIUM COMPONENT - IF THE MATERIAL SHOWS A CHANGE IN COLOR, TO DARKER THAN A LIGHT STRAW COLOR, THE COMPONENT IS TO BE REJECTED.
CAUTION
TITANIUM COMPONENT - MAXIMUM SPEED FOR MECHANICAL TOOLS MUST NOT EXCEED 1000 REVOLUTIONS PER MINUTE.
CAUTION
MAKE SURE THE LEADING EDGE PROFILE RADIUS IS POLISHED ALL ROUND THE NOSE. THE FINISHED PROFILE MUST GIVE A NOSE DOWN CONDITION FIG 72-00-31-990-082 (FIG 912).Re-profile the leading edge radii.
Use CoMat 05-021 WATERPROOF SILICON CARBIDE, CoMat 05-020 WATERPROOF SILICON CARBIDE, CoMat 05-019 WATERPROOF SILICON CARBIDE and/or CoMat 05-064 WATERPROOF SILICON CARBIDE.
Make sure all the damage marks are completely removed and the area is made smooth into the adjacent material.
Polish repaired area(s), to remove scratches and to give a surface finish the same as the adjacent material.
NOTE
Although erosion can be removed by full edge material removal, erosion will be more evident on the top half of the LP Compressor Rotor Blade.Make smooth and polish the repaired area(s).
Do Step.
NOTE
The last polish is to be in a radial direction.Remove the stopping-off compound or masking tape.
SUBTASK 72-00-31-350-056-D00 Remove Erosion from the LP Compressor Rotor Blade Assembly, Assembly D

CAUTION
IF CoMat 03-398 METAL SPRAYING STOPPING-OFFCOMPOUND IS USED, YOU MUST REMOVE THE STOPPING-OFF COMPOUND, WITH THE BLADES IN THE BOTTOM DEAD CENTER POSITION.Chemically clean the LP Compressor Rotor Blade Airfoil Surfaces.
Refer to TASK 70-11-03-300-503, SUBTASK 70-11-03-300-002 or SUBTASK 70-11-03-300-003.
Clean the blade.
SUBTASK 72-00-31-110-056 Chemically Clean
Refer to TASK 70-11-08-300-503, SUBTASK 70-11-08-300-001 and SUBTASK 70-11-08-300-002.
Use chemical cleaning equipment.
Swab etch the repaired area(s).
SUBTASK 72-00-31-110-057 Do a Swab Etch
Refer to TASK 70-23-05-230-501.
Use CoMat 06-022 FLUORESCENT PENETRANT (POST-EMULSIFIED ULTRA HIGH SENSITIVITY), with Fluorescent Penetrant Inspection Equipment.
Cracks are not permitted.
Do a local penetrant crack test on the blades.
SUBTASK 72-00-31-230-060 Examine the LP Compressor Rotor Blade Assembly for Cracks
Use IAE 3R19016 LE profile gage 1 off and/or IAE 3R19017 LE profile gage 1 off.
Make sure there is a good large radius, with any change in camber, to be in a nose down condition.
Visually examine the leading edge profile radius.
SUBTASK 72-00-31-220-069-A00 Examine the LP Compressor Rotor Blade Assembly, Assembly A
Use IAE 3R19016 LE profile gage 1 off and/or IAE 3R19017 LE profile gage 1 off.
Make sure there is a good large radius, with any change in camber, to be in a nose down condition.
Visually examine the leading edge profile radius.
SUBTASK 72-00-31-220-069-B00 Examine the LP Compressor Rotor Blade Assembly, Assembly B
Use IAE 3R19016 LE profile gage 1 off and/or IAE 3R19017 LE profile gage 1 off.
Make sure there is a good large radius, with any change in camber, to be in a nose down condition.
Visually examine the leading edge profile radius.
SUBTASK 72-00-31-220-069-C00 Examine the LP Compressor Rotor Blade Assembly, Assembly C
Use IAE 3R19016 LE profile gage 1 off and/or IAE 3R19017 LE profile gage 1 off.
Make sure there is a good large radius, with any change in camber, to be in a nose down condition.
Visually examine the leading edge profile radius.
SUBTASK 72-00-31-220-069-D00 Examine the LP Compressor Rotor Blade Assembly, Assembly D
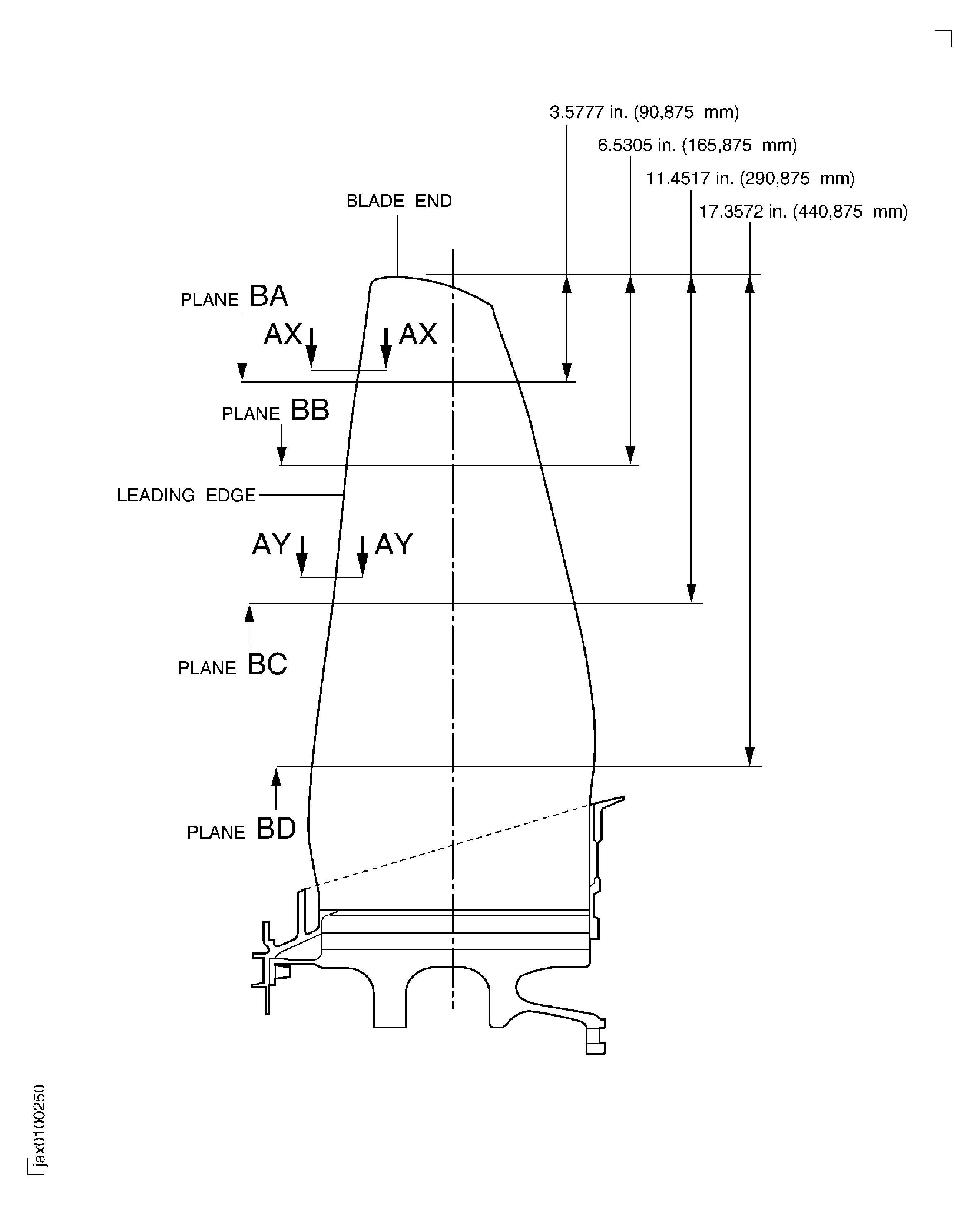
Figure: Repair details and dimensions, Assembly A and Assembly B
Repair details and dimensions, Assembly A and Assembly B

Figure: Repair details and dimensions, Assembly A and Assembly B
Repair details and dimensions, Assembly A and Assembly B

Figure: Repair details and dimensions, Assembly A and Assembly B
Repair details and dimensions, Assembly A and Assembly B

Figure: Repair details and dimensions, Assembly A and Assembly B
Repair details and dimensions, Assembly A and Assembly B

Figure: Repair details and dimensions, Assembly A and Assembly B
Repair details and dimensions, Assembly A and Assembly B

Figure: Repair details and dimensions, Assembly C and Assembly D
Repair details and dimensions, Assembly C and Assembly D

Figure: Repair details and dimensions, Assembly C and Assembly D
Repair details and dimensions, Assembly C and Assembly D

Figure: Repair details and dimensions, Assembly C
Repair details and dimensions, Assembly C

Figure: Repair details and dimensions, Assembly D
Repair details and dimensions, Assembly D

Figure: Repair details and dimensions, Assembly C and Assembly D
Repair details and dimensions, Assembly C and Assembly D

Figure: Repair details and dimensions, Assembly C and Assembly D
Repair details and dimensions, Assembly C and Assembly D

Figure: Repair details and dimensions
Repair details and dimensions

