Export Control
EAR Export Classification: Not subject to the EAR per 15 C.F.R. Chapter 1, Part 734.3(b)(3), except for the following Service Bulletins which are currently published as EAR Export Classification 9E991: SBE70-0992, SBE72-0483, SBE72-0580, SBE72-0588, SBE72-0640, SBE73-0209, SBE80-0024 and SBE80-0025.Copyright
© IAE International Aero Engines AG (2001, 2014 - 2021) The information contained in this document is the property of © IAE International Aero Engines AG and may not be copied or used for any purpose other than that for which it is supplied without the express written authority of © IAE International Aero Engines AG. (This does not preclude use by engine and aircraft operators for normal instructional, maintenance or overhaul purposes.).Applicability
All
Common Information
TASK 72-32-03-300-007 Fan Frame - Replace The Plate Nut, Repair-007 (VRS1184)
Effectivity
FIG/ITEM | PART NO. | |
|---|---|---|
03-100 | 5A0083 | Assembly A |
03-100 | 5A0256 | Assembly A |
03-100 | 5A0362 | Assembly A |
03-100 | 5A0363 | Assembly A |
03-100 | 5A0364 | Assembly A |
03-100 | 5A0366 | Assembly A |
03-100 | 5A0395 | Assembly A |
03-100 | 5A0397 | Assembly A |
03-100 | 5A0399 | Assembly A |
03-100 | 5A0401 | Assembly A |
03-100 | 5A0403 | Assembly A |
03-100 | 5A0405 | Assembly A |
03-100 | 5A0409 | Assembly A |
03-100 | 5A1062 | Assembly A |
03-100 | 5A1064 | Assembly A |
03-100 | 5A1066 | Assembly A |
03-100 | 5A1068 | Assembly A |
03-100 | 5A6592 | Assembly A |
03-100 | 5A0349 | Assembly B |
03-100 | 5A0365 | Assembly B |
03-100 | 5A0407 | Assembly B |
03-100 | 5A6596 | Assembly B |
03-100 | 5A0856 | Assembly B |
03-100 | 5A1047 | Assembly B |
03-100 | 5A1049 | Assembly B |
03-100 | 5A1167 | Assembly B |
03-100 | 5A1087 | Assembly B |
03-100 | 5A1448 | Assembly B |
03-100 | 5A1652 | Assembly B |
03-100 | 5A0423 | Assembly B |
03-100 | 5A1377 | Assembly B |
03-100 | 5A1424 | Assembly B |
03-100 | 5A1654 | Assembly B |
03-100 | 5A0359 | Assembly A |
03-100 | 5A1070 | Assembly A |
03-100 | 5A1072 | Assembly A |
03-100 | 5A1074 | Assembly A |
03-100 | 5A1763 | Assembly A |
03-100 | 5A1764 | Assembly A |
03-100 | 5A1769 | Assembly A |
03-100 | 5A1770 | Assembly A |
03-100 | 5A1771 | Assembly A |
03-100 | 5A1772 | Assembly A |
03-100 | 5A1775 | Assembly A |
03-100 | 5A1776 | Assembly A |
03-100 | 5A1777 | Assembly A |
03-100 | 5A1778 | Assembly A |
03-100 | 5A1781 | Assembly A |
03-100 | 5A1782 | Assembly A |
03-100 | 5A1783 | Assembly A |
03-100 | 5A1784 | Assembly A |
03-100 | 5A1785 | Assembly A |
03-100 | 5A1786 | Assembly A |
03-100 | 5A1787 | Assembly A |
03-100 | 5A1788 | Assembly A |
03-100 | 5A1789 | Assembly A |
03-100 | 5A1790 | Assembly A |
03-100 | 5A1791 | Assembly A |
03-100 | 5A1792 | Assembly A |
03-100 | 5A1765 | Assembly B |
03-100 | 5A1766 | Assembly B |
03-100 | 5A1767 | Assembly B |
03-100 | 5A1768 | Assembly B |
03-100 | 5A1773 | Assembly B |
03-100 | 5A1774 | Assembly B |
03-100 | 5A1779 | Assembly B |
03-100 | 5A1780 | Assembly B |
03-100 | 5A1828 | Assembly B |
03-100 | 5A1824 | Assembly B |
General
Price and availability - none
NOTE
NOTE
Preliminary Requirements
Pre-Conditions
NONESupport Equipment
| Name | Manufacturer | Part Number / Identification | Quantity | Remark |
|---|---|---|---|---|
| Drilling machine | LOCAL | Drilling machine | ||
| Power riveter (G702) | LOCAL | Power riveter (G702) | ||
| Pulling head (H702-3NPR) | LOCAL | Pulling head (H702-3NPR) | ||
| Power riveter (G784) | LOCAL | Power riveter (G784) | ||
| Pulling head (H681-3C) | LOCAL | Pulling head (H681-3C) | ||
| pulling head (H681-4C) | LOCAL | pulling head (H681-4C) | ||
| Pulling head (H9055-4) | LOCAL | Pulling head (H9055-4) |
Consumables, Materials and Expendables
| Name | Manufacturer | Part Number / Identification | Quantity | Remark |
|---|---|---|---|---|
| CoMat 06-064 FLUORESCENT PENETRANT (WATER WASHABLE MEDIUM SENSITIVITY) | LOCAL | CoMat 06-064 |
Spares
| Name | Manufacturer | Part Number / Identification | Quantity | Remark |
|---|---|---|---|---|
| Plate nut | 4W0039 | AR | (Assembly A only) | |
| Rivet | CCR264CS3-3 | AR | (Assembly A only) | |
| Rivet | CR2662-4-5 | AR | ||
| Rivet | CR2562M4-05 | AR | ||
| Rivet | CR2572-4-05 | AR | ||
| Plate nut | F1968C5 | AR | ||
| Plate nut | NAS1473C5 | AR |
Safety Requirements
NONEProcedure
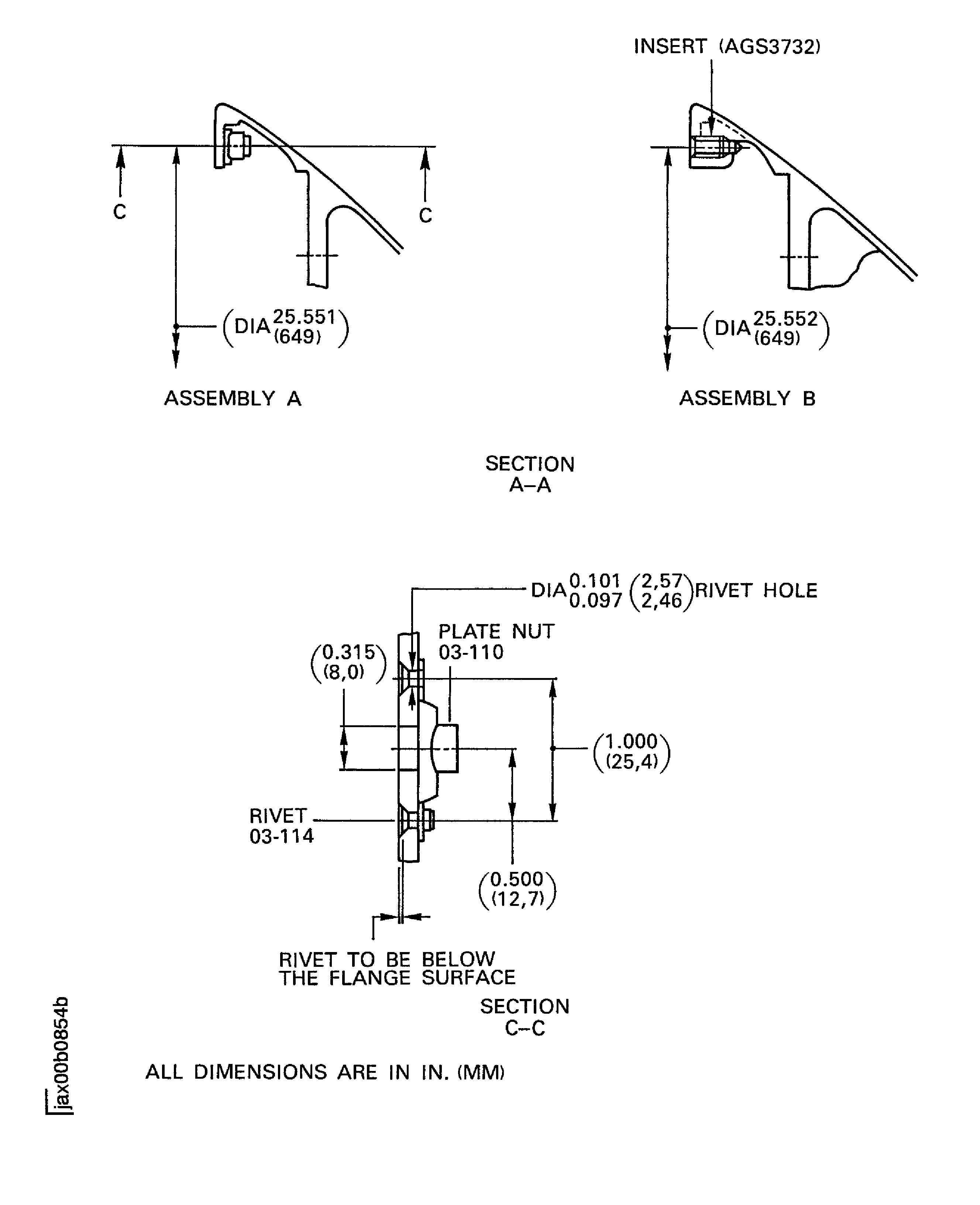
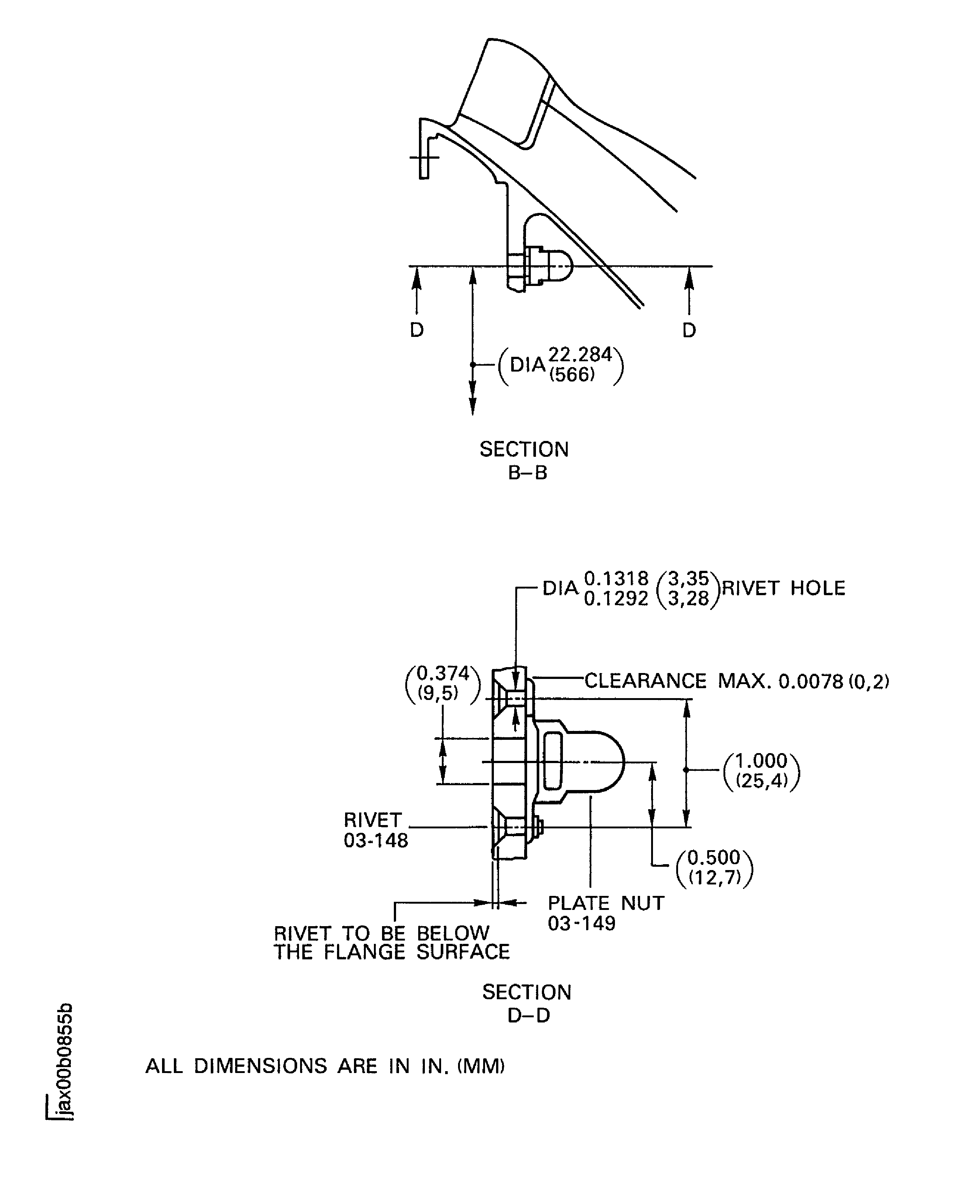
Use Drilling machine.
Center punch rivet head to spot drilling.
Drill through the head of rivet.
Use drill as follows,
A drill of 0.086 in. (2.2 mm) diameter for Fig/item 03-114, Part No.CCR264CS3-3.
A drill of 0.118 in. (3.0 mm) diameter for Fig/item 03-148, Part No.CR2662-4-5, CR2562M4-05 or CR2572-4-05.
Drive out rivet bodies using a small hammer and punch.
Remove the plate nuts.
Refer to the SPM TASK 70-35-03-300-501.
Remove sharp edge around the rivet hole.
SUBTASK 72-32-03-350-064 Remove the Damaged Plate Nuts of the Fan Frame Assembly
Refer to Figure.
SUBTASK 72-32-03-220-092 Examine the Rivet Hole of the Fan Frame Assembly
Figure: Replace the plate nut of the fan frame assembly
Replace the plate nut of the fan frame assembly

Figure: Replace the plate nut of the fan frame assembly
Replace the plate nut of the fan frame assembly

Figure: Replace the plate nut of the fan frame assembly
Replace the plate nut of the fan frame assembly

