Export Control
EAR Export Classification: Not subject to the EAR per 15 C.F.R. Chapter 1, Part 734.3(b)(3), except for the following Service Bulletins which are currently published as EAR Export Classification 9E991: SBE70-0992, SBE72-0483, SBE72-0580, SBE72-0588, SBE72-0640, SBE73-0209, SBE80-0024 and SBE80-0025.Copyright
© IAE International Aero Engines AG (2001, 2014 - 2021) The information contained in this document is the property of © IAE International Aero Engines AG and may not be copied or used for any purpose other than that for which it is supplied without the express written authority of © IAE International Aero Engines AG. (This does not preclude use by engine and aircraft operators for normal instructional, maintenance or overhaul purposes.).Applicability
All
Common Information
TASK 72-32-37-300-002 Fan Speed/Trim Balance Probes Electrical Harness - Replace The Terminals, Repair-002 (VRS1261)
General
Price and availability - none.
Preliminary Requirements
Pre-Conditions
NONESupport Equipment
| Name | Manufacturer | Part Number / Identification | Quantity | Remark |
|---|---|---|---|---|
| Thermo stripper | LOCAL | Thermo stripper | ||
| Crimping tool | LOCAL | Crimping tool | ||
| Force gage | LOCAL | Force gage | ||
| Hot air gun | LOCAL | Hot air gun |
Consumables, Materials and Expendables
NONESpares
NONESafety Requirements
NONEProcedure
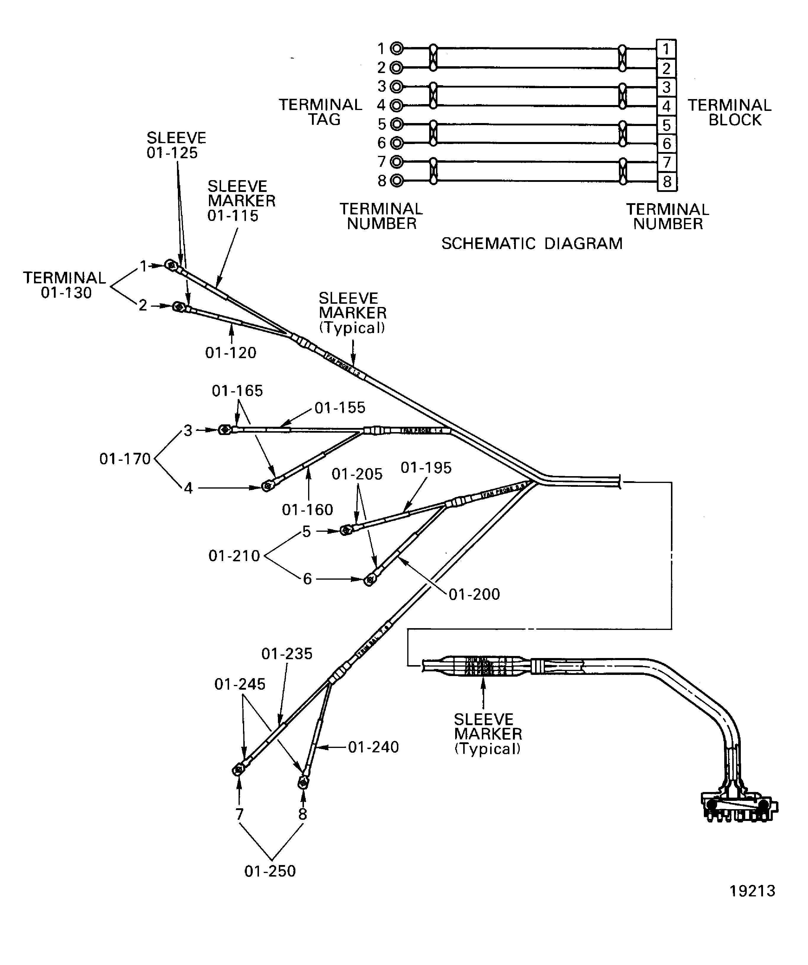
Examine and identify the damaged terminals.
Remove the damaged terminals. Move the sleeve marker carefully, if the distance between the sleeve on the terminal and the sleeve marker can not be kept within 0.95 in. to 1.02 in. (24 mm to 26 mm).
SUBTASK 72-32-37-350-058 Remove the Terminals from the NF Electrical Harness
Use a Thermo stripper.
NOTE
Care must be taken to ensure that the wires are not damaged, because this will cause early failure.
Remove the insulations from the end as specified.
Put the terminal insulation sleeves over the cable.
Use Crimping tool.
Put the wire into the terminal barrel ensuring a good contact, then crimp with crimping tool.
Apply load 17 N to 25 N (3.8 lbf to 4.7 lbf).
Use a Force gage.

CAUTION
DO NOT APPLY A LOAD ON THE Y-SHAPED PORTION.Do the crimped joint pull check (cable size (A.W.G) 20).
Attach the terminal insulation sleeve over the terminal barrel.
Use a Hot air gun.

CAUTION
DO NOT APPLY HOT AIR FOR MORE THAN 50 SECONDS.Heat-shrink the sleeve with a hot air gun, at air temperature of 770 deg F to 860 deg F (410 deg C to 460 deg C) after five minutes warm up period. Apply heat until the sleeve becomes transparent, continue heating for a further 10 to 15 seconds to ensure that the inner sleeve has fully heated and a plastic state is got. As soon as you have the above condition, stop hot air.
SUBTASK 72-32-37-350-059 Install Terminals to the NF Electrical Harness
Refer to TASK 72-32-37-700-301 (TESTING-001).
Do the test for continuity and insulation resistance.
SUBTASK 72-32-37-750-056 Do the Test for Continuity and Insulation Resistance
Figure: Replace the Terminals
Replace the Terminals

Figure: Basic Dimensions - Sleeve Markers
Basic Dimensions - Sleeve Markers

Figure: Replace the Terminals
Replace the Terminals

Figure: Basic Dimensions - Nf Electrical Harness
Basic Dimensions - Nf Electrical Harness

Basic Dimensions - Nf Electrical Harness

