Export Control
EAR Export Classification: Not subject to the EAR per 15 C.F.R. Chapter 1, Part 734.3(b)(3), except for the following Service Bulletins which are currently published as EAR Export Classification 9E991: SBE70-0992, SBE72-0483, SBE72-0580, SBE72-0588, SBE72-0640, SBE73-0209, SBE80-0024 and SBE80-0025.Copyright
© IAE International Aero Engines AG (2001, 2014 - 2021) The information contained in this document is the property of © IAE International Aero Engines AG and may not be copied or used for any purpose other than that for which it is supplied without the express written authority of © IAE International Aero Engines AG. (This does not preclude use by engine and aircraft operators for normal instructional, maintenance or overhaul purposes.).Applicability
All
Common Information
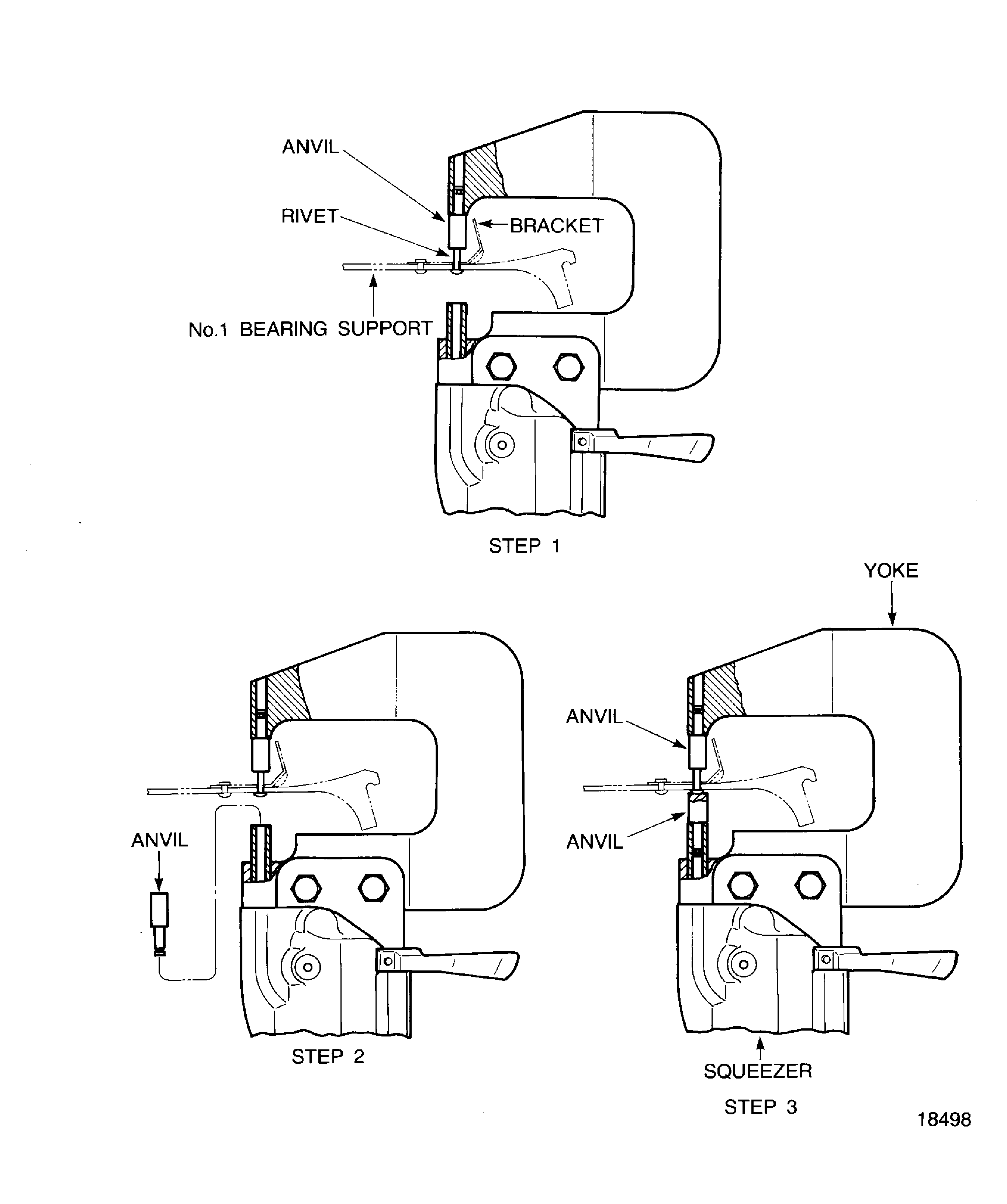
TASK 72-32-41-300-015 No. 1 Bearing Rear Support - Replace The Bracket, Repair-015 (VRS1967)
Material of component
PART IDENT | SYMBOL | MATERIAL |
|---|---|---|
No. 1 bearing rear support assembly | 2.3A1-1.5Mg-1.1Ni-1.1Fe aluminum | |
Bracket | 18Cr-10.5Ni-2Mn-1Si-0.08C-0.4Ti steel |
General
Price and availability - none
The practices and processes referred to in the procedure by the TASK numbers are in the SPP.
For the method to clean the parts, refer to TASK 72-32-41-100-000 (CLEANING-000).
NOTE
Preliminary Requirements
Pre-Conditions
NONESupport Equipment
| Name | Manufacturer | Part Number / Identification | Quantity | Remark |
|---|---|---|---|---|
| Drill | LOCAL | Drill | 0.116 in. (2.95 mm) | |
| Mallet | LOCAL | Mallet | ||
| Punch | LOCAL | Punch | ||
| Drilling machine | LOCAL | Drilling machine | ||
| IAE 3J13511 Squeezer, riveting | 0AM53 | IAE 3J13511 | 1 | |
| IAE 3J13512 Riveting yoke | 0AM53 | IAE 3J13512 | 1 |
Consumables, Materials and Expendables
NONESpares
| Name | Manufacturer | Part Number / Identification | Quantity | Remark |
|---|---|---|---|---|
| Bracket | 5W2327 | 1 | ||
| Rivet | NAS1198-4-8 | 2 |
Safety Requirements
NONEProcedure
Refer to Figure.
Refer to the SPM TASK 70-21-01-220-501.
Visually examine the rivet holes.
SUBTASK 72-32-41-350-005 Remove Damaged Bracket
Refer to Figure.
Use IAE 3J13511 Squeezer, riveting 1 off and IAE 3J13512 Riveting yoke 1 off.
Install and make a head on one rivet.
Use IAE 3J13511 Squeezer, riveting 1 off and IAE 3J13512 Riveting yoke 1 off.
NOTE
Make sure that bracket is installed satisfactorily.
Install and make a head on the remaining rivet.
Refer to the SPM TASK 70-21-01-220-501.
Visually examine rivets for cracks and damage.
SUBTASK 72-32-41-350-006 Install New Bracket
Figure: Replacement of the bracket of the No. 1 bearing rear support assembly
Replacement of the bracket of the No. 1 bearing rear support assembly

Figure: Replacement of the bracket of the No. 1 bearing rear support assembly
Replacement of the bracket of the No. 1 bearing rear support assembly

