Export Control
EAR Export Classification: Not subject to the EAR per 15 C.F.R. Chapter 1, Part 734.3(b)(3), except for the following Service Bulletins which are currently published as EAR Export Classification 9E991: SBE70-0992, SBE72-0483, SBE72-0580, SBE72-0588, SBE72-0640, SBE73-0209, SBE80-0024 and SBE80-0025.Copyright
© IAE International Aero Engines AG (2001, 2014 - 2021) The information contained in this document is the property of © IAE International Aero Engines AG and may not be copied or used for any purpose other than that for which it is supplied without the express written authority of © IAE International Aero Engines AG. (This does not preclude use by engine and aircraft operators for normal instructional, maintenance or overhaul purposes.).Applicability
All
Common Information
TASK 72-32-71-300-007 LPC Bleed Valve Support Ring - Replace The Support, Repair-007 (VRS1331)
General
Price and availability - none
The practices and processes referred to in the procedure by the TASK number are in the SPM.
NOTE
NOTE
Preliminary Requirements
Pre-Conditions
NONESupport Equipment
| Name | Manufacturer | Part Number / Identification | Quantity | Remark |
|---|---|---|---|---|
| Horizontal boring mill | LOCAL | Horizontal boring mill | ||
| Rivet Squeezer | LOCAL | Rivet Squeezer | ||
| IAE 3J12748 Fixture, riveting | 0AM53 | IAE 3J12748 | 1 | |
| IAE 3J12747 Assembly fixture | 0AM53 | IAE 3J12747 | 1 | |
| IAE 3J12782 Gage, clearance | 0AM53 | IAE 3J12782 | 1 | |
| IAE 3J12784 Fixture, locating | 0AM53 | IAE 3J12784 | 1 |
Consumables, Materials and Expendables
| Name | Manufacturer | Part Number / Identification | Quantity | Remark |
|---|---|---|---|---|
| CoMat 01-275 CHROMATE CONVERSION COATING FOR ALUMINIUM | LOCAL | CoMat 01-275 |
Spares
| Name | Manufacturer | Part Number / Identification | Quantity | Remark |
|---|---|---|---|---|
| Support | 5A3707 | 25 | ||
| Solid universal HD rivet | AS16135 | 100 | ||
| Support | 5A3707 | 2 | ||
| Solid universal HD rivet | AS16135 | 4 | ||
| Solid CSK head rivet | AS16535 | 4 | ||
| Support, mid | 5A1387 | 27 | ||
| Rivet, solid universal HD rivet | AS16135 | 108 |
Safety Requirements
NONEProcedure
Use Horizontal boring mill machine.
Use IAE 3J12747 Assembly fixture 1 off.
Use drill 0.1406 in (3.57 mm).
Set up the support ring assembly and fixture on the machine.
SUBTASK 72-32-71-350-057 Remove the Damaged Support from the Support Ring Assembly
Use Horizontal boring mill machine.
Use IAE 3J12747 Assembly fixture 1 off.
Use drill 0.1406 in. (3.57 mm).
Set up the support ring assembly and fixture on the machine.
SUBTASK 72-32-71-350-074 Remove the Damage Mid Support from the Support Ring assembly, Assembly B
Refer to the SPM TASK 70-38-02-300-503.
Apply chromate conversion coating to the repaired surfaces, if necessary.
SUBTASK 72-32-71-380-054 Apply the Surface Protection to the Support Ring Assembly
Use IAE 3J12747 Assembly fixture 1 off.
Set up the fixture on a work bench.
Use IAE 3J12747 Assembly fixture 1 off.
Install the new support and support ring on to the fixture.
Use IAE 3J12748 Fixture, riveting 1 off.
Use Rivet Squeezer.
Using a continuous squeezing action, make the rivet.
SUBTASK 72-32-71-350-058 Install the New Support to the Support Ring Assembly
Use IAE 3J12747 Assembly fixture 1 off.
Set up fixture on a work bench.
Use IAE 3J12784 Fixture, locating 1 off.
Put the new mid support to the support ring and then use the fixture through the pin hole of both support and mid support.
Use Rivet Squeezer.
Use IAE 3J12748 Fixture, riveting 1 off.
Using a continuous squeezing action, make the rivets.
SUBTASK 72-32-71-350-075 Install the New Mid Support to the Supprot Ring Assembly, Assembly B
Refer to Figure.
Use IAE 3J12782 Gage, clearance 1 off.
Dimensionally inspect the clearances between the replaced mid support and the support on the support ring assembly.
SUBTASK 72-32-71-220-138 Examine the Mid Support of the Support Ring Assembly, Aseembly B
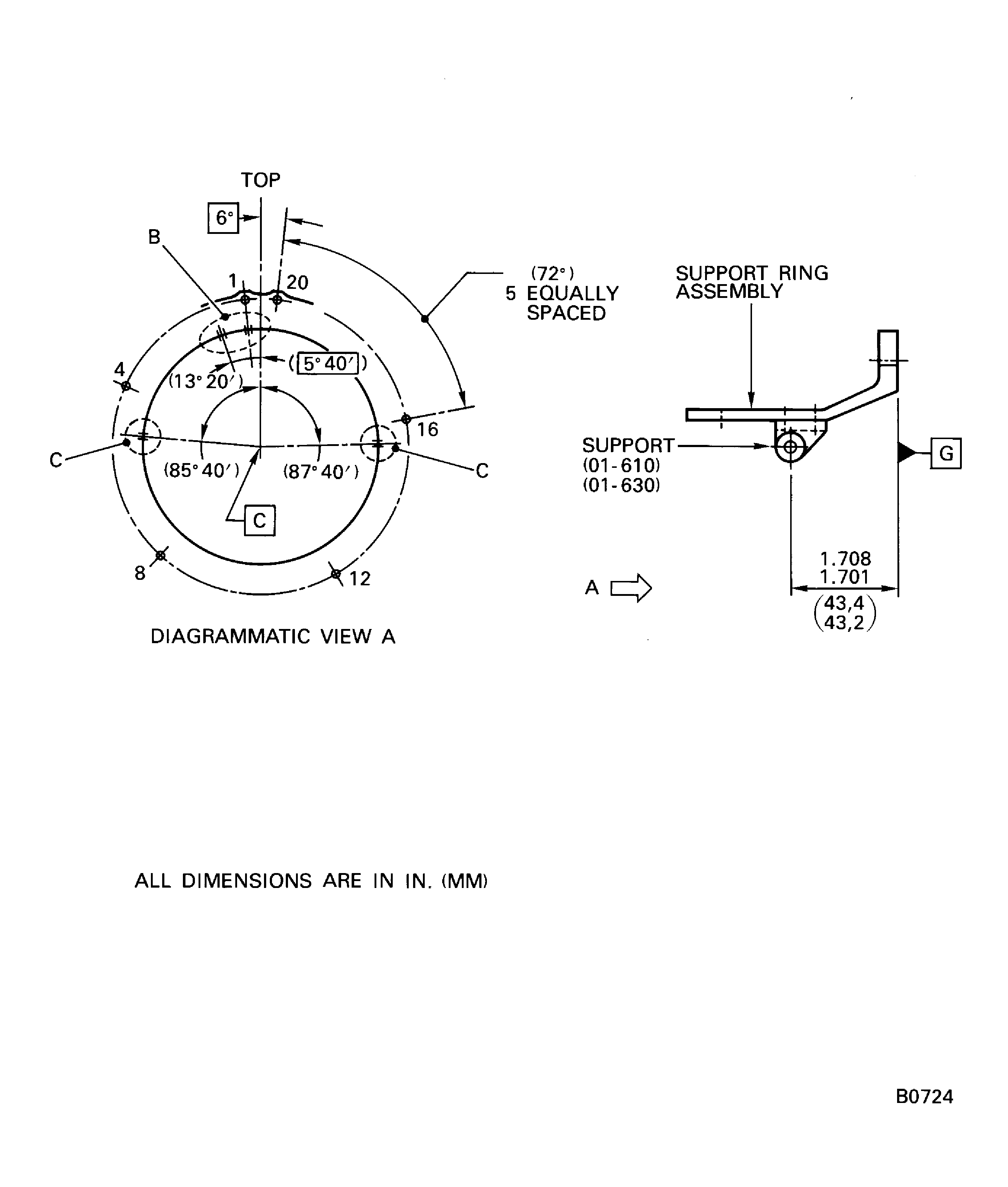
Figure: Replace the support of the support ring assembly - Assembly A and Assembly B
Replace the support of the support ring assembly - Assembly A and Assembly B

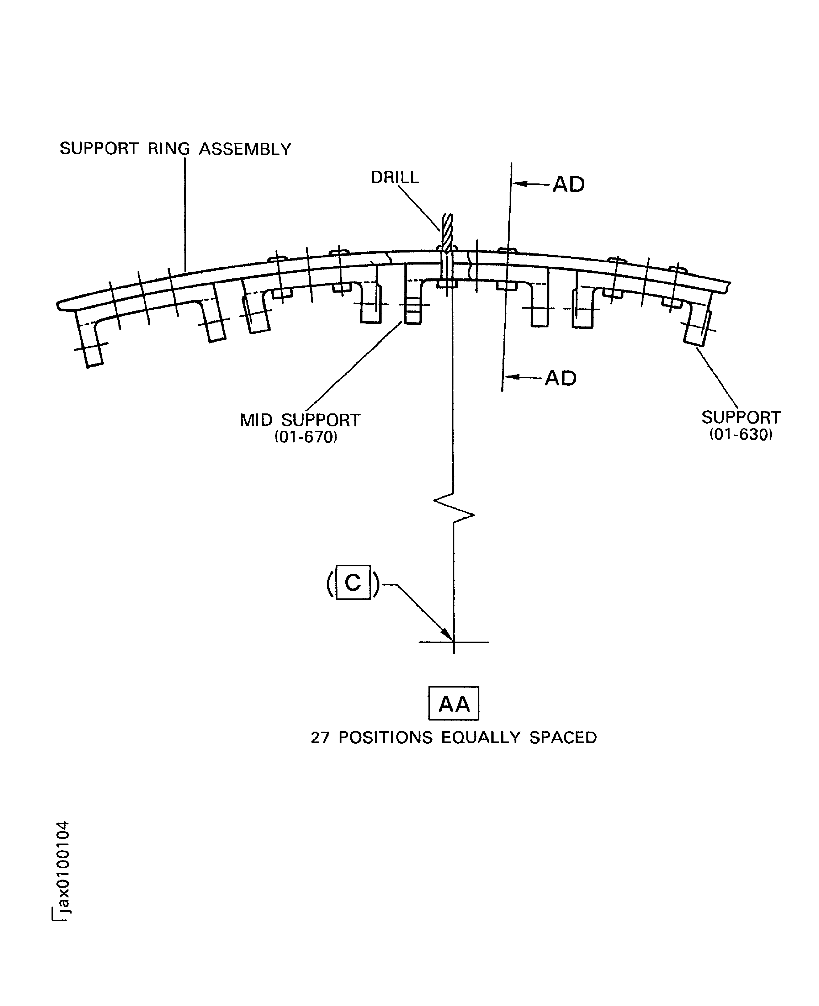
Figure: Replace the support of the support ring assembly - Assembly A and Assembly B
Replace the support of the support ring assembly - Assembly A and Assembly B

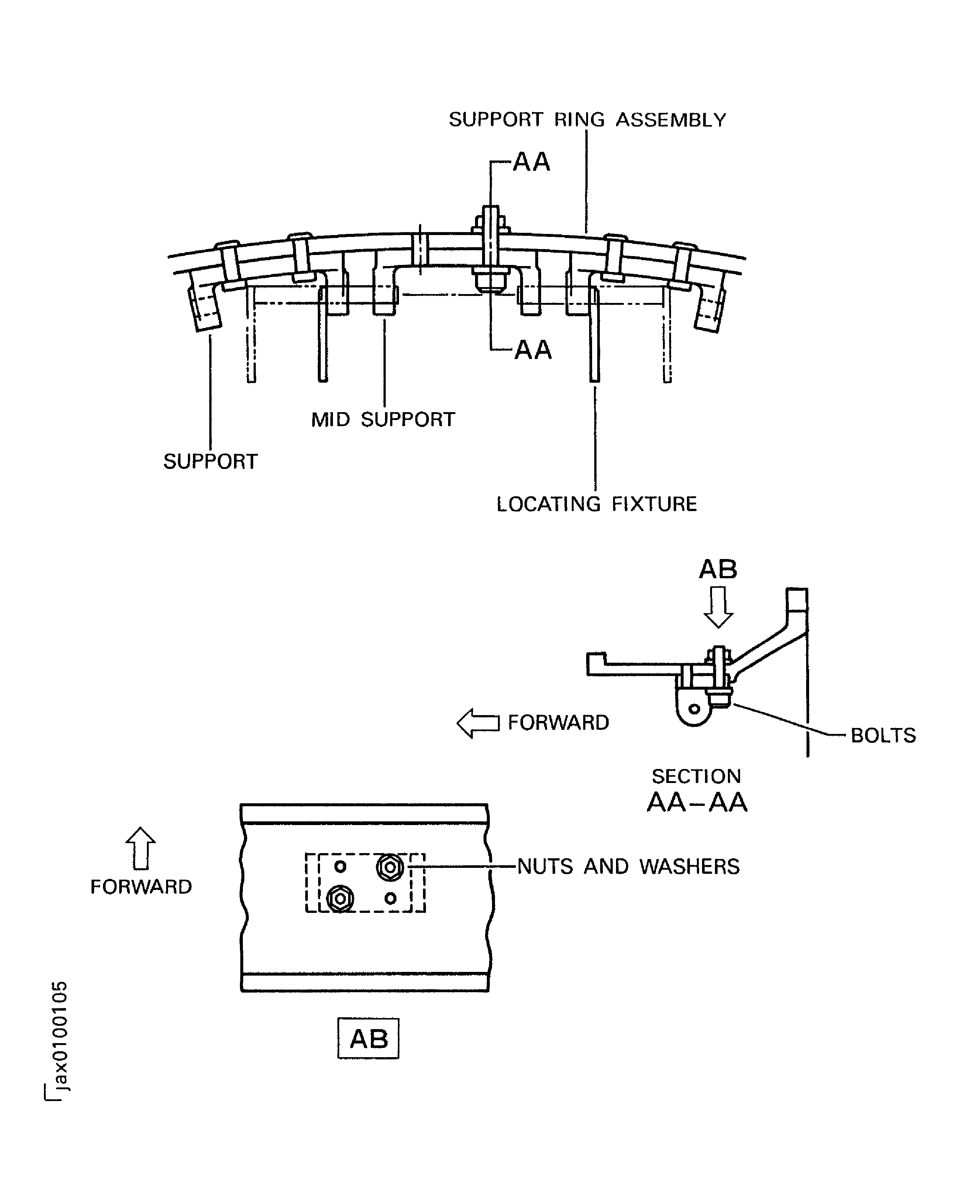
Figure: Replace the support of the support ring assembly - Assembly A and Assembly B
Replace the support of the support ring assembly - Assembly A and Assembly B

Figure: Replace the support of the support ring assembly - Assembly A and Assembly B
Replace the support of the support ring assembly - Assembly A and Assembly B

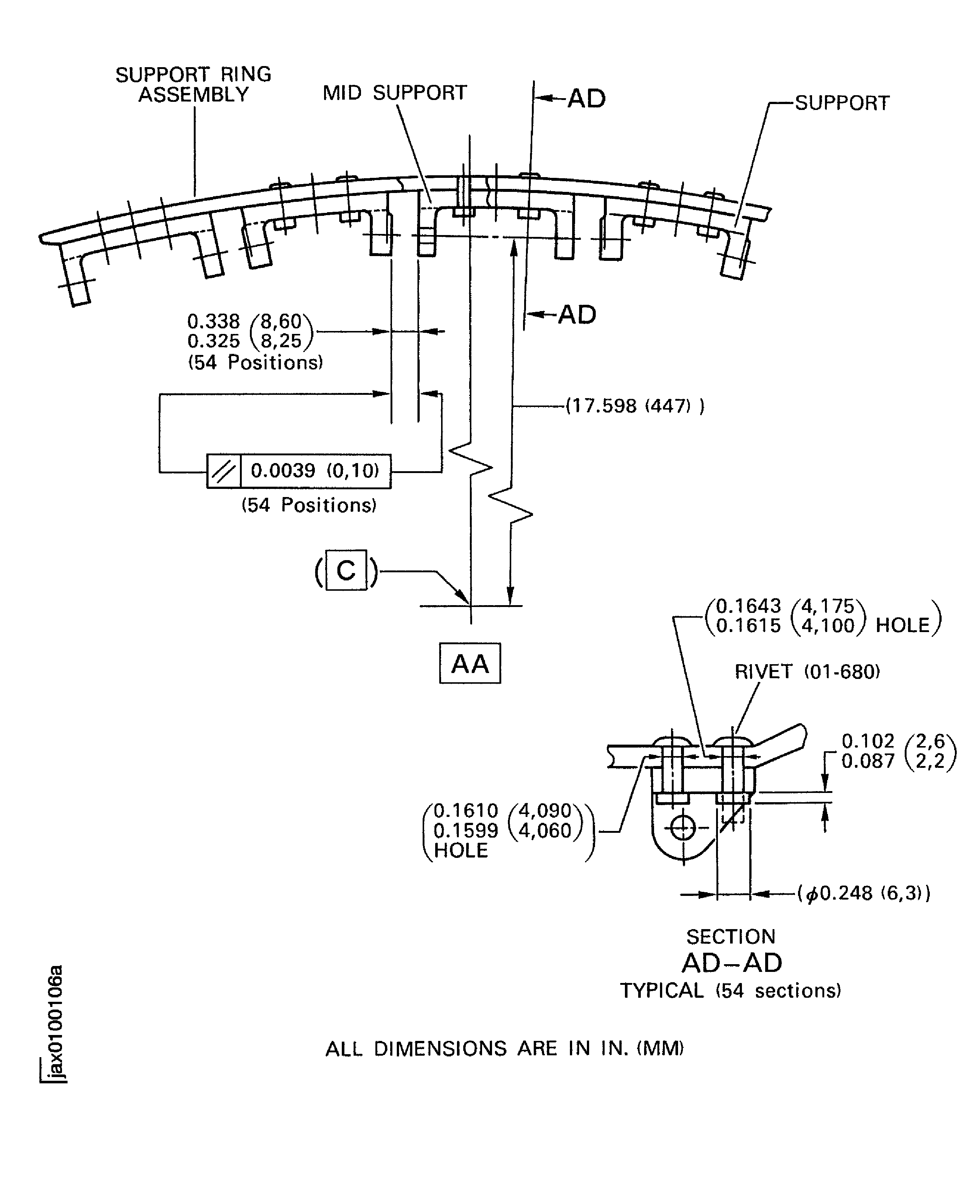
Figure: Replace the mid support of the support ring assembly - Assembly B
Replace the mid support of the support ring assembly - Assembly B

Figure: Replace the mid support of the support ring assembly - Assembly B
Replace the mid support of the support ring assembly - Assembly B

Figure: Replace the mid support of the support ring assembly - Assembly B
Replace the mid support of the support ring assembly - Assembly B

Figure: Replace the mid support of the support ring assembly - Assembly B
Replace the mid support of the support ring assembly - Assembly B

