Export Control
EAR Export Classification: Not subject to the EAR per 15 C.F.R. Chapter 1, Part 734.3(b)(3), except for the following Service Bulletins which are currently published as EAR Export Classification 9E991: SBE70-0992, SBE72-0483, SBE72-0580, SBE72-0588, SBE72-0640, SBE73-0209, SBE80-0024 and SBE80-0025.Copyright
© IAE International Aero Engines AG (2001, 2014 - 2021) The information contained in this document is the property of © IAE International Aero Engines AG and may not be copied or used for any purpose other than that for which it is supplied without the express written authority of © IAE International Aero Engines AG. (This does not preclude use by engine and aircraft operators for normal instructional, maintenance or overhaul purposes.).Applicability
All
Common Information
TASK 72-32-71-300-002 LPC Bleed Valve Link Arms - Replace The Spherical Bearing, Repair-002 (VRS1319)
General
Price and availability - not applicable
The practices and processes referred to in the procedure by the TASK numbers are in the SPM.
NOTE
Preliminary Requirements
Pre-Conditions
NONESupport Equipment
| Name | Manufacturer | Part Number / Identification | Quantity | Remark |
|---|---|---|---|---|
| Fluorescent Penetrant Inspection Equipment | LOCAL | Fluorescent penetrant inspection equipment | ||
| Arbor Press | LOCAL | Arbor press | ||
| IAE 3J12745 Swaging tool | 0AM53 | IAE 3J12745 | 1 |
Consumables, Materials and Expendables
| Name | Manufacturer | Part Number / Identification | Quantity | Remark |
|---|---|---|---|---|
| CoMat 01-275 CHROMATE CONVERSION COATING FOR ALUMINIUM | LOCAL | CoMat 01-275 | ||
| CoMat 02-099 LINT-FREE CLOTH | LOCAL | CoMat 02-099 | ||
| CoMat 05-020 WATERPROOF SILICON CARBIDE | LOCAL | CoMat 05-020 | ||
| CoMat 05-021 WATERPROOF SILICON CARBIDE | 44197 | CoMat 05-021 |
Spares
| Name | Manufacturer | Part Number / Identification | Quantity | Remark |
|---|---|---|---|---|
| Bearing, spherical | 5A3653 | 1 | ||
| Bearing, spherical | 5A3653 | 1 |
Safety Requirements
NONEProcedure
Refer to Figure.
Inspect and identify defective spherical bearing.
Use an Arbor Press and IAE 3J12745 Swaging tool 1 off.
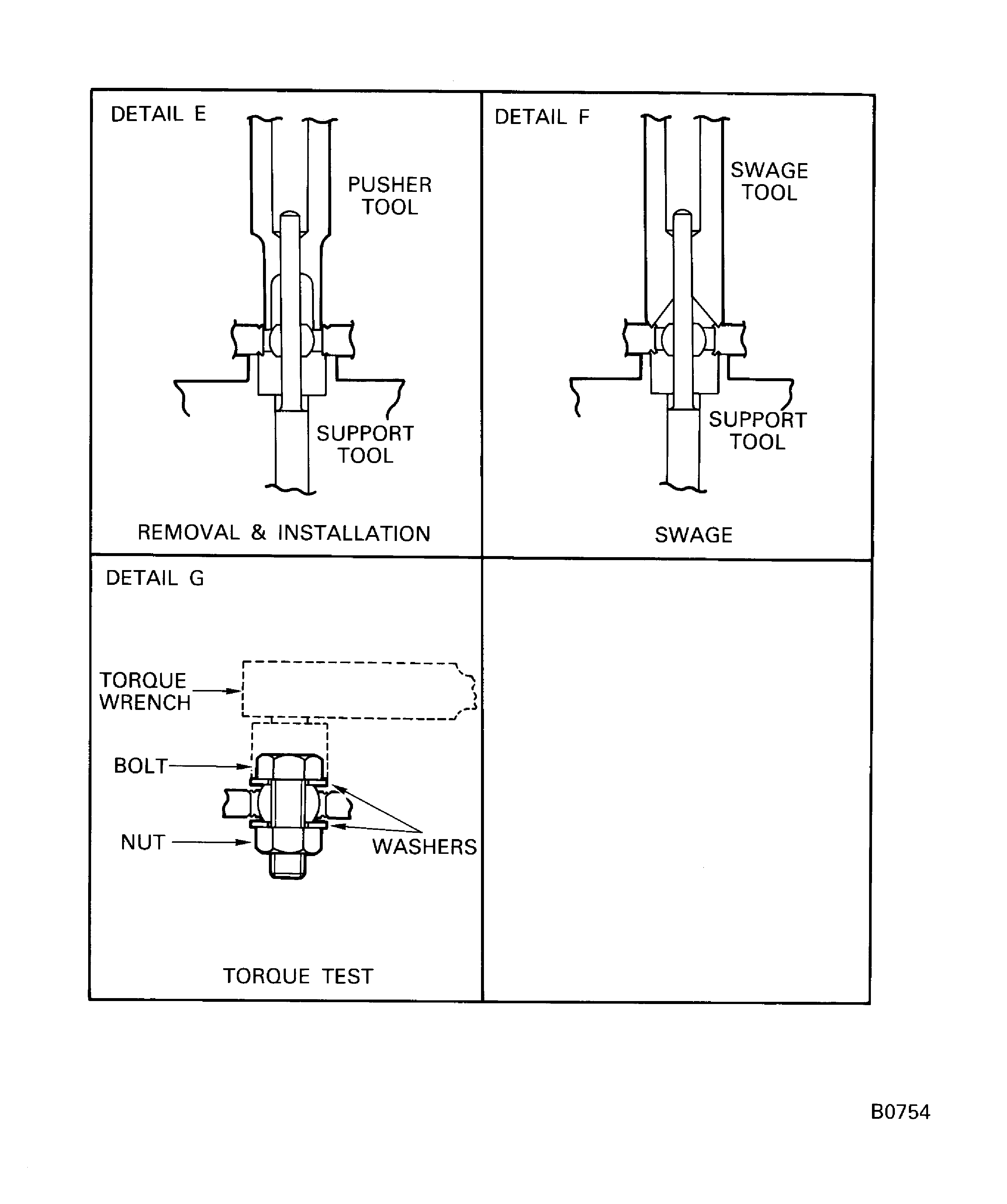
Refer to Figure DETAIL E.
Press out defective spherical bearing.
Refer to the SPM TASK 70-35-03-300-501.
Check damage in bore.
SUBTASK 72-32-71-350-059 Remove the Defective Spherical Bearing from the Link Arm Assembly
Refer to the SPM TASK 70-23-05-230-501.
Fluorescent penetrant examine the spherical bearing hole.
SUBTASK 72-32-71-230-062 Examine the Link Arm Assembly for Cracks
Refer to Figure.
Dimensionally inspect the hole of the link arm.
SUBTASK 72-32-71-220-088 Inspect the Link Arm Assembly
Use clean dry air blast or CoMat 02-099 LINT-FREE CLOTH.
Clean the new spherical bearing and the hole of the link arm.
Position bearing race slightly below the surface of arm.
Use an Arbor Press and IAE 3J12745 Swaging tool 1 off.
Install the bearing.
Apply swaging force to the 45 degrees circumferential position from the existing swage point up to the depth of the swage.
Invert the arm and re-apply swaging force.
Use an Arbor Press and IAE 3J12745 Swaging tool removal and install pusher 1 off.
Swage the arm to fix the bearing.
Refer to Figure DETAIL G.
Inspect the ball for free movement in the race.
SUBTASK 72-32-71-350-060 Install the New Spherical Bearing
Refer to Figure.
Race of bearing must be located just below the arm face.
Visually examine the spherical bearing seating.
SUBTASK 72-32-71-220-089 Examine the Spherical Bearing Seating
Refer to the SPM TASK 70-38-02-300-503.
Apply the chromate conversion coating to the swaged area.
SUBTASK 72-32-71-380-055 Apply Surface Protection to the Link Arm Assembly
Figure: Replacement of the spherical bearing
Replacement of the spherical bearing

Figure: Replacement of the spherical bearing
Replacement of the spherical bearing

