Export Control
EAR Export Classification: Not subject to the EAR per 15 C.F.R. Chapter 1, Part 734.3(b)(3), except for the following Service Bulletins which are currently published as EAR Export Classification 9E991: SBE70-0992, SBE72-0483, SBE72-0580, SBE72-0588, SBE72-0640, SBE73-0209, SBE80-0024 and SBE80-0025.Copyright
© IAE International Aero Engines AG (2001, 2014 - 2021) The information contained in this document is the property of © IAE International Aero Engines AG and may not be copied or used for any purpose other than that for which it is supplied without the express written authority of © IAE International Aero Engines AG. (This does not preclude use by engine and aircraft operators for normal instructional, maintenance or overhaul purposes.).Applicability
All
Common Information
TASK 72-32-85-300-012 Fan Case - Replace The Anchor Nut, Repair-012 (VRS1418)
Effectivity
FIG/ITEM | PART NO. |
|---|---|
01-100 | 5W0069 |
01-100 | 5W0072 |
01-100 | 5W0081 |
01-100 | 5W0093 |
01-100 | 5W0094 |
01-100 | 5W0100 |
01-100 | 5W0124 |
01-100 | 5W0144 |
01-100 | 5W0149 |
01-100 | 5W0154 |
01-100 | 5W0168 |
01-100 | 5W0169 |
01-100 | 5W0171 |
01-100 | 5W0172 |
01-100 | 5W0184 |
01-100 | 5W0186 |
01-100 | 5W0187 |
01-100 | 5W0188 |
01-100 | 5W0189 |
01-100 | 5W0190 |
01-100 | 5W0191 |
01-100 | 5W0192 |
01-100 | 5W0193 |
01-100 | 5W0194 |
01-100 | 5W0195 |
01-100 | 5W0196 |
01-100 | 5W0197 |
01-100 | 5W0198 |
01-100 | 5W0199 |
01-100 | 5W0200 |
01-100 | 5W0201 |
01-100 | 5W0202 |
01-100 | 5W0203 |
01-100 | 5W0204 |
01-100 | 5W0205 |
01-100 | 5W0206 |
01-100 | 5W0207 |
01-100 | 5W0208 |
01-100 | 5W0209 |
01-100 | 5W0210 |
01-100 | 5W0211 |
01-100 | 5W0212 |
01-100 | 5W0213 |
01-100 | 5W0214 |
01-100 | 5W0215 |
01-100 | 5W0216 |
01-100 | 5W0217 |
01-100 | 5W0218 |
01-100 | 5W0219 |
01-100 | 5W0220 |
01-100 | 5W0221 |
01-100 | 5W0222 |
01-100 | 5W0223 |
01-100 | 5W0224 |
01-100 | 5W0225 |
01-100 | 5W0226 |
01-100 | 5W0306 |
01-100 | 5W0307 |
01-100 | 5W0313 |
General
Price and availability - none
NOTE
Preliminary Requirements
Pre-Conditions
NONESupport Equipment
| Name | Manufacturer | Part Number / Identification | Quantity | Remark |
|---|---|---|---|---|
| Electric hand drill | LOCAL | Electric hand drill | ||
| Power riveter (G784) | LOCAL | Power riveter (G784) | ||
| Adapter | LOCAL | 680B046 | ||
| Pulling head (H681-3U) | LOCAL | Pulling head (H681-3U) | ||
| Pulling head (H9055-3) | LOCAL | Pulling head (H9055-3) |
Consumables, Materials and Expendables
| Name | Manufacturer | Part Number / Identification | Quantity | Remark |
|---|---|---|---|---|
| CoMat 05-020 WATERPROOF SILICON CARBIDE | LOCAL | CoMat 05-020 | ||
| CoMat 05-021 WATERPROOF SILICON CARBIDE | 44197 | CoMat 05-021 |
Spares
| Name | Manufacturer | Part Number / Identification | Quantity | Remark |
|---|---|---|---|---|
| Rivet, blind | CR2663-3-3 | AR | ||
| Rivet, blind | CR2663-3-03 | AR | ||
| Rivet, blind | CR2663-3-3 | AR | ||
| Rivet, blind | CR2673-3-03 | AR | ||
| Nut, anchor | MS21060L4 | AR | ||
| Rivet, blind | CR2663-3-3 | AR | ||
| Rivet, blind | CR2663-3-3 | AR | ||
| Rivet, blind | CR2673-3-03 | AR | ||
| Rivet, blind | CR2663-3-03 | AR | ||
| Nut, anchor | MS21060-4 | AR | ||
| Rivet, blind | CR2663-3-3 | AR | ||
| Rivet, blind | CR2663-3-3 | AR | ||
| Rivet, blind | CR2673-3-03 | AR | ||
| Rivet, blind | CR2663-3-03 | AR | ||
| Nut, anchor | MS21062-4 | AR | ||
| Rivet, blind | CR2663-3-4 | AR | ||
| Rivet, blind | CR2673-3-04 | AR | ||
| Rivet, blind | CR2663-3-04 | AR | ||
| Nut, anchor | MS21060-4 | AR |
Safety Requirements
NONEProcedure
Figure: Repair Details and Dimensions
Repair Details and Dimensions

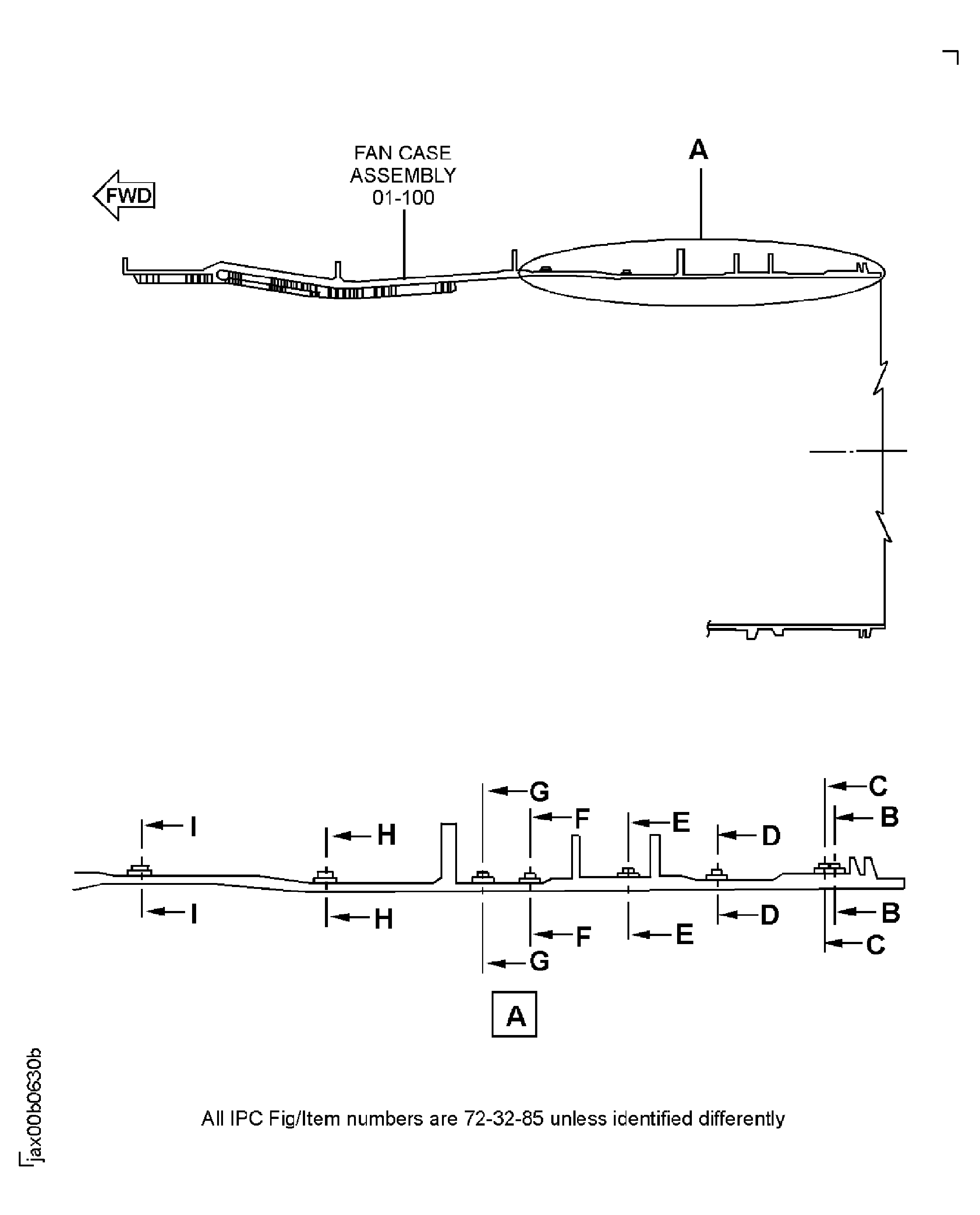
Figure: A1 Pre SBE 72-0103: Repair Details and Dimensions
Sheet 1

Figure: A1 Pre SBE 72-0103: Repair Details and Dimensions
Sheet 2

Figure: A1 Pre SBE 72-0103: Repair Details and Dimensions
Sheet 3

Figure: A1 Pre SBE 72-0103: Repair Details and Dimensions
Sheet 4

Figure: A1 Pre SBE 72-0103: Repair Details and Dimensions
Sheet 5

Figure: A1 Pre SBE 72-0103: Repair Details and Dimensions
Sheet 6

Figure: A1 Pre SBE 72-0103: Repair Details and Dimensions
Sheet 7

Figure: A1 Pre SBE 72-0103: Repair Details and Dimensions
Sheet 8

Figure: A1 Pre SBE 72-0103: Repair Details and Dimensions
Sheet 9

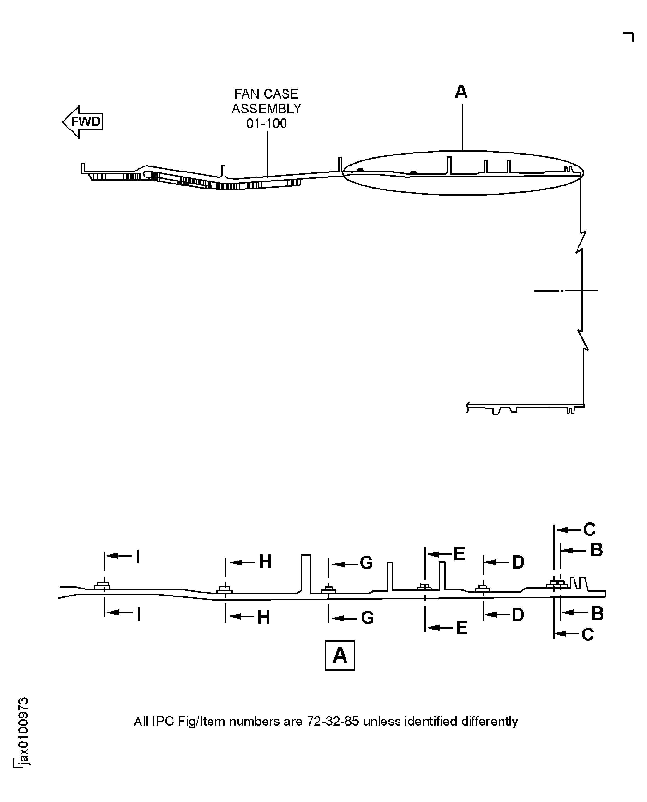
Figure: A1 SBE 72-0103 and A5: Repair Details and Dimensions
Sheet 1

Figure: A1 SBE 72-0103 and A5: Repair Details and Dimensions
Sheet 2

Figure: A1 SBE 72-0103 and A5: Repair Details and Dimensions
Sheet 3

Figure: A1 SBE 72-0103 and A5: Repair Details and Dimensions
Sheet 4

Figure: A1 SBE 72-0103 and A5: Repair Details and Dimensions
Sheet 5

Figure: A1 SBE 72-0103 and A5: Repair Details and Dimensions
Sheet 6

Figure: A1 SBE 72-0103 and A5: Repair Details and Dimensions
Sheet 7

Figure: A1 SBE 72-0103 and A5: Repair Details and Dimensions
Sheet 8

Figure: Repair Details and Dimensions
Repair Details and Dimensions

