Export Control
EAR Export Classification: Not subject to the EAR per 15 C.F.R. Chapter 1, Part 734.3(b)(3), except for the following Service Bulletins which are currently published as EAR Export Classification 9E991: SBE70-0992, SBE72-0483, SBE72-0580, SBE72-0588, SBE72-0640, SBE73-0209, SBE80-0024 and SBE80-0025.Copyright
© IAE International Aero Engines AG (2001, 2014 - 2021) The information contained in this document is the property of © IAE International Aero Engines AG and may not be copied or used for any purpose other than that for which it is supplied without the express written authority of © IAE International Aero Engines AG. (This does not preclude use by engine and aircraft operators for normal instructional, maintenance or overhaul purposes.).Applicability
All
Common Information
TASK 72-32-91-300-009 LPC Inlet Guide Vane (Stator) - Repair The Surface Damage, Repair-009 (VRS1773)
General
The practices and processes referred to in the procedure by the TASK numbers are in the SPM.
Price and availability - none
NOTE
Preliminary Requirements
Pre-Conditions
NONESupport Equipment
| Name | Manufacturer | Part Number / Identification | Quantity | Remark |
|---|---|---|---|---|
| Fluorescent Penetrant Inspection Equipment | LOCAL | Fluorescent penetrant inspection equipment | ||
| Magnifying glass, 10x | LOCAL | Magnifying glass, 10x |
Consumables, Materials and Expendables
| Name | Manufacturer | Part Number / Identification | Quantity | Remark |
|---|---|---|---|---|
| CoMat 05-019 WATERPROOF SILICON CARBIDE | LOCAL | CoMat 05-019 | ||
| CoMat 05-020 WATERPROOF SILICON CARBIDE | LOCAL | CoMat 05-020 | ||
| CoMat 05-021 WATERPROOF SILICON CARBIDE | 44197 | CoMat 05-021 |
Spares
NONESafety Requirements
NONEProcedure
Use light pressure to prevent the risk of over-heating the material.
All polish marks must be made in a radial direction from the vane ID to OD.
The surface finish of the repair area must be the same as the adjacent area.
Refer to the SPM TASK 70-35-03-300-501.
Use abrasive stones or abrasive papers and/or a fine file.

CAUTION
TITANIUM COMPONENT - YOU MUST USE SILICON CARBIDE TYPE ABRASIVE WHEELS, STONES AND PAPERS TO DRESS, BLEND AND POLISH THIS COMPONENT. ALUMINUM OXIDE TYPE MUST NOT BE USED. IF MECHANICAL CUTTERS ARE USED, ONLY LIGHT CUTS MUST BE MADE TO AVOID OVERHEATING THE MATERIAL.
CAUTION
TITANIUM COMPONENT - AVOID BUILD UP OF HEAT BY APPLYING ONLY GENTLE PRESSURE AND KEEPING THE TOOL SPEED AS LOW AS POSSIBLE. USE TECHNIQUES WHICH ALLOW FOR PROGRESSIVE WEAR OF THE DRESSING MEDIA TO PRESENT A CONTINUALLY FRESH CUTTING SURFACE TO THE WORK PIECE.
CAUTION
DO NOT DWELL ON ONE AREA OF THE COMPONENT.
CAUTION
DRESS, WHERE POSSIBLE, IN A CIRCULAR MOTION; TAKING LIGHT CUTS TO AVOID OVERHEATING.
CAUTION
TITANIUM COMPONENT - YOU MUST MAKE SURE THAT WHEN YOU REMOVE MATERIAL, BLEND AND POLISH, TO MAKE SMOOTH, THAT NO SPARKS ARE PRODUCED AND THE ADJACENT AREA IS MASKED OFF.
CAUTION
TITANIUM COMPONENT - IF THE MATERIAL SHOWS A CHANGE IN COLOR DURING DRESSING, TO DARKER THAN A LIGHT STRAW COLOR, THE COMPONENT IS TO BE REJECTED.Scallop, make smooth and/or hand polish to remove nicks, dents, scores and/or galls.
Remove the minimum quantity of material necessary to make the correct radius.
Refer to the SPM TASK 70-35-03-300-501.
Use CoMat 05-019 WATERPROOF SILICON CARBIDE, CoMat 05-020 WATERPROOF SILICON CARBIDE and CoMat 05-021 WATERPROOF SILICON CARBIDE.
Hand polish the vane leading and/or trailing edge radius and the vane profile to make a smooth shape.
SUBTASK 72-32-91-350-058 Remove the Damage from the LPC Inlet Guide Vane Assembly
Use a Magnifying glass, 10x.
Refer to TASK 72-32-91-200-000 (INSPECTION-000).
Nicks, dents, scores, galls and a change in color to a darker than light straw color are not permitted.
Visually and dimensionally examine the repaired area.
SUBTASK 72-32-91-220-079 Examine the LPC Inlet Guide Vane Assembly
Use Chemical cleaning equipment.
Refer to the SPM TASK 70-11-08-300-503, SUBTASK 70-11-08-300-001.
Chemically clean.
Use Chemical cleaning equipment.
Refer to the SPM TASK 70-11-08-300-503, SUBTASK 70-11-08-300-002.
Swab etch the repaired area.
SUBTASK 72-32-91-110-061 Do A Swab Etch
Make sure that there are no cracks in the repaired area.
Refer to the SPM TASK 70-23-05-230-501.
Do a fluorescent penetrant examination of the repaired area.
SUBTASK 72-32-91-230-058 Examine the LPC Inlet Guide Vane Assembly for Cracks
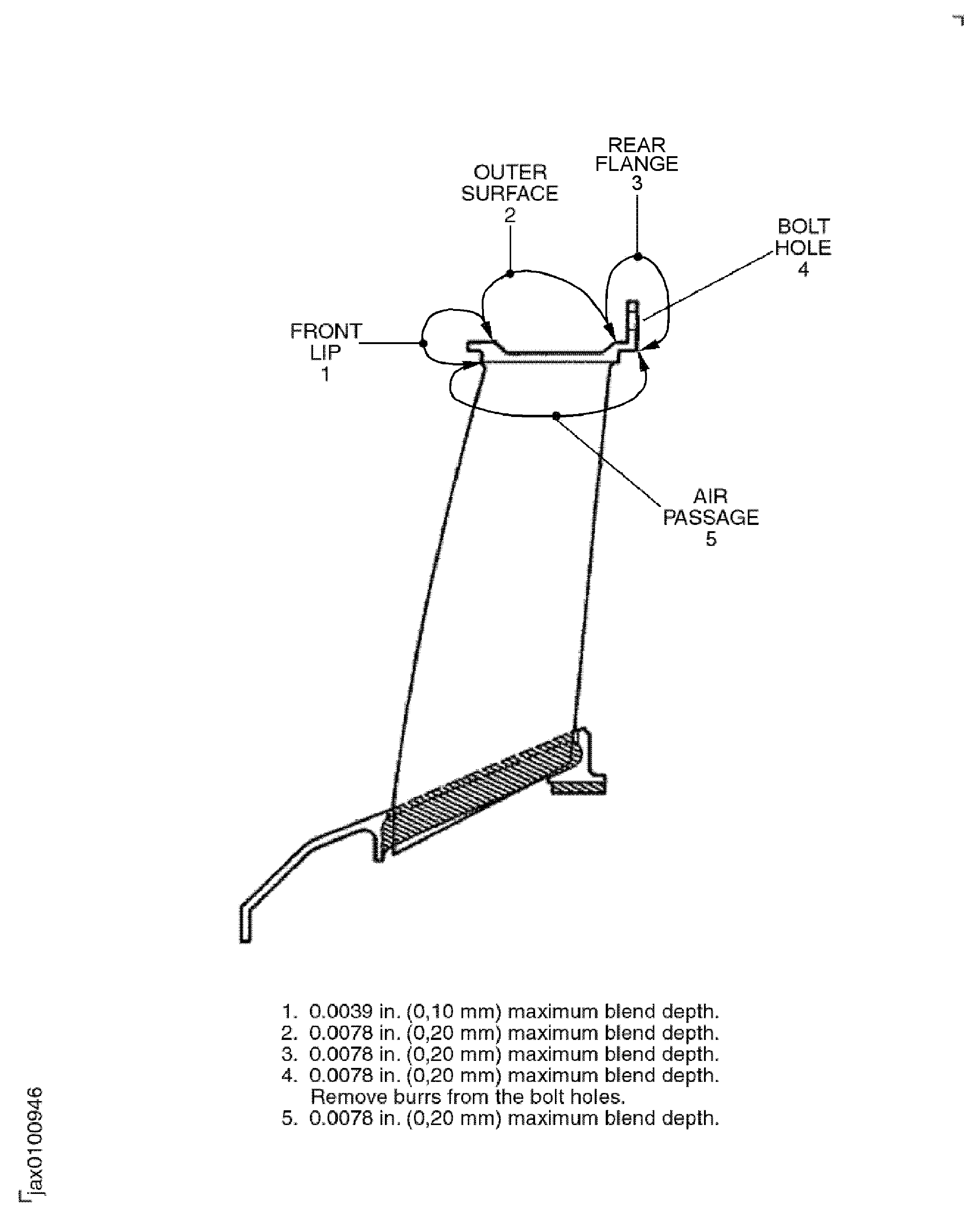
Figure: Repair Details and Dimensions
Repair Details and Dimensions

Figure: Repair Details and Dimensions
Repair Details and Dimensions

Figure: Repair Details and Dimensions
Repair Details and Dimensions

