Export Control
EAR Export Classification: Not subject to the EAR per 15 C.F.R. Chapter 1, Part 734.3(b)(3), except for the following Service Bulletins which are currently published as EAR Export Classification 9E991: SBE70-0992, SBE72-0483, SBE72-0580, SBE72-0588, SBE72-0640, SBE73-0209, SBE80-0024 and SBE80-0025.Copyright
© IAE International Aero Engines AG (2001, 2014 - 2021) The information contained in this document is the property of © IAE International Aero Engines AG and may not be copied or used for any purpose other than that for which it is supplied without the express written authority of © IAE International Aero Engines AG. (This does not preclude use by engine and aircraft operators for normal instructional, maintenance or overhaul purposes.).Applicability
All
Common Information
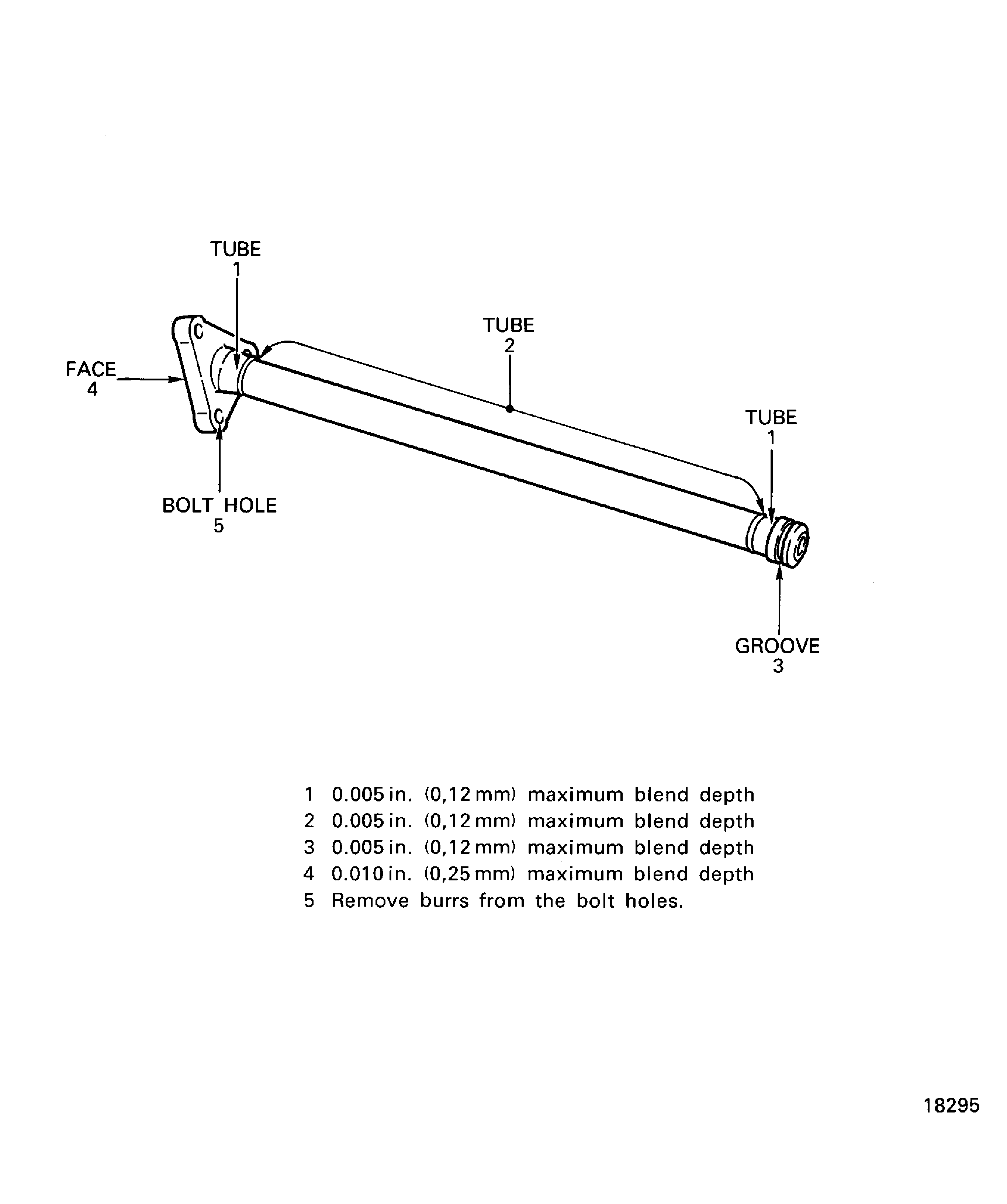
TASK 72-32-96-300-001 Hot Vent Air Tube - Blend Repair Surface Damage, Repair-001 (VRS1455)
General
The practices and processes referred to in the procedure by the TASK number are in SPM.
Related repairs: No. 1, 2 and 3 Bearing Scavenge Tube - Repair the surface damage. Refer to Repair, VRS1456 TASK 72-32-96-300-002 (REPAIR-002).
NOTE
Preliminary Requirements
Pre-Conditions
NONESupport Equipment
NONEConsumables, Materials and Expendables
| Name | Manufacturer | Part Number / Identification | Quantity | Remark |
|---|---|---|---|---|
| CoMat 05-020 WATERPROOF SILICON CARBIDE | LOCAL | CoMat 05-020 | ||
| CoMat 05-021 WATERPROOF SILICON CARBIDE | 44197 | CoMat 05-021 |
Spares
NONESafety Requirements
NONEProcedure
Refer to Figure.
Surface finish of the repair must be the same as the adjacent area. Use abrasive stones or papers and/or fine file.
Refer to SPM TASK 70-35-03-300-501.
Remove the nicks, galls and/or scores.
SUBTASK 72-32-96-350-052 Remove the Nicks, Galls and/or Scores from the Tube Surface and Tube End Fittings
Visually examine the repaired area for nicks, galls and/or scores using 10X magnifying glass.
Visually examine the tube surface and tube end fitting.
SUBTASK 72-32-96-230-059 Examine the Hot Vent Tube Assembly
Make sure there are no cracks in the repaired area.
Refer to SPM TASK 70-23-05-230-501.
Do a crack test on the hot vent tube assembly.
SUBTASK 72-32-96-230-060 Examine the Hot Vent Tube Assembly for Cracks
Refer to TASK 72-32-96-700-101.
Do a test on the hot vent tube assembly.
SUBTASK 72-32-96-780-055 Do a Test on the Hot Vent Tube Assembly
Figure: Repair Details And Dimensions
Repair Details And Dimensions

