DMC:V2500-A0-72-41-2304-00A-920A-CIssue No:001.00Issue Date:2013-11-01
Export Control
EAR Export Classification: Not subject to the EAR per 15 C.F.R. Chapter 1, Part 734.3(b)(3), except for the following Service Bulletins which are currently published as EAR Export Classification 9E991: SBE70-0992, SBE72-0483, SBE72-0580, SBE72-0588, SBE72-0640, SBE73-0209, SBE80-0024 and SBE80-0025.Copyright
© IAE International Aero Engines AG (2001, 2014 - 2021) The information contained in this document is the property of © IAE International Aero Engines AG and may not be copied or used for any purpose other than that for which it is supplied without the express written authority of © IAE International Aero Engines AG. (This does not preclude use by engine and aircraft operators for normal instructional, maintenance or overhaul purposes.).Applicability
All
Common Information
TASK 72-41-23-300-007 HPC Stage 7 Borescope Cover - Replace The Shoulder Pin - Repair-007 (VRS6216)
Material of component
PART IDENT | SYMBOL | MATERIAL |
|---|---|---|
Blanking cover assembly (Assembly A) | EAF | Chromium - Nickel (18/8) stabilized steel |
Blanking cover assembly (Assembly B) | EBM | Chromium - Nickel (18/8) stabilized steel |
Pin, shoulder, headless | QAK | Chromium (80-20)- Heat resisting alloy |
General
This Repair must only be done when the instruction to do so is given in 72-41-23 Inspection.
Price and availability
Refer to International Aero Engines
NOTE
Equivalent materials or equipment can be used.
NOTE
To identify the consumable materials refer to the PCI.
Preliminary Requirements
Pre-Conditions
NONESupport Equipment
| Name | Manufacturer | Part Number / Identification | Quantity | Remark |
|---|---|---|---|---|
| Standard workshop tools | LOCAL | Standard workshop tools | ||
| Protective gloves | LOCAL | Protective gloves |
Consumables, Materials and Expendables
| Name | Manufacturer | Part Number / Identification | Quantity | Remark |
|---|---|---|---|---|
| CoMat 03-026 LIQUID NITROGEN | LOCAL | CoMat 03-026 |
Spares
| Name | Manufacturer | Part Number / Identification | Quantity | Remark |
|---|---|---|---|---|
| Pin, shoulder headless | AS44800 | 1 |
Safety Requirements
NONEProcedure
Use AS44800, pin, shoulder headless,02-110 with CoMat 03-026 LIQUID NITROGEN, put in an applicable container for liquid nitrogen.
Use protective gloves.
Freeze the shoulder pin.
SUBTASK 72-41-23-350-067 Replace the Shoulder Pin, (Assembly A) or (Assembly B)
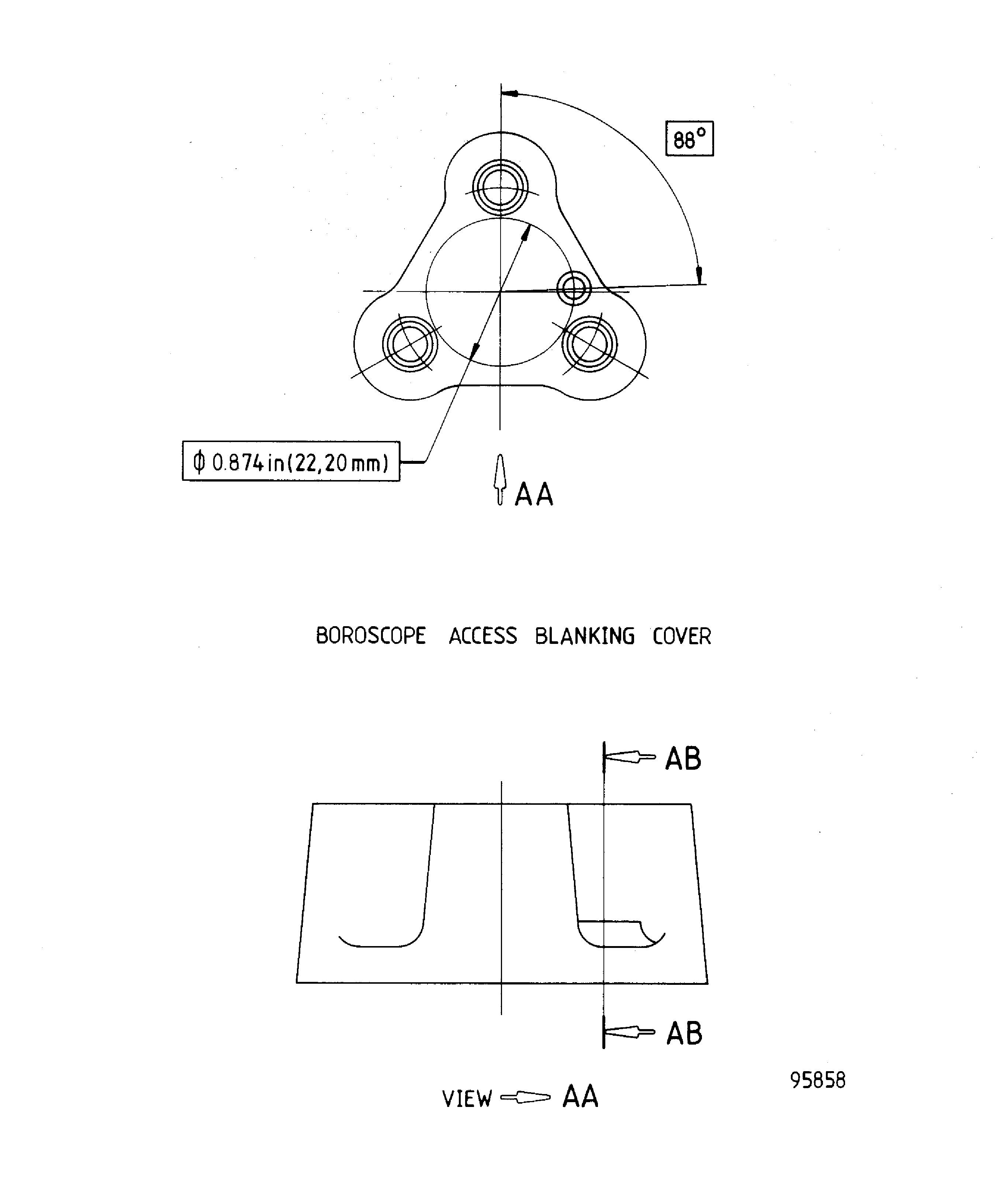
Figure: Repair details and dimensions
Repair details and dimensions

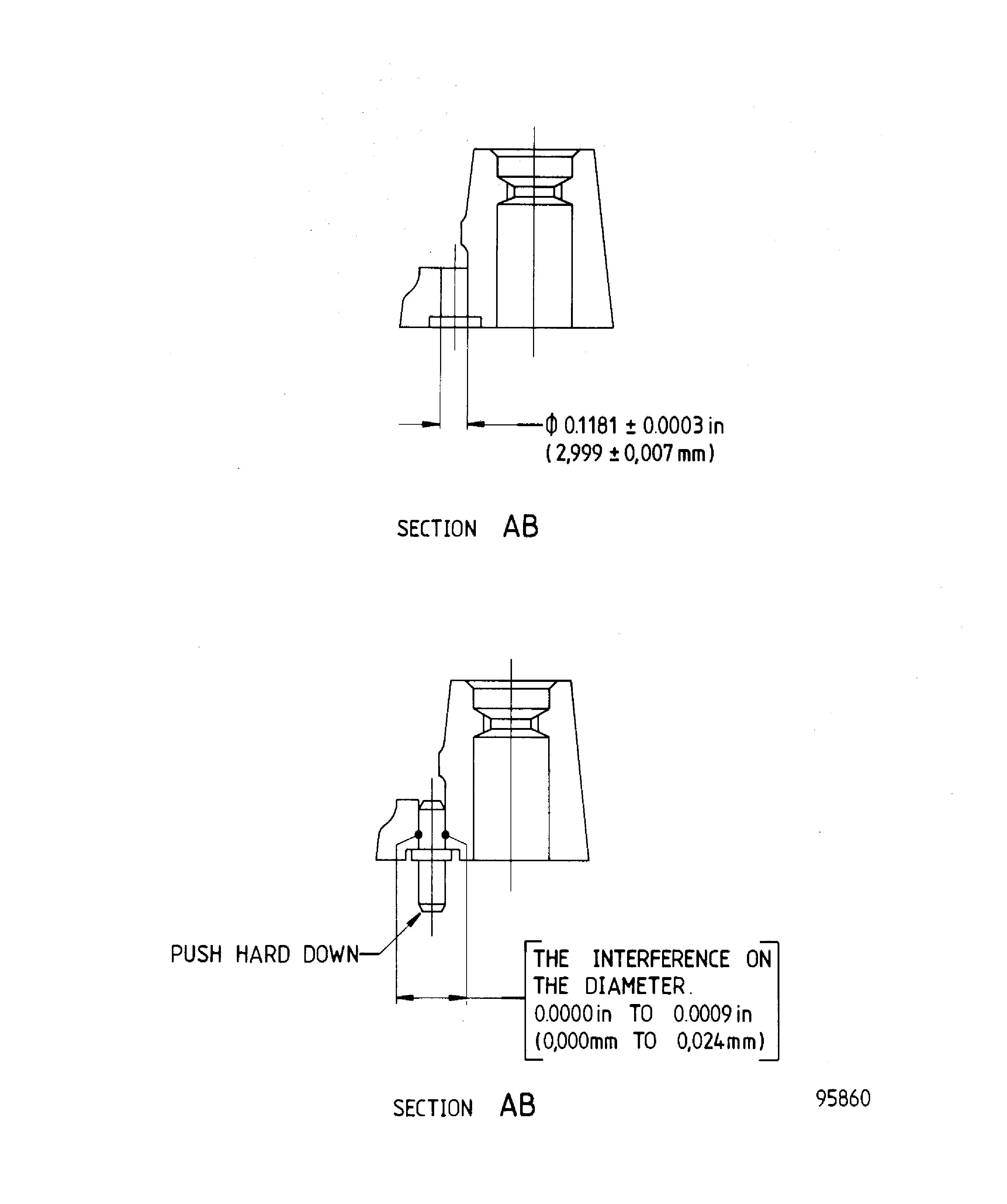
Figure: Repair details and dimensions
Repair details and dimensions

Figure: Repair details and dimensions
Repair details and dimensions

Figure: Repair details and dimensions
Repair details and dimensions

