DMC:V2500-A0-72-42-1003-00A-647A-CIssue No:001.00Issue Date:2013-11-01
Export Control
EAR Export Classification: Not subject to the EAR per 15 C.F.R. Chapter 1, Part 734.3(b)(3), except for the following Service Bulletins which are currently published as EAR Export Classification 9E991: SBE70-0992, SBE72-0483, SBE72-0580, SBE72-0588, SBE72-0640, SBE73-0209, SBE80-0024 and SBE80-0025.Copyright
© IAE International Aero Engines AG (2001, 2014 - 2021) The information contained in this document is the property of © IAE International Aero Engines AG and may not be copied or used for any purpose other than that for which it is supplied without the express written authority of © IAE International Aero Engines AG. (This does not preclude use by engine and aircraft operators for normal instructional, maintenance or overhaul purposes.).Applicability
All
Common Information
TASK 72-42-10-300-001 Diffuser Case Machine Threaded Plug - Replace The Silver Plate, Repair-001 (VRS3287)
General
Price and availability - refer to IAE
The practices and processes referred to in the procedure by the TASK number are in the SPM.
Preliminary Requirements
Pre-Conditions
NONESupport Equipment
NONEConsumables, Materials and Expendables
NONESpares
NONESafety Requirements
NONEProcedure
Refer to: Figure
Refer to the SPM TASK 70-33-26-330-501.
Remove the silver plate from the plug threads.
SUBTASK 72-42-10-330-051 Remove the Silver Plate from the Threads of the Diffuser Case Assembly Plug
Refer to: Figure
Refer to the SPM TASK 70-33-26-330-501.
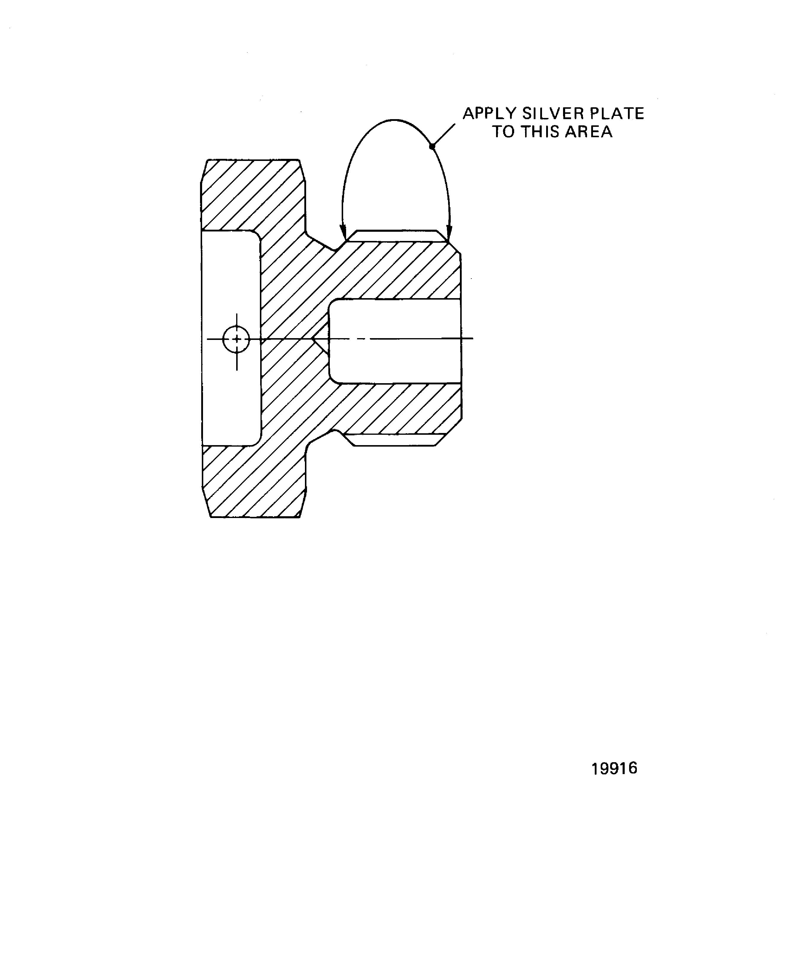
Apply the silver plate 0.0003 to 0.0006 in. (0.0077 to 0.0152 mm) thick.
Apply silver plate to the threads of the plug.
SUBTASK 72-42-10-330-052 Apply Silver Plate to the Threads of the Diffuser Case Assembly Plug
Figure: Replace the silver plate on the diffuser case assembly plug
Replace the silver plate on the diffuser case assembly plug

