DMC:V2500-A0-72-42-1100-00A-649A-BIssue No:002.00Issue Date:2014-11-01
Export Control
EAR Export Classification: Not subject to the EAR per 15 C.F.R. Chapter 1, Part 734.3(b)(3), except for the following Service Bulletins which are currently published as EAR Export Classification 9E991: SBE70-0992, SBE72-0483, SBE72-0580, SBE72-0588, SBE72-0640, SBE73-0209, SBE80-0024 and SBE80-0025.Copyright
© IAE International Aero Engines AG (2001, 2014 - 2021) The information contained in this document is the property of © IAE International Aero Engines AG and may not be copied or used for any purpose other than that for which it is supplied without the express written authority of © IAE International Aero Engines AG. (This does not preclude use by engine and aircraft operators for normal instructional, maintenance or overhaul purposes.).Applicability
All
Common Information
TASK 72-42-11-300-024 Diffuser Case - Blend Repair, Repair-024 (VRS3061)
Effectivity
FIG/ITEM PART NO. | |
|---|---|
01-010 | 2A0051 |
01-010 | 2A2081-01 |
01-010 | 2A2581-01 |
01-010 | 2A2883-01 |
01-010 | 2A2889-01 |
01-010 | 2A2896-01 |
01-010 | 2A2885-01 |
01-010 | 2A2891-01 |
01-010 | 2A2897-01 |
01-010 | 2A3132 |
General
Price and availability - refer to IAE
The practices and processes referred to in the procedure by the TASK number are in the SPM.
Preliminary Requirements
Pre-Conditions
NONESupport Equipment
NONEConsumables, Materials and Expendables
NONESpares
NONESafety Requirements
NONEProcedure
Refer to Figure , Figure and the SPM TASK 70-35-21-350-501.
Blend the diffuser case.
SUBTASK 72-42-11-350-051 Blend the Diffuser Case
Figure: Minimum wheel or ball diameters for blend depths
Minimum wheel or ball diameters for blend depths

Figure: Examples of surface damage, incorrect and correct blends
Examples of surface damage, incorrect and correct blends

Figure: Diffuser case repair locations
Diffuser case repair locations

Figure: Repair Details and Dimensions
Sheet 1

Figure: Repair Details and Dimensions
Sheet 2

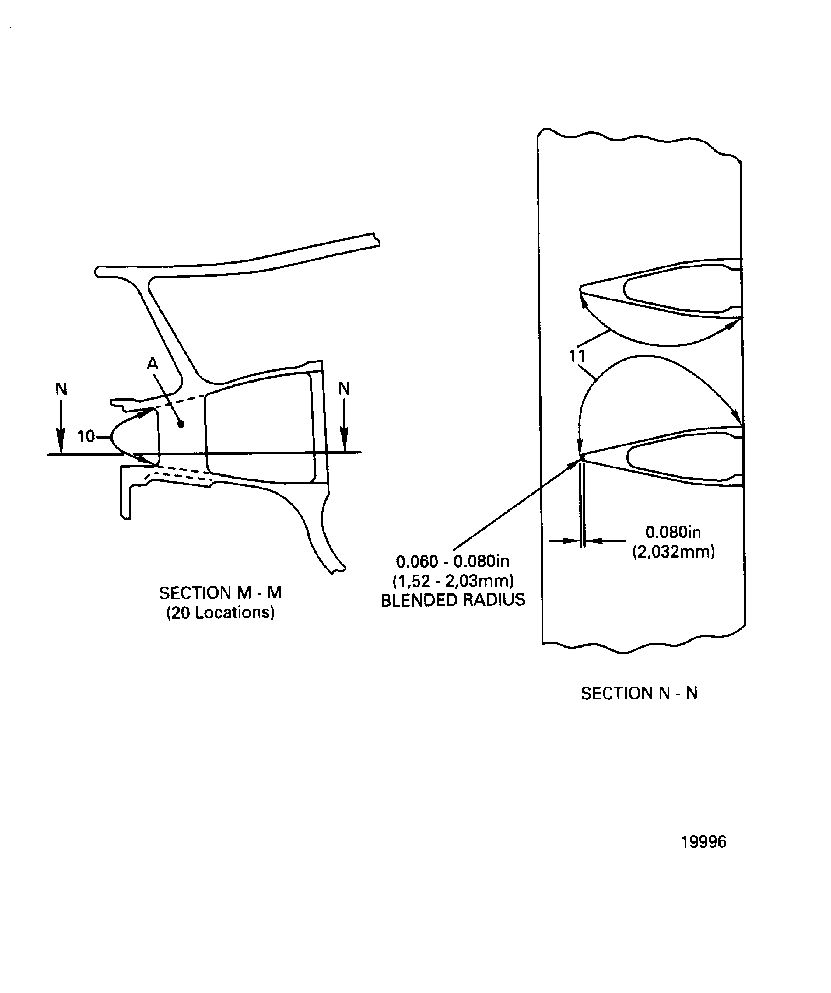
Figure: Diffuser case blend repair requirements
Diffuser case blend repair requirements

Figure: Diffuser case blend repair requirements
Diffuser case blend repair requirements

Figure: Diffuser case blend repair requirements
Diffuser case blend repair requirements

Figure: Diffuser case blend repair requirements
Diffuser case blend repair requirements

Figure: Diffuser case blend repair requirements
Diffuser case blend repair requirements

Figure: Diffuser case blend repair requirements
Diffuser case blend repair requirements

Figure: Diffuser case inspection after blend repair
Diffuser case inspection after blend repair

