DMC:V2500-A0-72-45-2101-02A-920A-CIssue No:001.00Issue Date:2013-11-01
Export Control
EAR Export Classification: Not subject to the EAR per 15 C.F.R. Chapter 1, Part 734.3(b)(3), except for the following Service Bulletins which are currently published as EAR Export Classification 9E991: SBE70-0992, SBE72-0483, SBE72-0580, SBE72-0588, SBE72-0640, SBE73-0209, SBE80-0024 and SBE80-0025.Copyright
© IAE International Aero Engines AG (2001, 2014 - 2021) The information contained in this document is the property of © IAE International Aero Engines AG and may not be copied or used for any purpose other than that for which it is supplied without the express written authority of © IAE International Aero Engines AG. (This does not preclude use by engine and aircraft operators for normal instructional, maintenance or overhaul purposes.).Applicability
All
Common Information
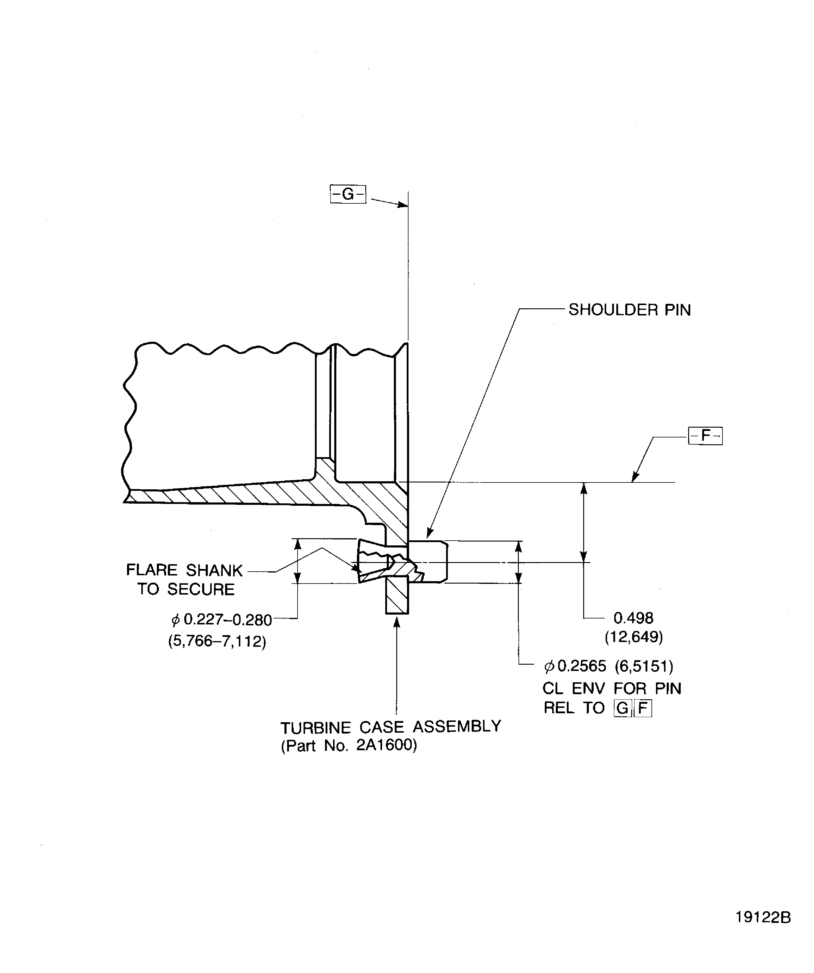
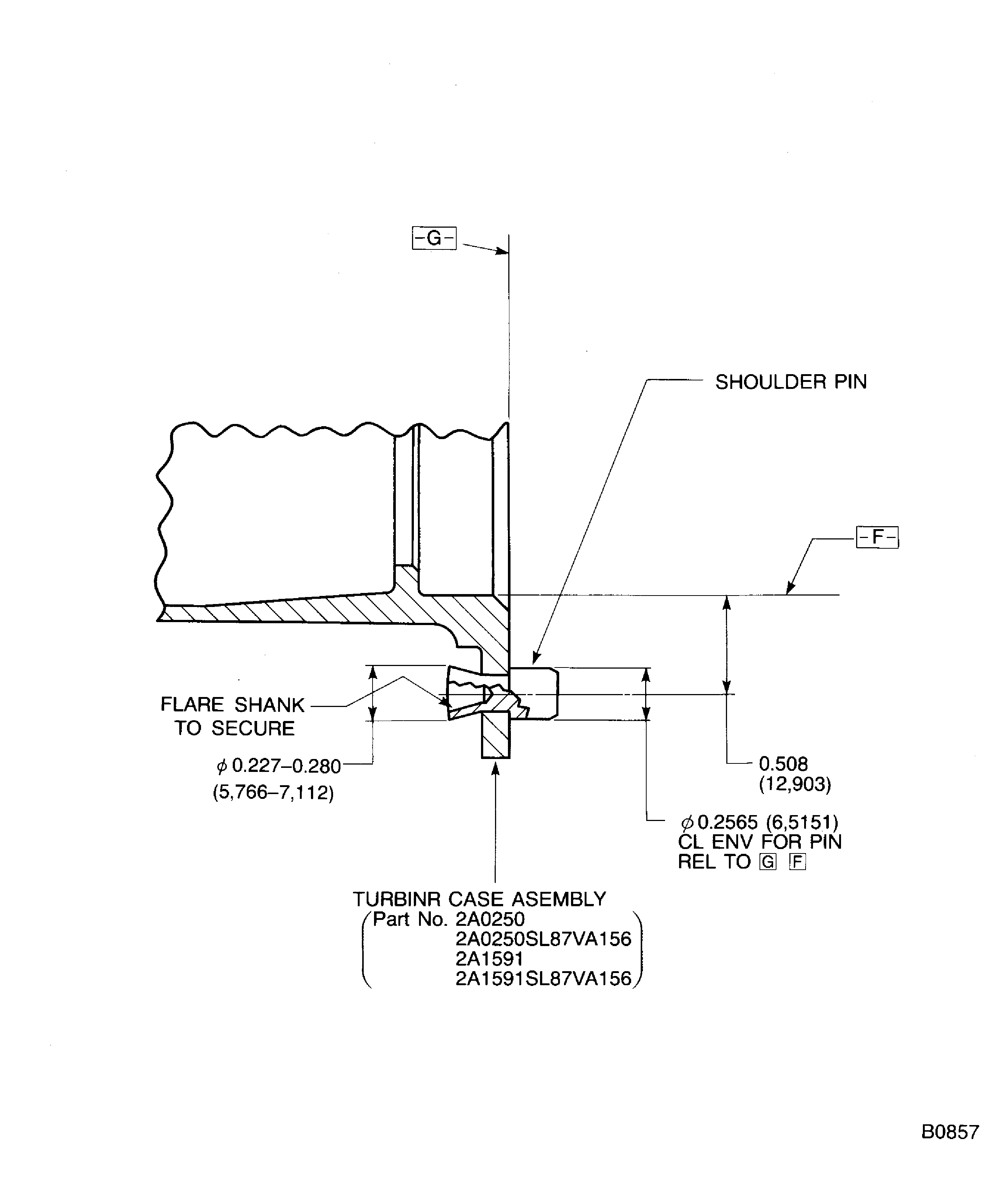
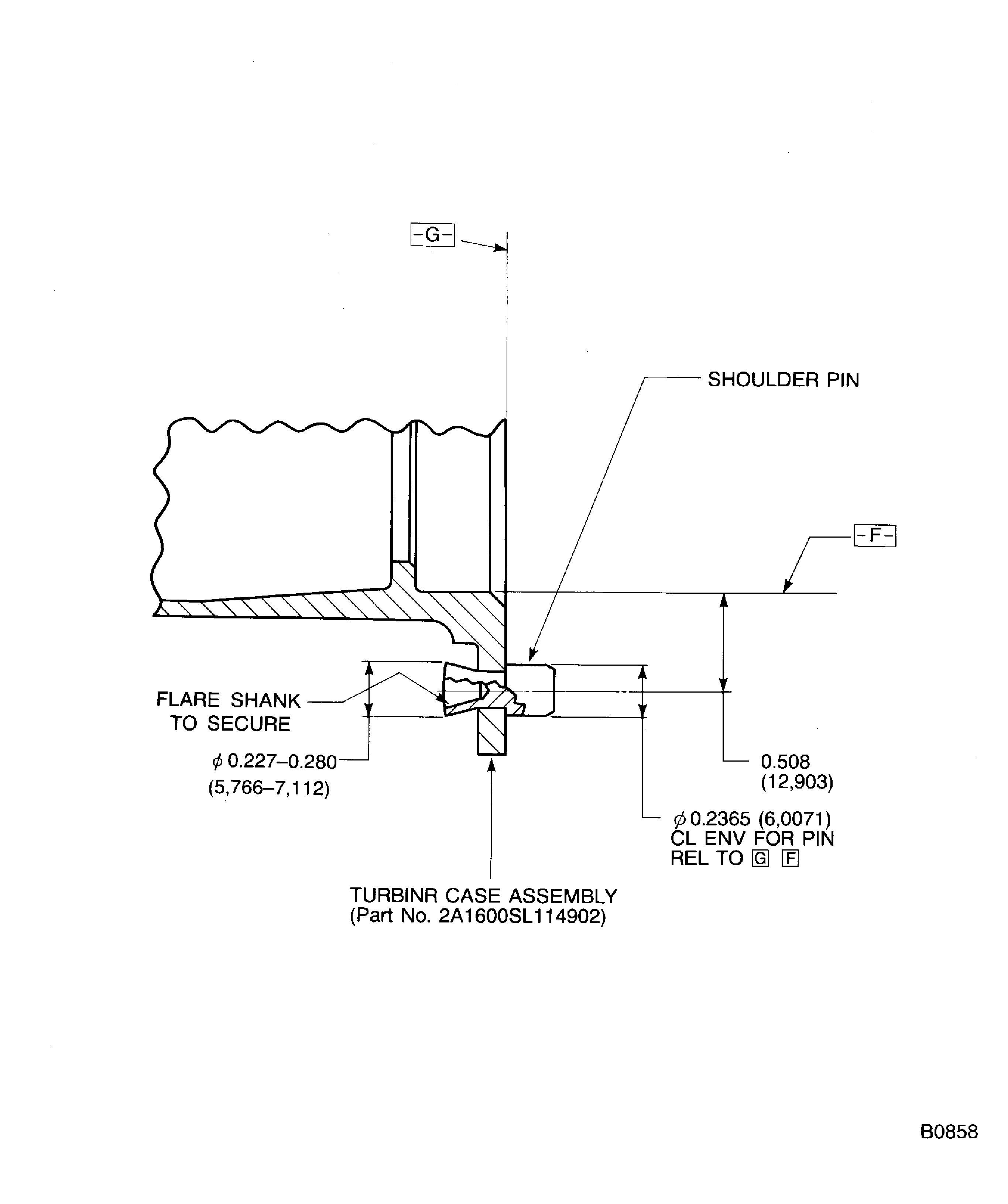
TASK 72-45-21-300-005 HPT Case - Replace The Shoulder Pin, Repair-005 (VRS1478)
Effectivity
FIG/ITEM | PART NO. |
|---|---|
01-010 | 2A0250 |
01-010 | 2A0250SL87VA156 |
01-010 | 2A1591 |
01-010 | 2A1591SL87VA156 |
01-010 | 2A1600 |
01-010 | 2A1600SL114902 |
General
Price and availability - none
The practices and processes referred to in the procedure by the TASK number are in the SPM.
For the method to clean the parts, refer to TASK 72-45-21-100-000.
NOTE
To identify the consumable materials refer to the PCI.
NOTE
Special tools are identified in the procedure by the tool primary number.
Preliminary Requirements
Pre-Conditions
NONESupport Equipment
| Name | Manufacturer | Part Number / Identification | Quantity | Remark |
|---|---|---|---|---|
| Fluorescent Penetrant Inspection Equipment | LOCAL | Fluorescent penetrant inspection equipment | Local application | |
| Hand held pneumatic grinder | LOCAL | Hand held pneumatic grinder | ||
| Illuminated comparator magnifier | LOCAL | Illuminated comparator magnifier | ||
| IAE 3J13509 Squeezer, flaring | 0AM53 | IAE 3J13509 | 1 |
Consumables, Materials and Expendables
| Name | Manufacturer | Part Number / Identification | Quantity | Remark |
|---|---|---|---|---|
| CoMat 05-020 WATERPROOF SILICON CARBIDE | LOCAL | CoMat 05-020 | ||
| CoMat 05-021 WATERPROOF SILICON CARBIDE | 44197 | CoMat 05-021 |
Spares
| Name | Manufacturer | Part Number / Identification | Quantity | Remark |
|---|---|---|---|---|
| Pin, shoulder | 2A0256 | 1 | ||
| Pin, shoulder | 2A1596 | 1 |
Safety Requirements
NONEProcedure
Refer to: Figure
SUBTASK 72-45-21-350-057 Remove Worn Shoulder Pin of the Turbine Case Assembly (01-010)
SUBTASK 72-45-21-350-058 Install the Replacement Shoulder Pin

CAUTION
USE PART NO.2A0256 SHOULDER PIN, WHEN THE TURBINE CASE ASSEMBLY HAS PART NO.2A0250, 2A0250SL87VA156, 2A1591, 2A1591SL87VA156 OR 2A1600.USE PART NO.2A1596 SHOULDER PIN, WHEN THE TURBINE CASE ASSEMBLY HAS PART NO.2A1600SL114902.
Figure: Replacement of the shoulder pin
Replacement of the shoulder pin

Figure: Replacement of the shoulder pin
Replacement of the shoulder pin

Figure: Replacement of the shoulder pin
Replacement of the shoulder pin

Figure: Replacement of the shoulder pin
Replacement of the shoulder pin

