DMC:V2500-A0-72-45-2301-00A-649A-CIssue No:001.00Issue Date:2013-11-01
Export Control
EAR Export Classification: Not subject to the EAR per 15 C.F.R. Chapter 1, Part 734.3(b)(3), except for the following Service Bulletins which are currently published as EAR Export Classification 9E991: SBE70-0992, SBE72-0483, SBE72-0580, SBE72-0588, SBE72-0640, SBE73-0209, SBE80-0024 and SBE80-0025.Copyright
© IAE International Aero Engines AG (2001, 2014 - 2021) The information contained in this document is the property of © IAE International Aero Engines AG and may not be copied or used for any purpose other than that for which it is supplied without the express written authority of © IAE International Aero Engines AG. (This does not preclude use by engine and aircraft operators for normal instructional, maintenance or overhaul purposes.).Applicability
All
Common Information
TASK 72-45-23-300-003 HPT Stage 1 Duct Segment - Repair, Repair-003 (VRS3464)
General
This repair can only be used to repair the duct segment base metal surface damage.
Surface damage of 0.004 in. (0.102 mm) or less is permitted without a repair and is also permitted in the no blend areas.
The practices and procedures referred to in the procedure by the TASK number are in the SPM.
Price and availability - not applicable
NOTE
To identify the consumable materials refer to the PCI.
Preliminary Requirements
Pre-Conditions
NONESupport Equipment
| Name | Manufacturer | Part Number / Identification | Quantity | Remark |
|---|---|---|---|---|
| Grinding equipment | LOCAL | Grinding equipment |
Consumables, Materials and Expendables
| Name | Manufacturer | Part Number / Identification | Quantity | Remark |
|---|---|---|---|---|
| CoMat 05-071 ADHESIVE PRECOAT FOR GREASELESSCOMPOUND | 75554 | CoMat 05-071 | ||
| CoMat 05-072 POLISHING COMPOUND | 75554 | CoMat 05-072 | ||
| CoMat 05-145 WHEEL, CLOTH BUFF | IAE65 | CoMat 05-145 |
Spares
NONESafety Requirements
NONEProcedure
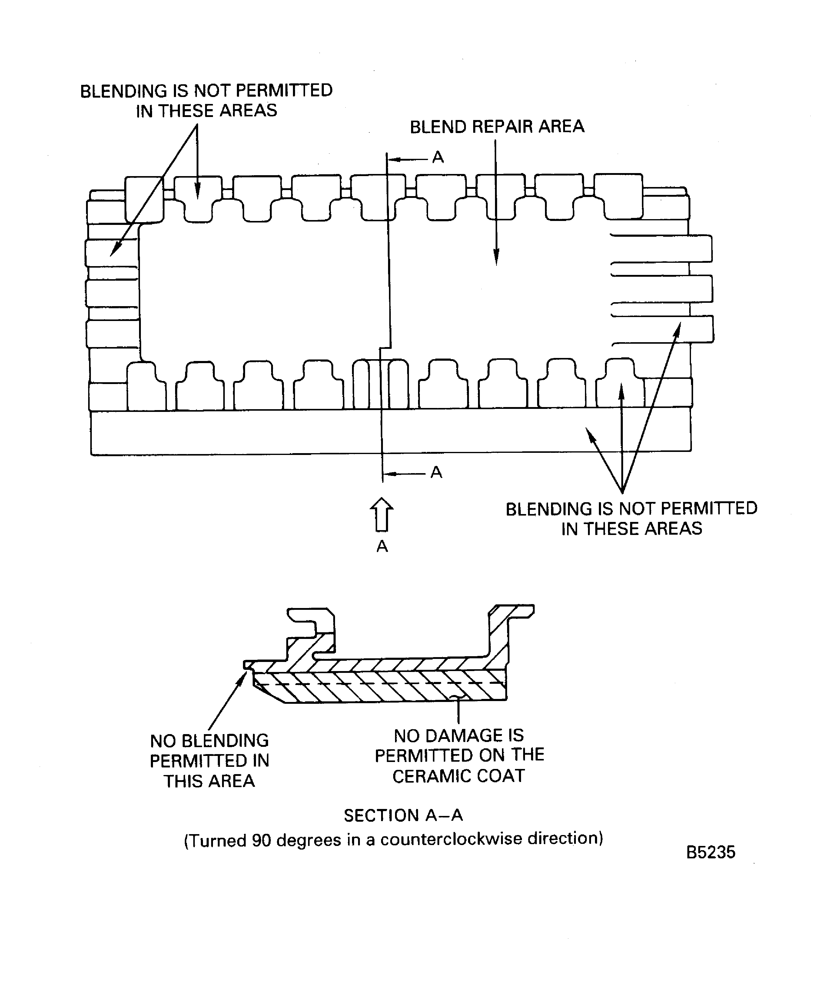
Refer to Figure requirements.
The blend depth is between 0.004 and 0.010 in. (0.102 and 0.254 mm) maximum only in the areas given in the figure.
Blend repair only the base metal.
No high material is permitted.
Blend the surface damage such as dents, nicks, erosion, corrosion and pitting on the duct segment.
SUBTASK 72-45-23-350-051 Blend the Stage 1 HPT Duct Segment
Figure: Stage 1 HPT duct segment repair areas
Stage 1 HPT duct segment repair areas

Figure: Stage 1 HPT duct segment repair areas
Stage 1 HPT duct segment repair areas

