Export Control
EAR Export Classification: Not subject to the EAR per 15 C.F.R. Chapter 1, Part 734.3(b)(3), except for the following Service Bulletins which are currently published as EAR Export Classification 9E991: SBE70-0992, SBE72-0483, SBE72-0580, SBE72-0588, SBE72-0640, SBE73-0209, SBE80-0024 and SBE80-0025.Copyright
© IAE International Aero Engines AG (2001, 2014 - 2021) The information contained in this document is the property of © IAE International Aero Engines AG and may not be copied or used for any purpose other than that for which it is supplied without the express written authority of © IAE International Aero Engines AG. (This does not preclude use by engine and aircraft operators for normal instructional, maintenance or overhaul purposes.).Applicability
All
Common Information
TASK 72-50-10-300-003 LPT Stage 4 (Bladed) Rotor Assembly - Blend Repair, Repair-003 (VRS4348)
Material of component
PART IDENT | SYMBOL | MATERIAL |
|---|---|---|
Stage 4 turbine blade | Inconel 713C or Inconel 100 | |
Stage 4 turbine disk | Inconel 718 | |
Stage 4 turbine airseal | Waspaloy or Inconel 100 MOD |
General
Price and availability - none
The practices and processes referred to in the procedure by the TASK number are in the SPM.
Be careful that no particles or dirt get into or stay in the assembled turbine rotor.
After repair remaining unbalance of stage 4 turbine rotor must be in the limits, refer to TASK 72-50-30-440-000.
NOTE
Preliminary Requirements
Pre-Conditions
NONESupport Equipment
NONEConsumables, Materials and Expendables
NONESpares
NONESafety Requirements
NONEProcedure
Refer to the SPM TASK 70-35-21-350-501 for blending surface damage.
For local blending use a length to depth ratio of 100:1 minimum, refer to Figure.
If there is a number of damage marks together blend the whole area to the specified depth. No more than 25 blends are permitted. Tell IAE if more the 25 blends are necessary.
Area A1.1 must not be blended by this repair.
For direction of blend repair, where specified, refer to Figure.
NOTE
Blend repair in area A1.2.
Maximum permitted blend depth is 0.005 in. (0.13 mm).
Maximum permitted length of blends for scratches and scores is 0.752 in. (19.10 mm).
Minimum distance between blends is 0.500 in. (12.50 mm).
For damage outside the spacing limit maximum depth of blend repair is 0.003 in. (0.08 mm).
Maximum blend area is 0.25 sqin (160.00 sq mm).
Blend repair in area A1.5.
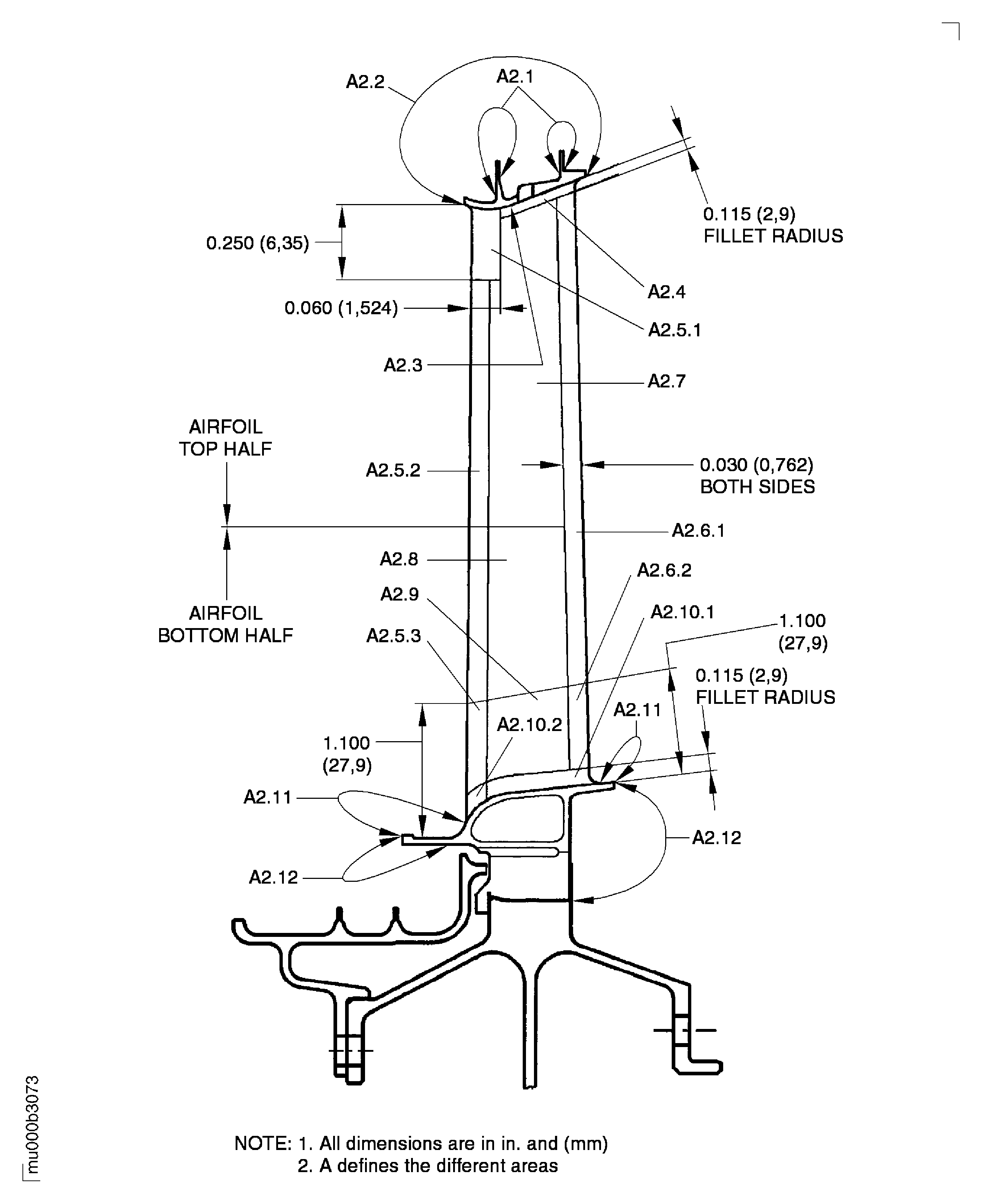
SUBTASK 72-50-10-350-007 Blend Repair the Air Seal of the Stage 4 Turbine Rotor
Refer to the SPM TASK 70-35-21-350-501 for blending surface damage.
For local blending use a length to depth ratio of 10:1 minimum, refer to Figure.
The minimum distance between the blends is 0.200 in. (5.08 mm).
Do not blend repair dents except on leading edge and trailing edge.
Nicks within acceptable limits do not require blend repair. If present, remove raised material only.
Repeated blending in one place is acceptable to the specified maximum depth, measured from the initial unblended surface.
Area A2.1 must not be blended by this repair.
Polish the airfoil in spanwise direction only.
The extent of blend repair is limited. The total area of coating loss (blended off and worn and damaged coating) is limited to max. 1.000 sqin (645 sqmm) per blade (shrouds and airfoil together).
NOTE
Blend the surface in area A2.2.
Maximum permitted blend depth from initial surface is 0.060 in. (1.52 mm).
The maximum permitted total depth of opposite blends on leading and trailing edge is 0.060 in. (1.52 mm).
The total length of all blends on leading edge must not be more than 10 percent of the span.
The minimum transition radius to the outer shroud is 0.080 in. (2.03 mm).
Use a length to depth ratio of 5:1 minimum.
Blend the surface in area A2.5.1.
Maximum permitted blend depth from initial surface is 0.030 in. (0.76 mm).
The maximum permitted total depth of opposite blends on leading and trailing edge is 0.060 in. (1.52 mm).
The total length of all blends on leading edge must not be more than 10 percent of the span.
Use a length to depth ratio of 6:1 minimum.
Blend the surface in area A2.5.2.
Maximum permitted blend depth from initial surface is 0.030 in. (0.76 mm).
The maximum permitted total depth of opposite blends on leading and trailing edge is 0.060 in. (1.52 mm).
The total length of all blends on leading edge must not be more than ten percent of the span.
Use a length to depth ratio of 6:1 minimum.
.
Blend the surface in area A2.5.3.
Maximum permitted blend depth from initial surface is 0.030 in. (0.76 mm).
The maximum permitted total depth of opposite blends on leading and trailing edge is 0.060 in. (1.52 mm).
The total length of all blends on trailing edge must not be more than ten percent of the span.
Use a length to depth ratio of 5:1 minimum.
Blend the surface in area A2.6.1.
Maximum permitted blend depth from initial surface is 0.030 in. (0.76 mm).
The maximum permitted total depth of opposite blends on leading and trailing edge is 0.060 in. (1.52 mm).
The total length of all blends on trailing edge must not be more than ten percent of the span.
Use a length to depth ratio of 5:1 minimum.
Blend the surface in area 2.6.2.
SUBTASK 72-50-10-350-008 Blend Repair the Blades of the Stage 4 Turbine Rotor
Refer to the SPM TASK 70-35-21-350-501 for blending surface damage.
For local blending the length to depth ratio must be a minimum of 100:1, refer to Figure.
If there are number of damage marks together blend the whole area to the specified depth. No more than 25 blends are permitted.
For direction of blend repair, where specified, refer to Figure.
NOTE
Blend repair in area A3.1.
Maximum permitted local blend repair depth is 0.004 in. (0.10 mm).
For blend areas 0.0625 sqin (40.30 sqmm) or more damage not more than 0.002 in. (0.05 mm) maximum depth to be blended to a 0.003 in. (0.08 mm) maximum depth.
Blend to a sufficient depth to remove damage plus an additional 0.001 in. (0.03 mm).
Use a length to depth ratio of 50:1 minimum.
Blend repair in area A3.4 (without areas A3.4.1, A3.4.2 and A3.4.3).
Damage not more than 0.002 in. (0.05 mm) maximum depth to be blended to a 0.003 in. (0.08 mm) maximum depth.
Blend to sufficient depth to remove damage plus an additional 0.001 in. (0.03 mm).
The total area of blend repair must not be more than 30 percent of the whole area A3.4.1.
Use a length to depth ratio of 30:1 minimum.
Blend repair in area A3.4.1.
Damage not more than 0.002 in. (0.05 mm) maximum depth to be blended to a 0.003 in. (0.08 mm) maximum depth.
Blend to sufficient depth to remove damage plus an additional 0.001 in. (0.03 mm).
The total area of blend repair must not be more than 30 percent of the whole area A3.4.2.
Use a length to depth ratio of 50:1 minimum.
Blend repair in area A3.4.2.
Damage not more than 0.002 in. (0.05 mm) maximum depth to be blended to a 0.003 in. (0.08 mm) maximum depth.
Blend to sufficient depth to remove damage plus an additional 0.001 in. (0.03 mm).
The total area of blend repair must not be more than 50 percent of the whole area A3.4.3.
Use a length to depth ratio of 30:1 minimum.
Blend repair in area A3.4.3.
SUBTASK 72-50-10-350-009 Blend Repair the Disk of the Stage 4 Turbine Rotor
Figure: Repair Details and Dimensions
Sheet 1

Figure: Repair Details and Dimensions
Sheet 2

Figure: Repair Details and Dimensions
Sheet 3

Figure: Repair Details and Dimensions
Sheet 4

Figure: Repair Details and Dimensions
Repair Details and Dimensions

Figure: Repair Details and Dimensions
Repair Details and Dimensions

