DMC:V2500-A0-72-50-2303-00A-649A-CIssue No:003.00Issue Date:2017-05-01
Export Control
EAR Export Classification: Not subject to the EAR per 15 C.F.R. Chapter 1, Part 734.3(b)(3), except for the following Service Bulletins which are currently published as EAR Export Classification 9E991: SBE70-0992, SBE72-0483, SBE72-0580, SBE72-0588, SBE72-0640, SBE73-0209, SBE80-0024 and SBE80-0025.Copyright
© IAE International Aero Engines AG (2001, 2014 - 2021) The information contained in this document is the property of © IAE International Aero Engines AG and may not be copied or used for any purpose other than that for which it is supplied without the express written authority of © IAE International Aero Engines AG. (This does not preclude use by engine and aircraft operators for normal instructional, maintenance or overhaul purposes.).Applicability
All
Common Information
TASK 72-50-23-300-021 LPT Stage 3 Outer Shroud Seal Segment - Blend Repair, Repair-021 (VRS4101)
General
Price and availability - none
The practices and processes referred to in the procedure by the TASK numbers are in the SPM.
Preliminary Requirements
Pre-Conditions
NONESupport Equipment
| Name | Manufacturer | Part Number / Identification | Quantity | Remark |
|---|---|---|---|---|
| Gage set | LOCAL | Gage set | ||
| Action swivel vise | LOCAL | Action swivel vise | ||
| Dial caliper | LOCAL | Dial caliper | ||
| Illuminated comparator magnifier | LOCAL | Illuminated comparator magnifier |
Consumables, Materials and Expendables
NONESpares
NONESafety Requirements
NONEProcedure
Refer to: Figure
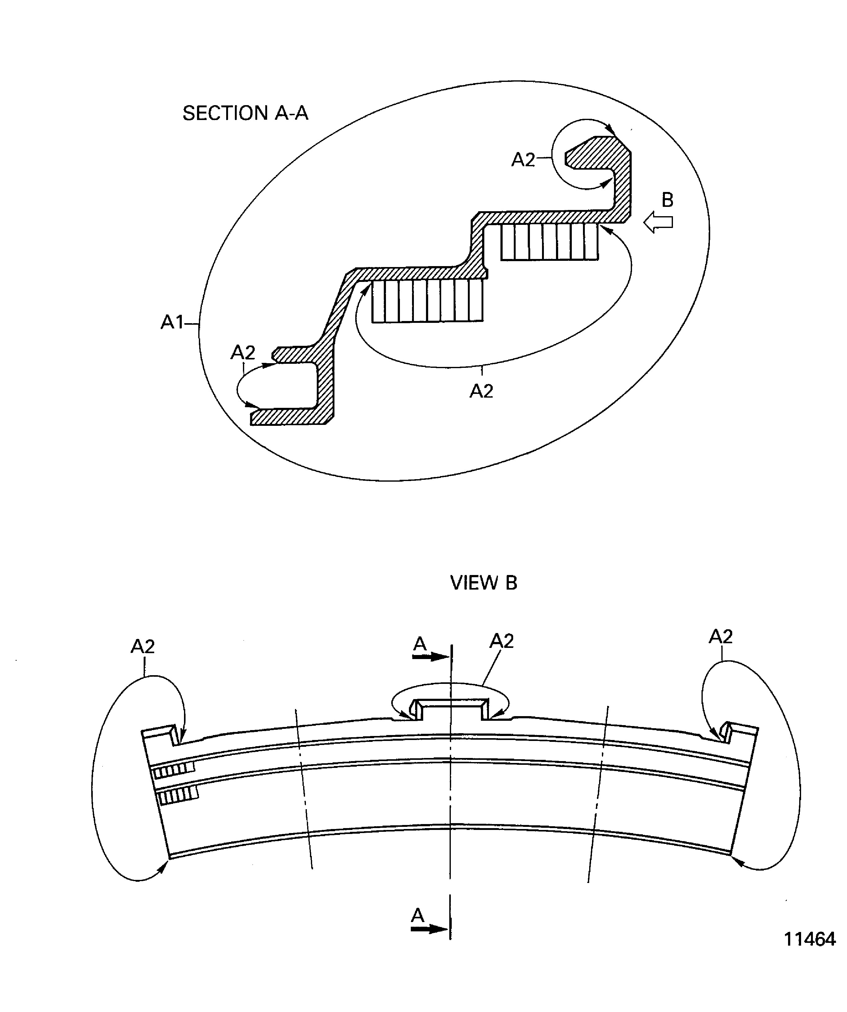
For local blend repair use a length to depth ratio of 5:1 minimum, refer to Figure.
The number of blends is not restricted, if there is a number of damage marks together, blend the whole area to the depth of 0.010in. (0.25 mm).
Minimum distance between blends 0.500in. (12.7 mm).
The surface texture of blended surfaces must be better than, that of the surrounding area.
Blend in area A1.
SUBTASK 72-50-23-350-061 Blend Repair the Stage 3 Shroud Seal Segment (01-350)
Refer to the SPM TASK 70-23-05-230-501. No cracks are permitted.
Do the test for cracks.
SUBTASK 72-50-23-230-061 Examine the Stage 3 Shroud Seal Segment (01-350) after Blend Repair for Cracks
Figure: Blend repair of the stage 3 shroud seal segment
Blend repair of the stage 3 shroud seal segment

Figure: Blend ratio for local blend repair
Blend ratio for local blend repair

