DMC:V2500-A0-72-50-2303-01A-649A-CIssue No:003.00Issue Date:2017-05-01
Export Control
EAR Export Classification: Not subject to the EAR per 15 C.F.R. Chapter 1, Part 734.3(b)(3), except for the following Service Bulletins which are currently published as EAR Export Classification 9E991: SBE70-0992, SBE72-0483, SBE72-0580, SBE72-0588, SBE72-0640, SBE73-0209, SBE80-0024 and SBE80-0025.Copyright
© IAE International Aero Engines AG (2001, 2014 - 2021) The information contained in this document is the property of © IAE International Aero Engines AG and may not be copied or used for any purpose other than that for which it is supplied without the express written authority of © IAE International Aero Engines AG. (This does not preclude use by engine and aircraft operators for normal instructional, maintenance or overhaul purposes.).Applicability
All
Common Information
TASK 72-50-23-300-028 LPT Stage 3 Outer Shroud Seal Segment - Blend Repair, Repair-028 (VRS4342)
General
Price and availability - none
The practices and processes referred to in the procedure by the TASK numbers are in the SPM.
NOTE
For more equipment and materials necessary to do this repair refer to the SPM TASK 70-23-05-230-501.
Equivalent materials and equipment may be used.
Preliminary Requirements
Pre-Conditions
NONESupport Equipment
| Name | Manufacturer | Part Number / Identification | Quantity | Remark |
|---|---|---|---|---|
| Gage set | LOCAL | Gage set | ||
| Action swivel vise | LOCAL | Action swivel vise | ||
| Dial caliper | LOCAL | Dial caliper | ||
| Illuminated comparator magnifier | LOCAL | Illuminated comparator magnifier |
Consumables, Materials and Expendables
NONESpares
NONESafety Requirements
NONEProcedure
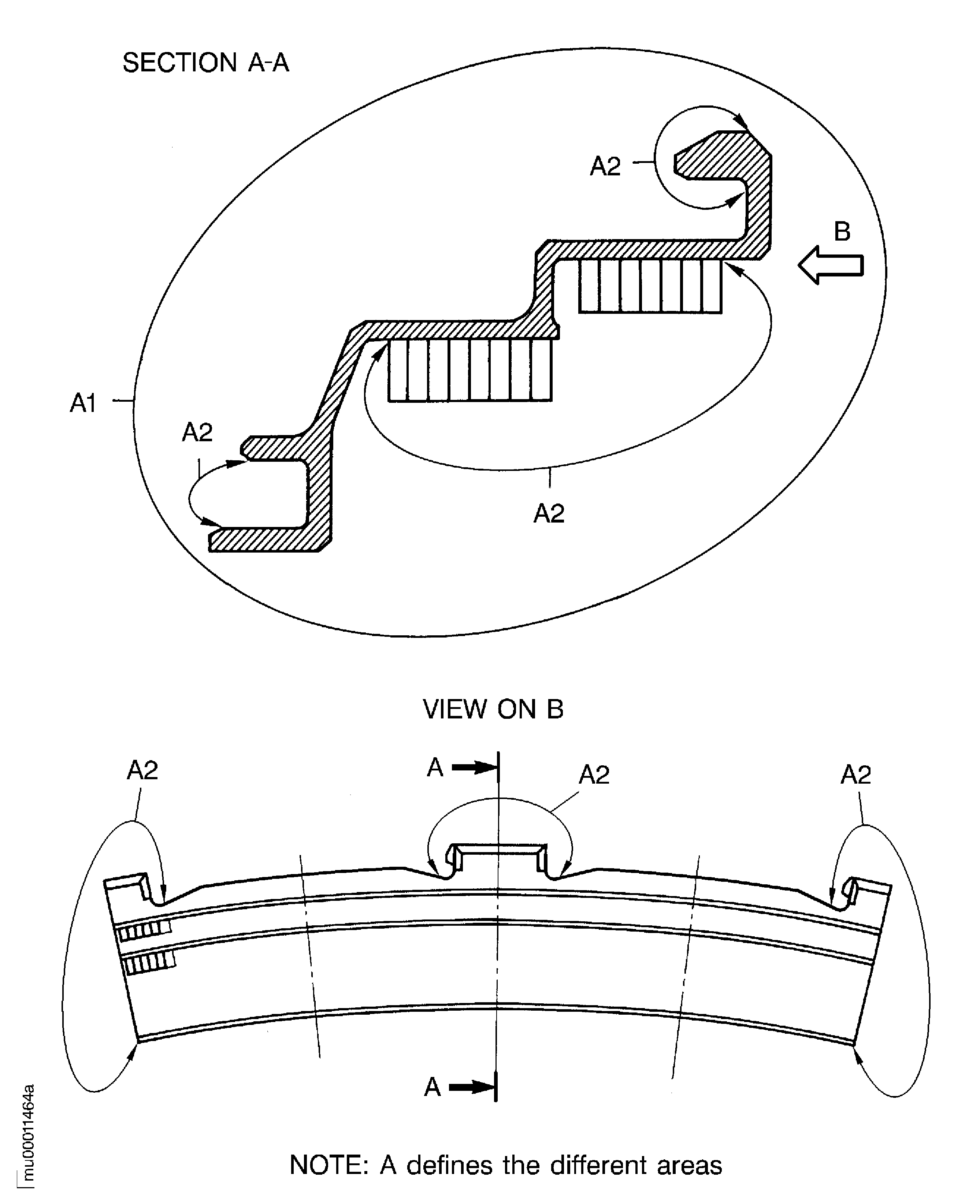
Refer to: Figure
For local blend repair use a length to depth ratio of 5:1 minimum, refer to Figure.
There is no limit in the number of blends.
If there is a number of damage marks together, blend the whole area to the depth of 0.010 in. (0.25 mm).
Minimum distance between blends 0.500in. (12.7 mm).
The surface texture of the blended surfaces must be equal or better than that of the adjacent area.
Blend in area A1.
SUBTASK 72-50-23-350-064 Blend Repair the Stage 3 Shroud Seal Segment
Figure: Blend repair the stage 3 shroud seal segment
Blend repair the stage 3 shroud seal segment

Figure: Blend ratio for local blend repair
Blend ratio for local blend repair

