Export Control
EAR Export Classification: Not subject to the EAR per 15 C.F.R. Chapter 1, Part 734.3(b)(3), except for the following Service Bulletins which are currently published as EAR Export Classification 9E991: SBE70-0992, SBE72-0483, SBE72-0580, SBE72-0588, SBE72-0640, SBE73-0209, SBE80-0024 and SBE80-0025.Copyright
© IAE International Aero Engines AG (2001, 2014 - 2021) The information contained in this document is the property of © IAE International Aero Engines AG and may not be copied or used for any purpose other than that for which it is supplied without the express written authority of © IAE International Aero Engines AG. (This does not preclude use by engine and aircraft operators for normal instructional, maintenance or overhaul purposes.).Applicability
All
Common Information
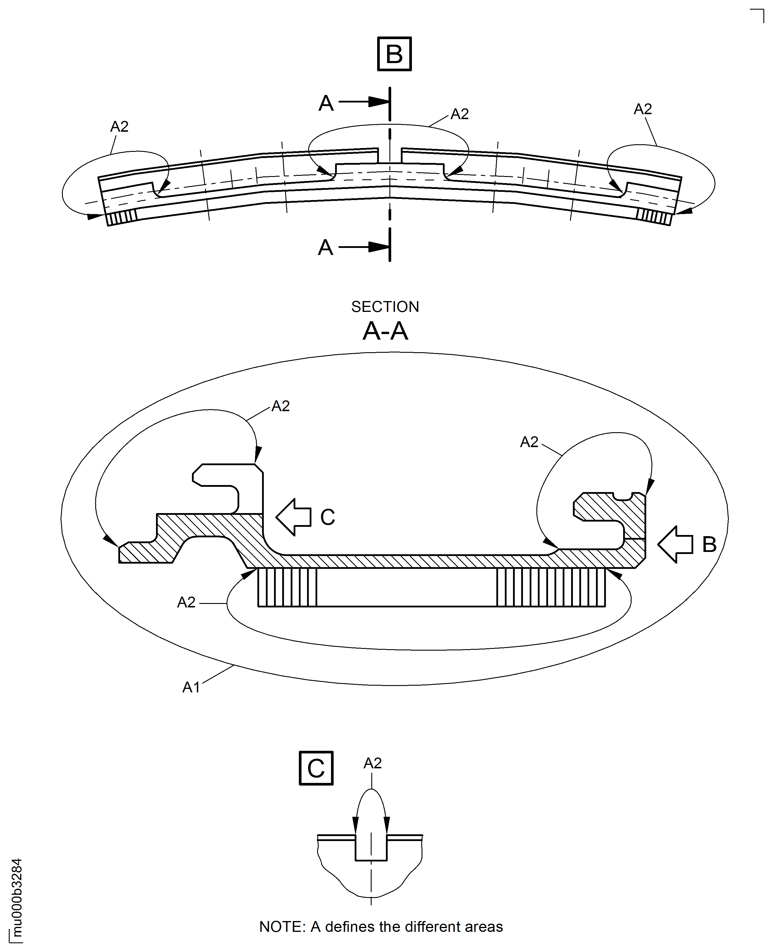
TASK 72-50-23-300-003 LPT Stage 7 Outer Shroud Seal Segment - Blend Repair of Surface Segment, Repair-003 (VRS4076)
General
Price and availability - none
The practices and processes referred to in the procedure by the TASK numbers are in the SPM.
NOTE
For more equipment and materials necessary to do this repair refer to the SPM TASK 70-23-05-230-501
and SPM TASK 70-35-21-350-501.
Equivalent equipment may be used.
Preliminary Requirements
Pre-Conditions
NONESupport Equipment
NONEConsumables, Materials and Expendables
NONESpares
NONESafety Requirements
NONEProcedure
Refer to TASK 70-35-21-350-501 for blending surface damage.
For local blending use a length to depth ratio of 5:1 minimum, refer to Figure.
Unless stated differently, there is no limit for the number of blends. If there is a number of damage marks close together, blend the whole area to the specified depth. Minimum distance between blends is 0.500 in. (12,7 mm).
Do not blend cracks with this repair.
SUBTASK 72-50-23-350-052 Blend Repair the Stage 7 Shroud Seal Segment
NOTE
Refer to the SPP TASK 70-23-05-230-501.
Use medium sensitivity level.
No cracks are permitted.
Do the test for cracks.
SUBTASK 72-50-23-230-055 Examine the Blended Areas for Cracks
Refer to Figure.
SUBTASK 72-50-23-220-070 Do the Post Repair Inspection
Figure: Repair Details and Dimensions
Repair Details and Dimensions

Figure: Repair Details and Dimensions
Repair Details and Dimensions

