DMC:V2500-A0-72-50-3203-02A-649A-CIssue No:002.00Issue Date:2013-11-01
Export Control
EAR Export Classification: Not subject to the EAR per 15 C.F.R. Chapter 1, Part 734.3(b)(3), except for the following Service Bulletins which are currently published as EAR Export Classification 9E991: SBE70-0992, SBE72-0483, SBE72-0580, SBE72-0588, SBE72-0640, SBE73-0209, SBE80-0024 and SBE80-0025.Copyright
© IAE International Aero Engines AG (2001, 2014 - 2021) The information contained in this document is the property of © IAE International Aero Engines AG and may not be copied or used for any purpose other than that for which it is supplied without the express written authority of © IAE International Aero Engines AG. (This does not preclude use by engine and aircraft operators for normal instructional, maintenance or overhaul purposes.).Applicability
All
Common Information
TASK 72-50-32-300-028 LPT Stage 3 Blade - Blend Repair Cracks In The Shroud Notch Radius, Repair-028 (VRS4206)
General
Price and availability - none
The practices and processes referred to in the procedure by the TASK numbers are in the SPM.
NOTE
For more equipment and materials necessary to do this repair refer to the SPM TASK 70-23-05-230-501 and SPM TASK 70-35-21-350-501.
Equivalent equipment may be used.
Preliminary Requirements
Pre-Conditions
NONESupport Equipment
NONEConsumables, Materials and Expendables
NONESpares
NONESafety Requirements
NONEProcedure
NOTE
Refer to the SPM TASK 70-35-21-350-501 for blending surface damage.
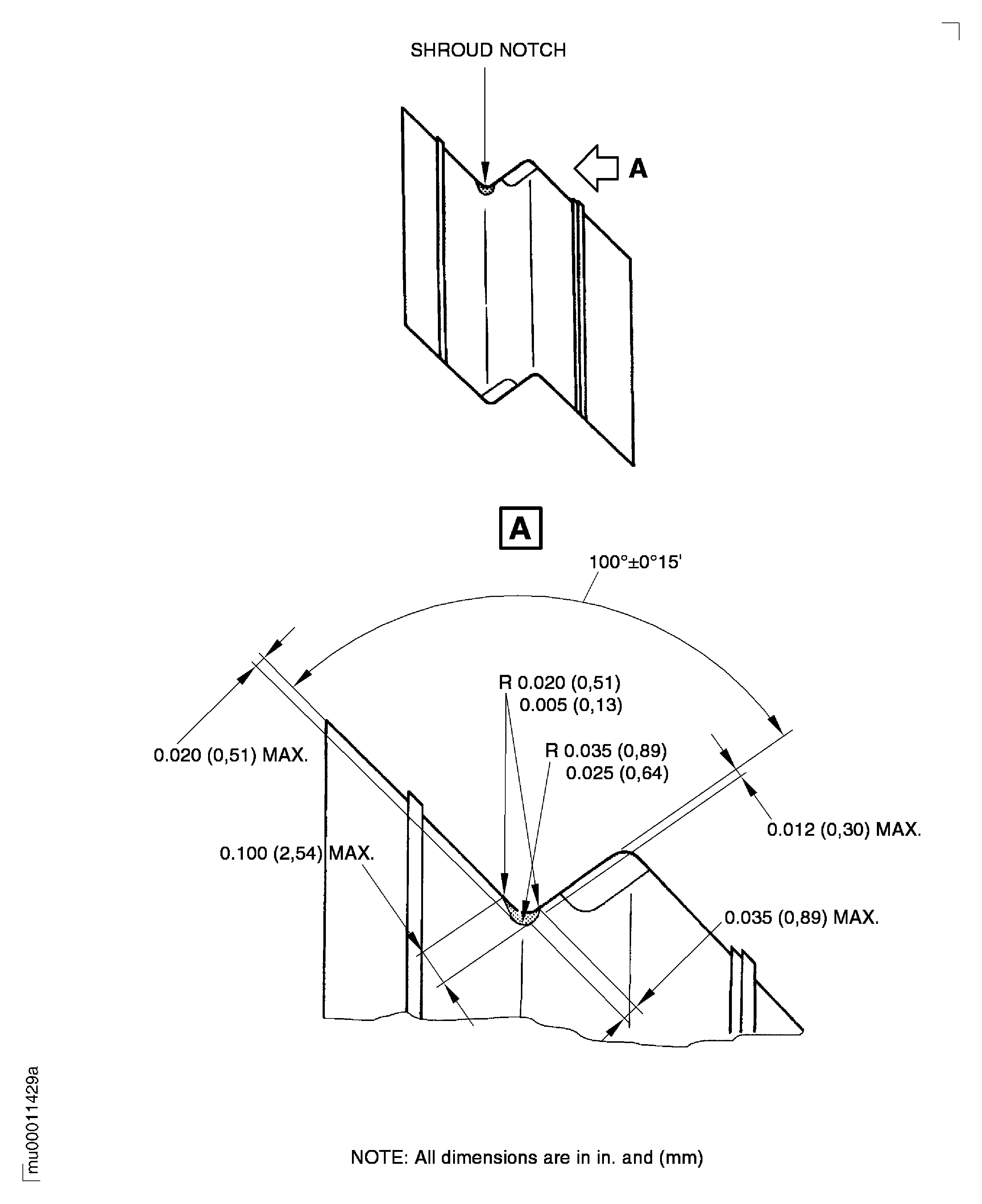
Do not change the shroud angles or other shroud dimension by blend repair.
Only one option can be applied to one notch radius.
Do not use rotating handtools.
SUBTASK 72-50-32-350-080 Blend Repair the Shroud Notch Radius Cracks of the Stage 3 Turbine Blade
Figure: Repair Details and Dimensions
Repair Details and Dimensions

Figure: Repair Details and Dimensions
Sheet 2

Figure: Repair Details and Dimensions
Repair Details and Dimensions

Figure: Repair Details and Dimensions
Sheet 2

