DMC:V2500-A0-72-50-3205-02A-649A-CIssue No:002.00Issue Date:2013-11-01
Export Control
EAR Export Classification: Not subject to the EAR per 15 C.F.R. Chapter 1, Part 734.3(b)(3), except for the following Service Bulletins which are currently published as EAR Export Classification 9E991: SBE70-0992, SBE72-0483, SBE72-0580, SBE72-0588, SBE72-0640, SBE73-0209, SBE80-0024 and SBE80-0025.Copyright
© IAE International Aero Engines AG (2001, 2014 - 2021) The information contained in this document is the property of © IAE International Aero Engines AG and may not be copied or used for any purpose other than that for which it is supplied without the express written authority of © IAE International Aero Engines AG. (This does not preclude use by engine and aircraft operators for normal instructional, maintenance or overhaul purposes.).Applicability
All
Common Information
TASK 72-50-32-300-015 LPT Stage 5 Blade - Blend Repair Cracks In The Shroud Notch Radius, Repair-015 (VRS4193)
General
Price and availability - none
The practices and processes referred to in the procedure by the TASK numbers are in the SPM.
Preliminary Requirements
Pre-Conditions
NONESupport Equipment
| Name | Manufacturer | Part Number / Identification | Quantity | Remark |
|---|---|---|---|---|
| Dial caliper | LOCAL | Dial caliper | ||
| Illuminated comparator magnifier | LOCAL | Illuminated comparator magnifier | ||
| Radius gage set | LOCAL | Radius gage set |
Consumables, Materials and Expendables
NONESpares
NONESafety Requirements
NONEProcedure
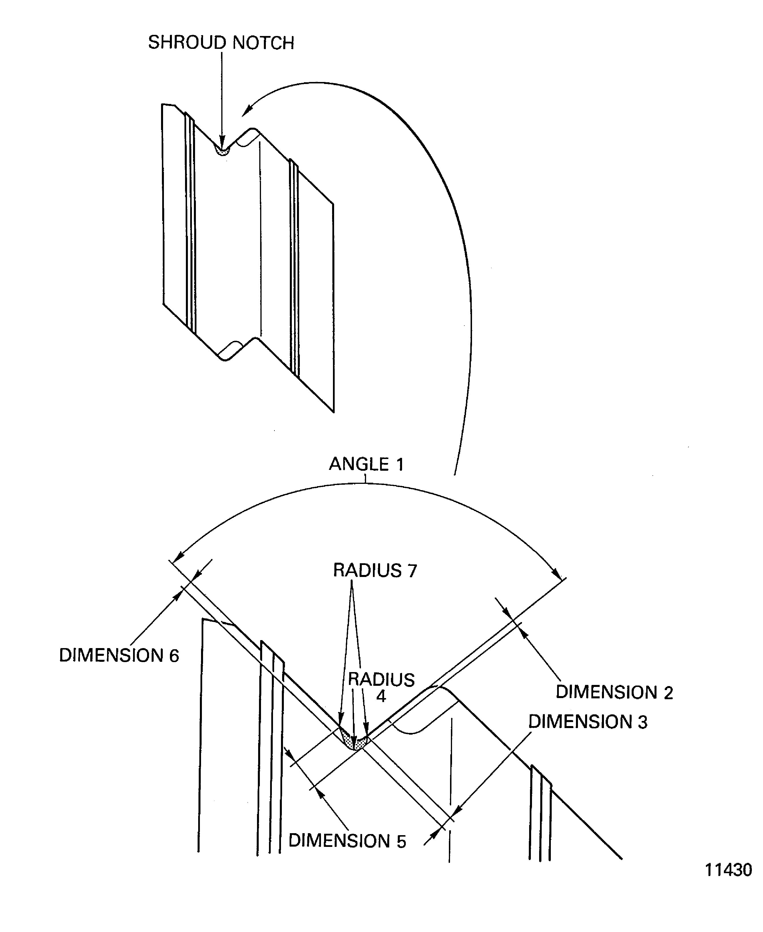
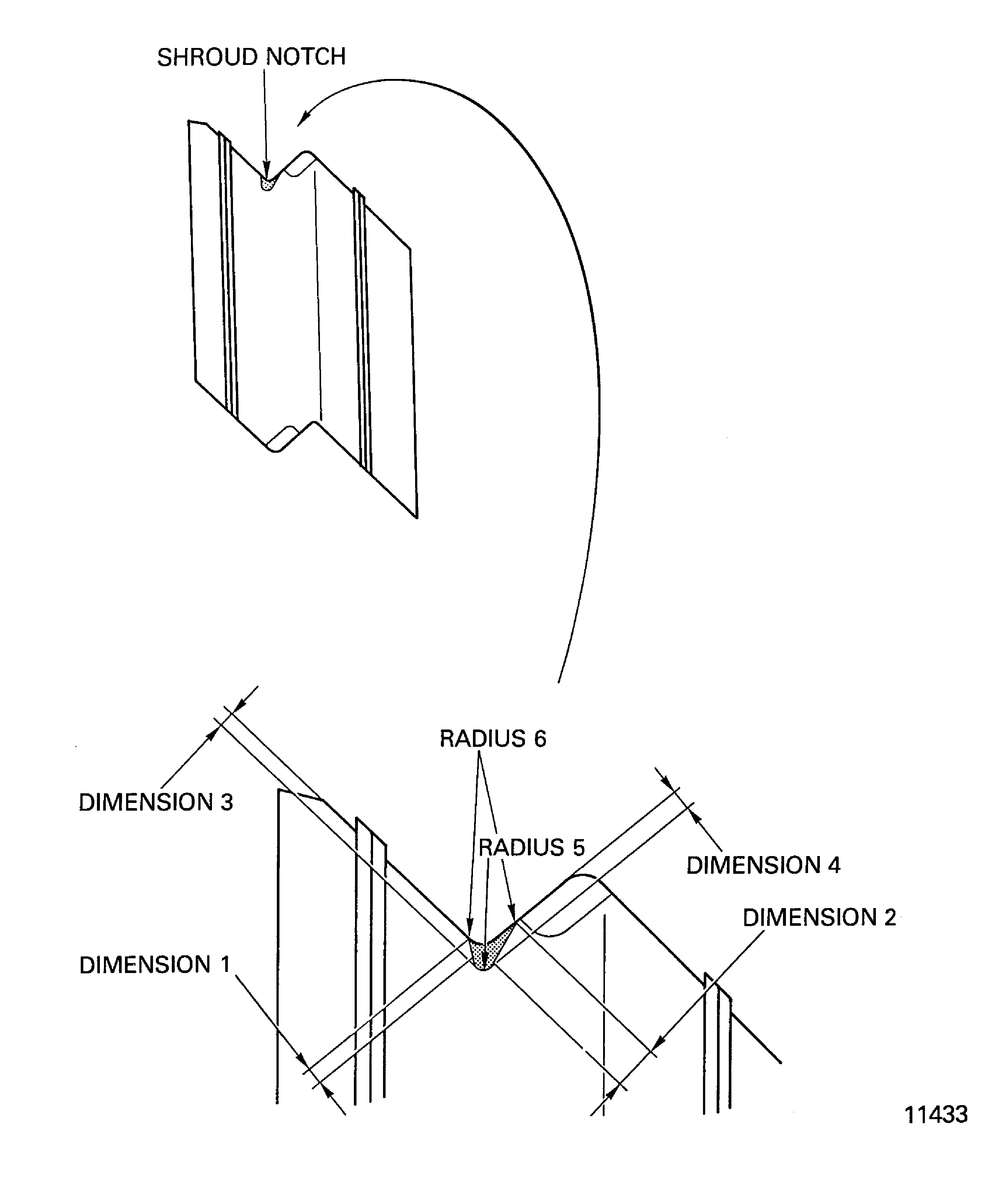
Refer to Figure or Fig. 72-50-32-990-030 for the maximum permitted depth of the blend repairs.
Blend repair the shroud notches.
SUBTASK 72-50-32-350-068 Blend Repair the Shroud Notch Radius Cracks of the Stage 5 Turbine Blade (01-100)
Figure: Blend repair of shroud notch radius cracks of the stage 5 turbine blade (01-100)
Sheet 1

Figure: Blend repair of shroud notch radius cracks of the stage 5 turbine blade (01-100)
Sheet 2

Figure: Blend repair of shroud notch radius cracks of the stage 5 turbine blade (01-100)
Sheet 1

Figure: Blend repair of shroud notch radius cracks of the stage 5 turbine blade (01-100)
Sheet 2

