DMC:V2500-A0-72-50-3207-02A-649A-CIssue No:002.00Issue Date:2013-11-01
Export Control
EAR Export Classification: Not subject to the EAR per 15 C.F.R. Chapter 1, Part 734.3(b)(3), except for the following Service Bulletins which are currently published as EAR Export Classification 9E991: SBE70-0992, SBE72-0483, SBE72-0580, SBE72-0588, SBE72-0640, SBE73-0209, SBE80-0024 and SBE80-0025.Copyright
© IAE International Aero Engines AG (2001, 2014 - 2021) The information contained in this document is the property of © IAE International Aero Engines AG and may not be copied or used for any purpose other than that for which it is supplied without the express written authority of © IAE International Aero Engines AG. (This does not preclude use by engine and aircraft operators for normal instructional, maintenance or overhaul purposes.).Applicability
All
Common Information
TASK 72-50-32-300-003 LPT Stage 7 Blade - Blend Repair Cracks On The Shroud Notch Radius, Repair-003 (VRS4181)
General
Price and availability - none
The practices and processes referred to in the procedure by the TASK numbers are in the SPM.
Preliminary Requirements
Pre-Conditions
NONESupport Equipment
| Name | Manufacturer | Part Number / Identification | Quantity | Remark |
|---|---|---|---|---|
| Dial caliper | LOCAL | Dial caliper | ||
| Illuminated comparator magnifier | LOCAL | Illuminated comparator magnifier | ||
| Radius gage set | LOCAL | Radius gage set |
Consumables, Materials and Expendables
NONESpares
NONESafety Requirements
NONEProcedure
SUBTASK 72-50-32-350-056 Blend Repair the Shroud Notch Radius Cracks of the Stage 7 Turbine Blades
NOTE
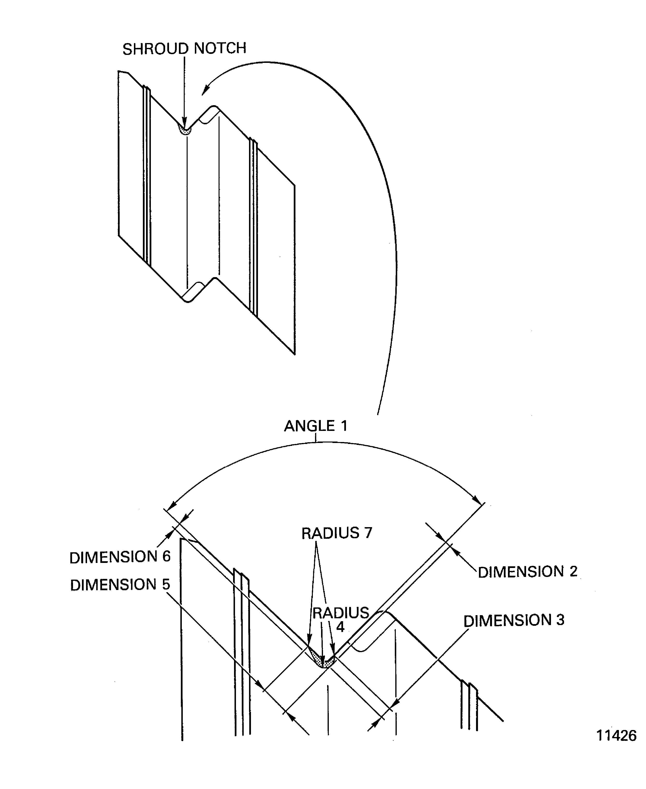
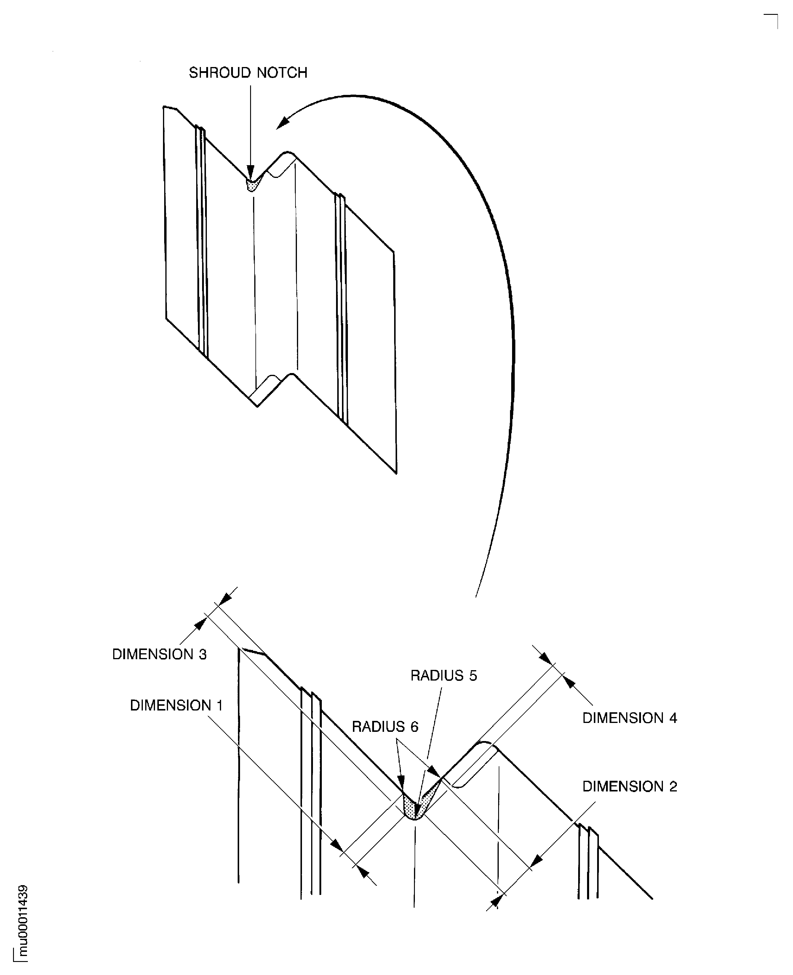
Do not change the shroud angles or other shroud dimension by blend repair.Keep the removal of material to the minimum necessary to remove the damage.Refer to Figure and Figure or Figure and Figure when you do the blend repair. Only one option can be applied to one notch radius.Do not use rotating handtools.
Figure: Blend repair of shroud notch radius cracks of the stage 7 turbine blades
Sheet 1

Figure: Blend repair of shroud notch radius cracks of the stage 7 turbine blades
Sheet 2

Figure: Blend repair of shroud notch radius cracks of the stage 7 turbine blades
Sheet 1

Figure: Blend repair of shroud notch radius cracks of the stage 7 turbine blades
Sheet 2

