DMC:V2500-A0-72-50-4204-02A-647A-CIssue No:002.00Issue Date:2013-11-01
Export Control
EAR Export Classification: Not subject to the EAR per 15 C.F.R. Chapter 1, Part 734.3(b)(3), except for the following Service Bulletins which are currently published as EAR Export Classification 9E991: SBE70-0992, SBE72-0483, SBE72-0580, SBE72-0588, SBE72-0640, SBE73-0209, SBE80-0024 and SBE80-0025.Copyright
© IAE International Aero Engines AG (2001, 2014 - 2021) The information contained in this document is the property of © IAE International Aero Engines AG and may not be copied or used for any purpose other than that for which it is supplied without the express written authority of © IAE International Aero Engines AG. (This does not preclude use by engine and aircraft operators for normal instructional, maintenance or overhaul purposes.).Applicability
All
Common Information
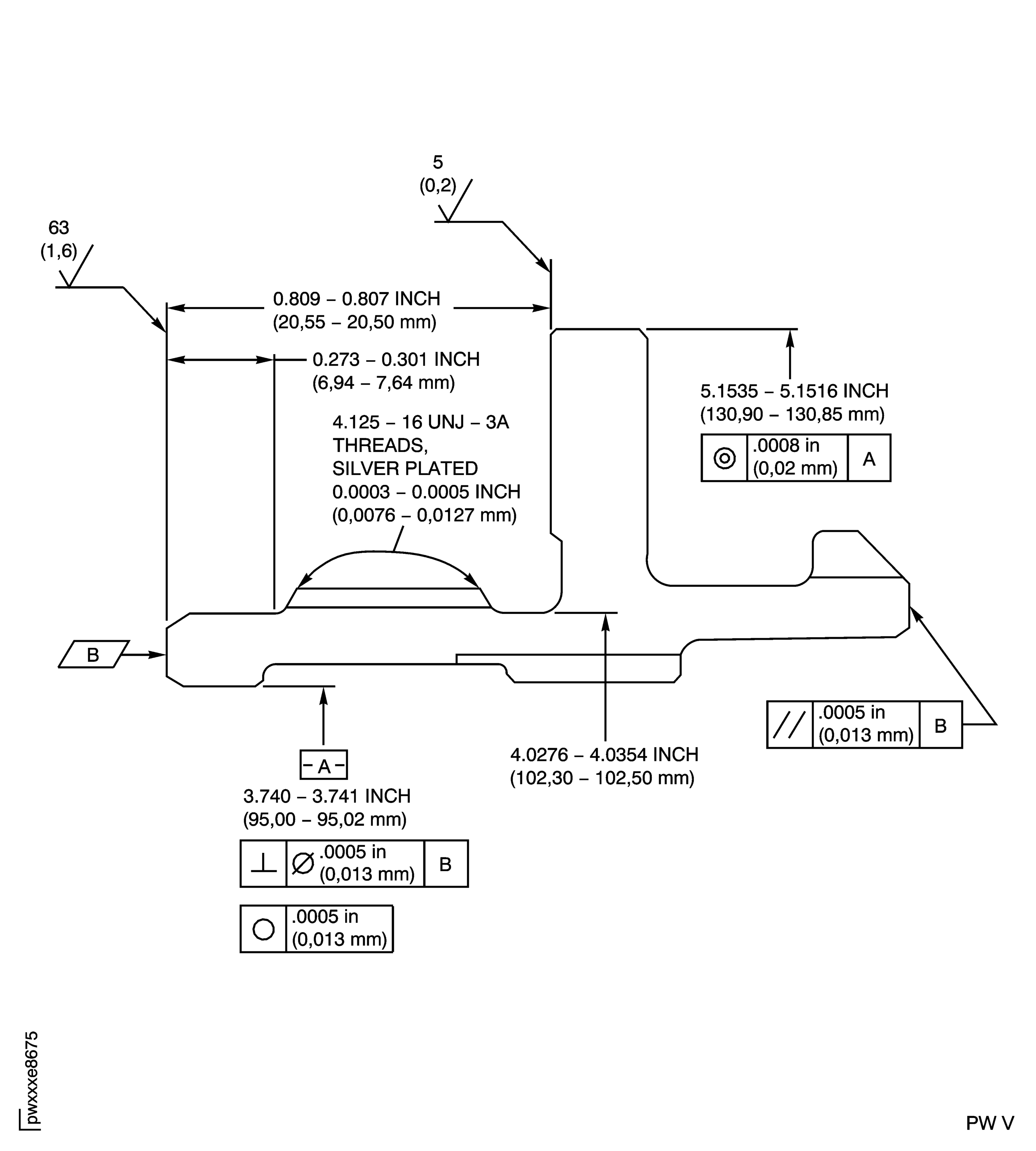
TASK 72-50-42-300-023 No. 5 Bearing Seal Rear Spacer - Restore The Silver Plating On The Threads, Repair-023 (VRS5638)
General
Price and availability - refer to IAE
The practices and processes referred to in the procedure by the TASK numbers are in the SPM.
NOTE
Consumable materials are listed in the SPM.
Preliminary Requirements
Pre-Conditions
NONESupport Equipment
| Name | Manufacturer | Part Number / Identification | Quantity | Remark |
|---|---|---|---|---|
| Workshop inspection equipment | LOCAL | Workshop inspection equipment | ||
| Grinding machine | LOCAL | Grinding machine | ||
| Process Plating Tanks | LOCAL | Process plating tanks |
Consumables, Materials and Expendables
NONESpares
NONESafety Requirements
NONEProcedure
Refer to Figure.
Refer to the SPM TASK 70-33-16-300-503.
The thickness of the plating is 0.0003 to 0.0005 in. (0.008 to 0.013 mm).
Machine or chemically remove the damaged silver plating.
SUBTASK 72-50-42-320-057 Remove the Damaged Silver Plating
Refer to Figure.
SUBTASK 72-50-42-220-103 Do an Inspection of the Silver Plating
Refer to Figure.
SUBTASK 72-50-42-220-104 Postrequisite Repair Inspection
Figure: Repair Details and Dimensions
Repair Details and Dimensions

