DMC:V2500-A0-72-60-2101-07A-649A-CIssue No:003.00Issue Date:2018-08-01
Export Control
EAR Export Classification: Not subject to the EAR per 15 C.F.R. Chapter 1, Part 734.3(b)(3), except for the following Service Bulletins which are currently published as EAR Export Classification 9E991: SBE70-0992, SBE72-0483, SBE72-0580, SBE72-0588, SBE72-0640, SBE73-0209, SBE80-0024 and SBE80-0025.Copyright
© IAE International Aero Engines AG (2001, 2014 - 2021) The information contained in this document is the property of © IAE International Aero Engines AG and may not be copied or used for any purpose other than that for which it is supplied without the express written authority of © IAE International Aero Engines AG. (This does not preclude use by engine and aircraft operators for normal instructional, maintenance or overhaul purposes.).Applicability
All
Common Information
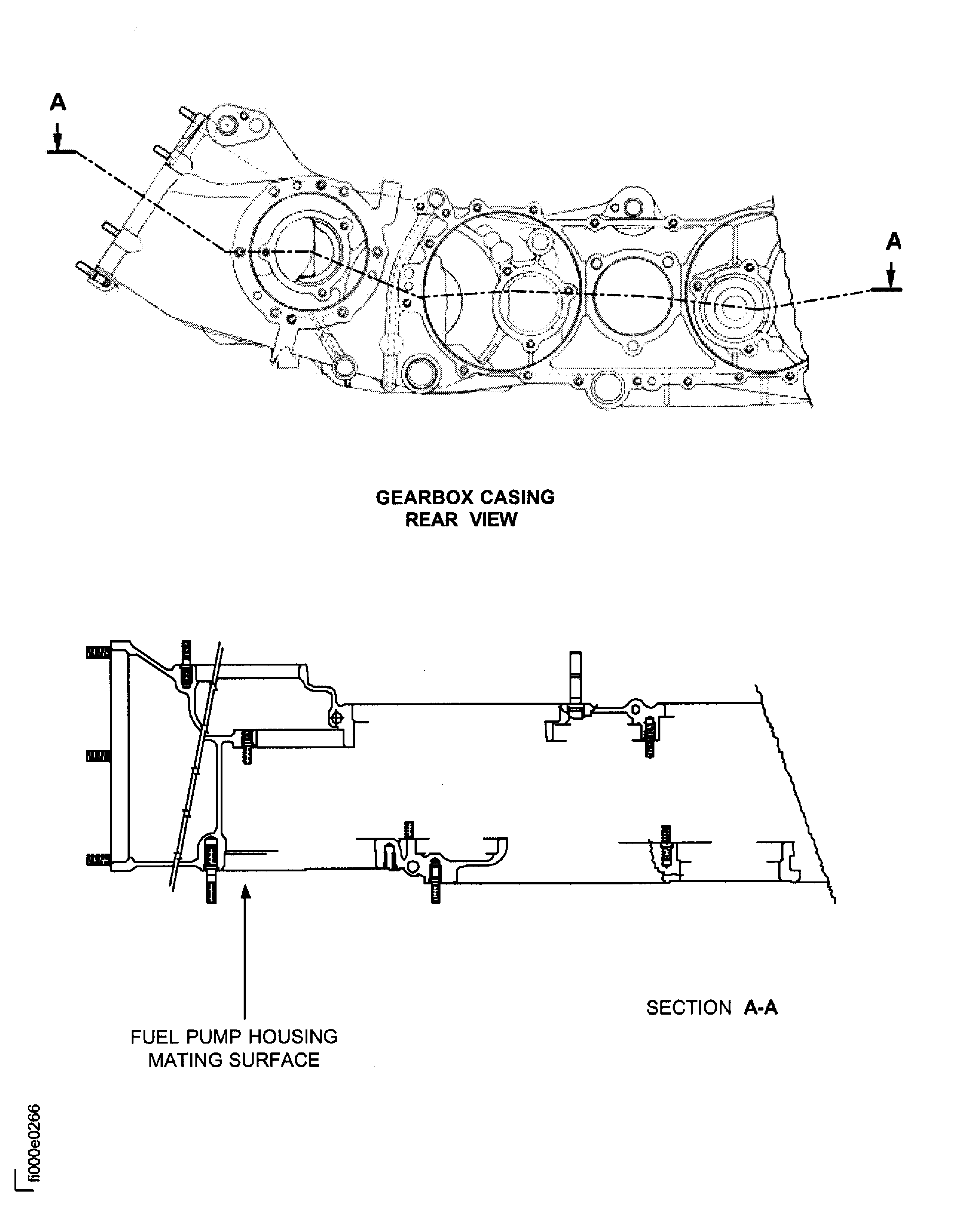
TASK 72-60-21-300-036 Main Gearbox Casing - Blend Repair On The Mating Surface Of The Fuel Pump Housing, Repair-036 (VRS5263)
Effectivity
FIG/ITEM | PART NO. |
|---|---|
02-050 | 4B0053 |
02-050 | 4B0054 |
02-050 | 4B0055 |
02-050 | 4B0057 |
02-050 | 4B0400 |
02-050 | 4B0402 |
02-050 | 4B0423 |
General
The practices and processes referred to in the procedure by the TASK numbers are in the SPP.
NOTE
To identify the consumable materials, refer to the PCI.
Preliminary Requirements
Pre-Conditions
NONESupport Equipment
NONEConsumables, Materials and Expendables
| Name | Manufacturer | Part Number / Identification | Quantity | Remark |
|---|---|---|---|---|
| CoMat 02-140 TRIANGULAR INDIA STONE, FINE GRIT | LOCAL | CoMat 02-140 |
Spares
NONESafety Requirements
NONEProcedure
Refer to Figure.
Refer to the SPM TASK 70-35-03-300-501.
Hand polish and blend. The maximum depth of the blending is 0.01 in. (0.25 mm).
Repair the surface.
SUBTASK 72-60-21-350-163 Repair the Mating Surface
Figure: Repair detail and dimensions
Repair detail and dimensions

