DMC:V2500-A0-72-60-2204-02A-647A-CIssue No:002.00Issue Date:2016-02-01
Export Control
EAR Export Classification: Not subject to the EAR per 15 C.F.R. Chapter 1, Part 734.3(b)(3), except for the following Service Bulletins which are currently published as EAR Export Classification 9E991: SBE70-0992, SBE72-0483, SBE72-0580, SBE72-0588, SBE72-0640, SBE73-0209, SBE80-0024 and SBE80-0025.Copyright
© IAE International Aero Engines AG (2001, 2014 - 2021) The information contained in this document is the property of © IAE International Aero Engines AG and may not be copied or used for any purpose other than that for which it is supplied without the express written authority of © IAE International Aero Engines AG. (This does not preclude use by engine and aircraft operators for normal instructional, maintenance or overhaul purposes.).Applicability
All
Common Information
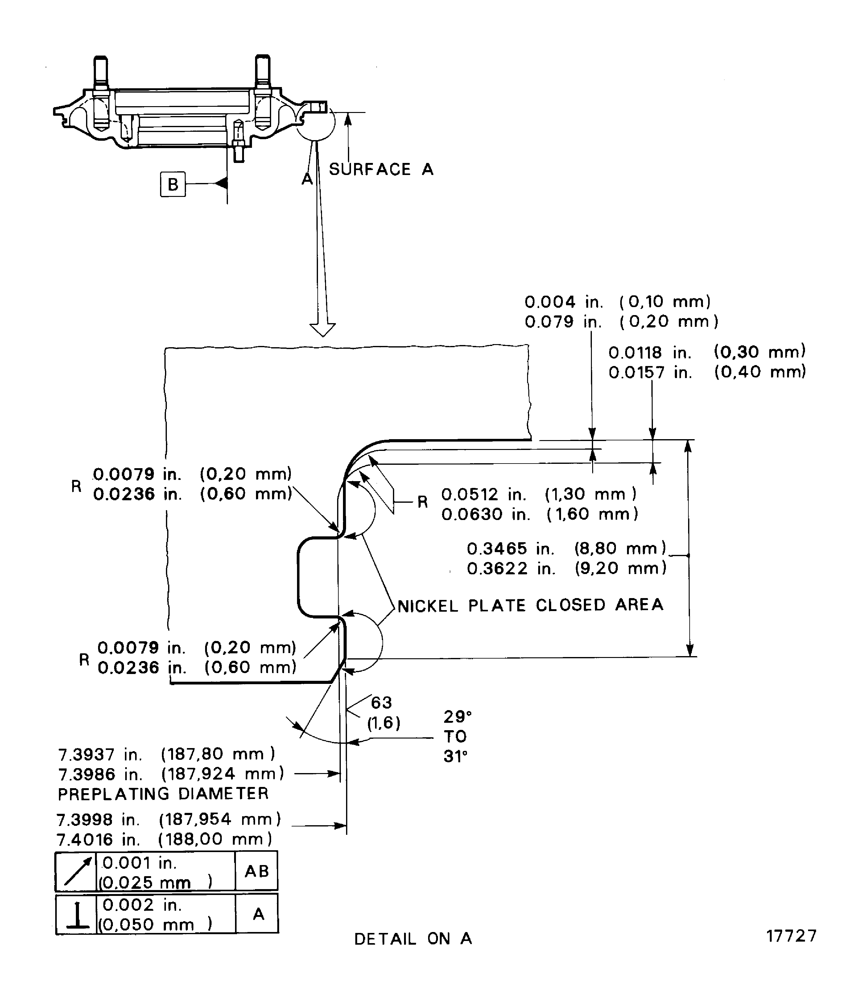
TASK 72-60-22-300-013 Starter Drive Gear Housing - Nickel Plate The Housing Piloting Diameters, Repair-013 (VRS5033)
General
The practices and processes referred to in the procedure by the TASK number are in the SPM.
NOTE
To identify the consumable materials refer to the PCI.
Preliminary Requirements
Pre-Conditions
NONESupport Equipment
| Name | Manufacturer | Part Number / Identification | Quantity | Remark |
|---|---|---|---|---|
| Workshop inspection equipment | LOCAL | Workshop inspection equipment | ||
| Grinding machine | LOCAL | Grinding machine | ||
| FPI inspection station | LOCAL | FPI inspection station | (Refer to SPM TASK 70-23-01-230-501) | |
| Vapor degreaser | LOCAL | Vapor degreaser | (Refer to SPM TASK 70-11-01-300-503) | |
| Process Plating Tanks | LOCAL | Process plating tanks | (Refer to SPM TASK 70-33-08-300-503) | |
| Furnace | LOCAL | Furnace | ||
| Magnifying glass | LOCAL | Magnifying glass | ||
| Vibrating marking pencil | LOCAL | Vibrating marking pencil |
Consumables, Materials and Expendables
| Name | Manufacturer | Part Number / Identification | Quantity | Remark |
|---|---|---|---|---|
| CoMat 01-001 SOLVENT, DELETED | 0AM53 | CoMat 01-001 | ||
| CoMat 01-027 HYDROFLUORIC ACID | LOCAL | CoMat 01-027 | ||
| CoMat 01-058 NITRIC ACID HNO3 | LOCAL | CoMat 01-058 | ||
| CoMat 01-112 ALKALINE SILICATE DEGREASER | 23373 | CoMat 01-112 | ||
| CoMat 01-343 DELETED | 0AM53 | CoMat 01-343 | ||
| CoMat 02-067 STRIPPABLE COATING | 71410 | CoMat 02-067 | ||
| CoMat 03-230 PLATING MATERIAL | LOCAL | CoMat 03-230 | ||
| CoMat 03-231 PLATING MATERIAL | LOCAL | CoMat 03-231 |
Spares
NONESafety Requirements
NONEProcedure
Refer to Figure.
SUBTASK 72-60-22-320-055 Machine the Piloting Diameter of the Housing
Refer to Figure.
SUBTASK 72-60-22-330-053 Nickel Plate the Piloting Diameter of the Housing
Refer to Figure.
SUBTASK 72-60-22-320-056 Machine the Piloting Diameter of the Housing
Figure: Repair details and dimension
Repair details and dimension

