DMC:V2500-A0-72-60-2304-00A-647A-CIssue No:001.00Issue Date:2013-11-01
Export Control
EAR Export Classification: Not subject to the EAR per 15 C.F.R. Chapter 1, Part 734.3(b)(3), except for the following Service Bulletins which are currently published as EAR Export Classification 9E991: SBE70-0992, SBE72-0483, SBE72-0580, SBE72-0588, SBE72-0640, SBE73-0209, SBE80-0024 and SBE80-0025.Copyright
© IAE International Aero Engines AG (2001, 2014 - 2021) The information contained in this document is the property of © IAE International Aero Engines AG and may not be copied or used for any purpose other than that for which it is supplied without the express written authority of © IAE International Aero Engines AG. (This does not preclude use by engine and aircraft operators for normal instructional, maintenance or overhaul purposes.).Applicability
All
Common Information
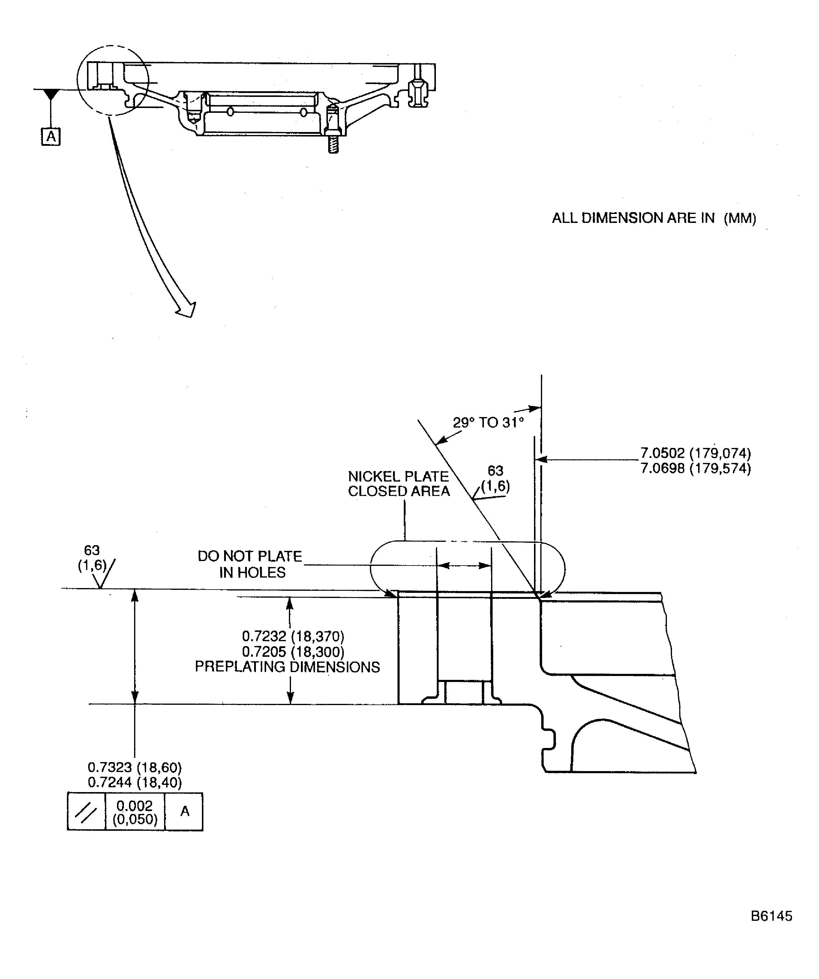
TASK 72-60-23-300-004 Hydraulic Pump Drive Gear Housing - Nickel Plate The Hydraulic Pump Mating Surface, Repair-004 (VRS5037)
General
Price and availability - none
The practices and processes referred to in the procedure by the TASK numbers are in the SPM.
NOTE
To identify the consumable materials refer to the PCI.
Other consumable materials are given in the SPM.
Preliminary Requirements
Pre-Conditions
NONESupport Equipment
| Name | Manufacturer | Part Number / Identification | Quantity | Remark |
|---|---|---|---|---|
| Basket | LOCAL | Basket | ||
| Grinding machine | LOCAL | Grinding machine | ||
| Magnifying glass, 4x | LOCAL | Magnifying glass, 4x | ||
| Oven | LOCAL | Oven | ||
| Penetrant Crack Test Equipment | LOCAL | Penetrant crack test equipment | ||
| Process Plating Tanks | LOCAL | Process plating tanks | ||
| Vibro-engraving equipment | LOCAL | Vibro-engraving equipment | ||
| Workshop inspection equipment | LOCAL | Workshop inspection equipment |
Consumables, Materials and Expendables
| Name | Manufacturer | Part Number / Identification | Quantity | Remark |
|---|---|---|---|---|
| CoMat 02-067 STRIPPABLE COATING | 71410 | CoMat 02-067 |
Spares
NONESafety Requirements
NONEProcedure
Refer to: Figure
SUBTASK 72-60-23-320-063 Machine the Hydraulic Pump Mating Surface of the Hydraulic Pump Housing
Refer to: Figure
Refer to the SPM TASK 70-33-08-300-503. Plate to a sufficient thickness to permit machining to the last dimensions. The plating out of the closed area is permitted, but must be removed.
Do the nickel plating.
SUBTASK 72-60-23-330-058 Nickel Plate the Hydraulic Pump Mating Surface of the Hydraulic Pump Housing
Refer to: Figure
SUBTASK 72-60-23-320-064 Machine the Hydraulic Pump Mating Surface of the Hydraulic Pump Housing
Refer to: Figure
SUBTASK 72-60-23-220-087 Examine the Nickel Plated Area
Figure: Repair Details and Dimensions
Repair Details and Dimensions

