DMC:V2500-A0-72-60-2304-02A-647A-CIssue No:001.00Issue Date:2013-11-01
Export Control
EAR Export Classification: Not subject to the EAR per 15 C.F.R. Chapter 1, Part 734.3(b)(3), except for the following Service Bulletins which are currently published as EAR Export Classification 9E991: SBE70-0992, SBE72-0483, SBE72-0580, SBE72-0588, SBE72-0640, SBE73-0209, SBE80-0024 and SBE80-0025.Copyright
© IAE International Aero Engines AG (2001, 2014 - 2021) The information contained in this document is the property of © IAE International Aero Engines AG and may not be copied or used for any purpose other than that for which it is supplied without the express written authority of © IAE International Aero Engines AG. (This does not preclude use by engine and aircraft operators for normal instructional, maintenance or overhaul purposes.).Applicability
All
Common Information
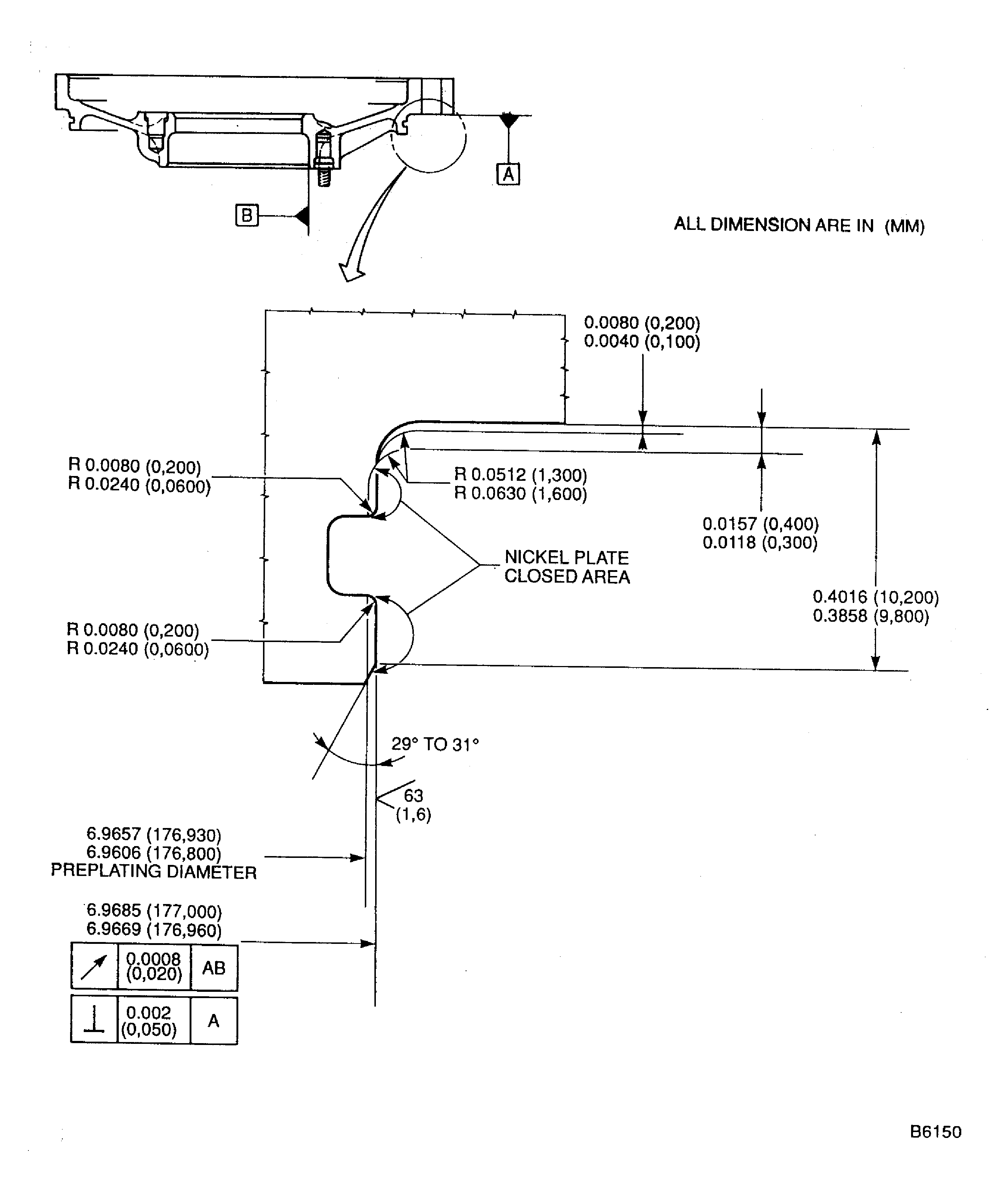
TASK 72-60-23-300-011 Hydraulic Pump Drive Gear Housing - Nickel Plate The Piloting Diameter, Repair-011 (VRS5044)
General
Price and availability - none
The practices and processes referred to in the procedure by the TASK numbers are in the SPM.
NOTE
To identify the consumable materials refer to the PCI.
Consumable materials are given in the SPM.
Preliminary Requirements
Pre-Conditions
NONESupport Equipment
| Name | Manufacturer | Part Number / Identification | Quantity | Remark |
|---|---|---|---|---|
| Basket | LOCAL | Basket | ||
| Grinding machine | LOCAL | Grinding machine | ||
| Magnifying glass, 4x | LOCAL | Magnifying glass, 4x | ||
| Oven | LOCAL | Oven | ||
| Penetrant Crack Test Equipment | LOCAL | Penetrant crack test equipment | ||
| Process Plating Tanks | LOCAL | Process plating tanks | ||
| Vibro-engraving equipment | LOCAL | Vibro-engraving equipment | ||
| Workshop inspection equipment | LOCAL | Workshop inspection equipment |
Consumables, Materials and Expendables
| Name | Manufacturer | Part Number / Identification | Quantity | Remark |
|---|---|---|---|---|
| CoMat 02-067 STRIPPABLE COATING | 71410 | CoMat 02-067 |
Spares
NONESafety Requirements
NONEProcedure
Refer to: Figure
SUBTASK 72-60-23-320-075 Machine the Piloting Diameter of the Hydraulic Pump Housing
Refer to: Figure
Refer to the SPM TASK 70-33-08-300-503.
Plate to a sufficient thickness to permit machining to the last dimension. The plating out of the close area is permitted, but must be removed.
Do the nickel plating.
SUBTASK 72-60-23-330-066 Nickel Plate the Piloting Diameter of the Hydraulic Pump Housing
Refer to: Figure
SUBTASK 72-60-23-320-076 Machine the Piloting Diameter of the Hydraulic Pump Housing
Refer to: Figure
SUBTASK 72-60-23-220-094 Examine the Nickel Plated Area
Figure: Repair Details and Dimensions
Repair Details and Dimensions

