Export Control
EAR Export Classification: Not subject to the EAR per 15 C.F.R. Chapter 1, Part 734.3(b)(3), except for the following Service Bulletins which are currently published as EAR Export Classification 9E991: SBE70-0992, SBE72-0483, SBE72-0580, SBE72-0588, SBE72-0640, SBE73-0209, SBE80-0024 and SBE80-0025.Copyright
© IAE International Aero Engines AG (2001, 2014 - 2021) The information contained in this document is the property of © IAE International Aero Engines AG and may not be copied or used for any purpose other than that for which it is supplied without the express written authority of © IAE International Aero Engines AG. (This does not preclude use by engine and aircraft operators for normal instructional, maintenance or overhaul purposes.).Applicability
All
Common Information
TASK 72-60-23-300-007 Hydraulic Pump Drive Gear Housing - Repair The Seal Housing Bore By Bushing, Repair-007 (VRS5040)
Material of component
RR | ||
|---|---|---|
DESCRIPTION SYMBOL MATERIAL | ||
Housing | - | Aluminum alloy |
Bushing | - | Wrought aluminum base alloy |
General
Price and availability - none
The practices and processes referred to in the procedure by the TASK numbers are in the SPM.
NOTE
To identify the consumable materials refer to the PCI.
Other consumable materials are given in the SPM.
Preliminary Requirements
Pre-Conditions
NONESupport Equipment
| Name | Manufacturer | Part Number / Identification | Quantity | Remark |
|---|---|---|---|---|
| IAE 3F10348 Drift, bushing (DIA 175) | 0AM53 | IAE 3F10348 | 1 | |
| Magnifying Glass, 5x | LOCAL | Magnifying Glass, 5x | ||
| Oven | LOCAL | Oven | ||
| Penetrant Crack Test Equipment | LOCAL | Penetrant crack test equipment | ||
| Process Plating Tanks | LOCAL | Process plating tanks | ||
| Vibro-engraving equipment | LOCAL | Vibro-engraving equipment |
Consumables, Materials and Expendables
| Name | Manufacturer | Part Number / Identification | Quantity | Remark |
|---|---|---|---|---|
| CoMat 01-001 SOLVENT, DELETED | X111X | CoMat 01-001 |
Safety Requirements
NONEProcedure
Refer to Figure.
SUBTASK 72-60-23-320-069 Machine the Seal Housing Bore in the Hydraulic Pump Housing
Refer to the SPM TASK 70-38-02-300-503.
Apply the chromate conversion coating to the machined surfaces.
SUBTASK 72-60-23-330-061 Apply the Chromate Conversion Coating
Refer to Figure

CAUTION
MAKE SURE THAT THE LEAD IN CHAMFER OF THE BUSHING POINTS AWAY FROM THE DRIFT.NOTE
The difference in temperature between the parts must be 216 deg F (120 deg C).Install the bushing on the IAE 3F10348 Drift, bushing (DIA 175) 1 off.
Give sufficient back-up support at bushing bore area, to prevent housing distortion, when you install the bushing.
Use IAE 3F10348 Drift, bushing (DIA 175) drift and an arbor press.
Install the bushing into the machined bore.
SUBTASK 72-60-23-350-070 Install the Bushing

WARNING
DO NOT TOUCH THE HOT PARTS WITHOUT PROTECTIVE GLOVES.HOT PARTS CAN CAUSE REDDENING AND BLISTERING OF THE SKIN, IF THE HANDS ARE NOT PROTECTED.IMMERSE THE CONTACTED AREA IN COLD WATER FOR 10 MINUTES, IF THE SKIN IS BURNED. IMMEDIATELY GET MEDICAL ATTENTION IF PAIN OR BLISTERING PERSISTS.
CAUTION
INSTALL BUSHING IN MACHINED BORE IMMEDIATELY AFTER REMOVAL FROM FREEZER, OTHERWISE BUSHING CANNOT BE CORRECTLY INSTALLED.Refer to Figure
SUBTASK 72-60-23-320-070 Machine the Inner Diameter of the Bushing
Refer to the SPM TASK 70-38-02-300-503.
Apply the chromate conversion coating to the machined surface of the bushing.
SUBTASK 72-60-23-330-062 Apply the Chromate Conversion Coating
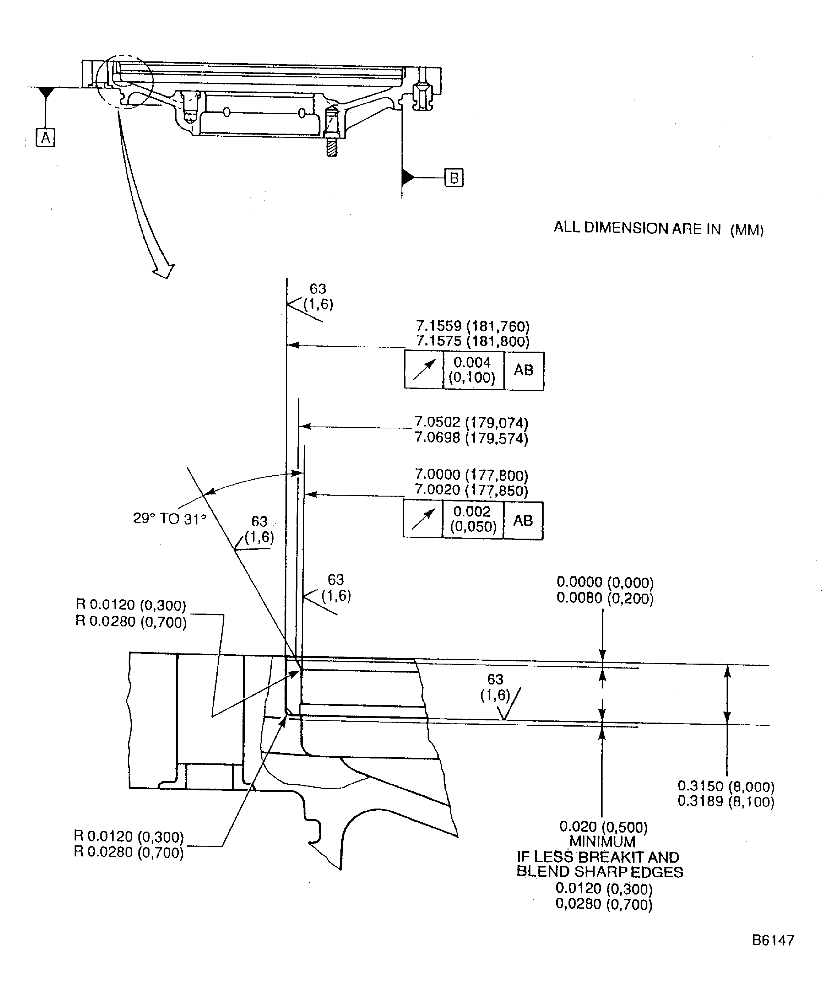
Figure: Repair Details And Dimensions
Repair Details And Dimensions

