Export Control
EAR Export Classification: Not subject to the EAR per 15 C.F.R. Chapter 1, Part 734.3(b)(3), except for the following Service Bulletins which are currently published as EAR Export Classification 9E991: SBE70-0992, SBE72-0483, SBE72-0580, SBE72-0588, SBE72-0640, SBE73-0209, SBE80-0024 and SBE80-0025.Copyright
© IAE International Aero Engines AG (2001, 2014 - 2021) The information contained in this document is the property of © IAE International Aero Engines AG and may not be copied or used for any purpose other than that for which it is supplied without the express written authority of © IAE International Aero Engines AG. (This does not preclude use by engine and aircraft operators for normal instructional, maintenance or overhaul purposes.).Applicability
All
Common Information
TASK 72-60-25-040-001 Fuel Pump Drive Gear And Bearing Assembly - Disassemble The Gear Drive And Bearing Assembly, Disassembly-001
General
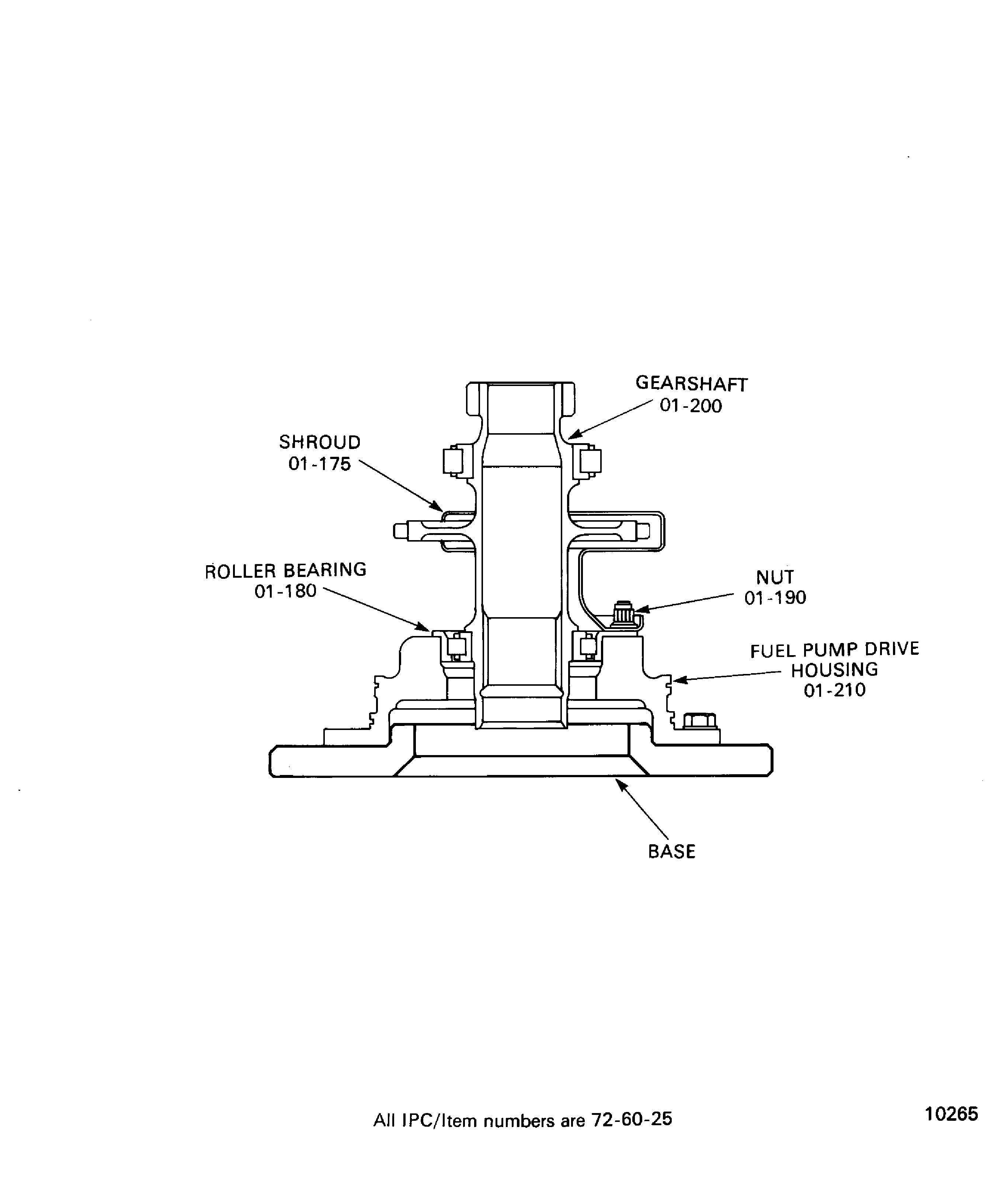
Fig/item numbers in parentheses in the procedure agree with those used in the IPC. Only the primary Fig/item numbers are used. For the service bulletin alpha variants refer to the IPC.
Apply the approved CoMat 10-058 PENETRATING OIL before the removal of threaded parts and parts with an interference fit. Let the parts soak before removal.
Discard all rubber seal rings, cotter pins and seal washers removed in this procedure.
NOTE
NOTE
Preliminary Requirements
Pre-Conditions
NONESupport Equipment
| Name | Manufacturer | Part Number / Identification | Quantity | Remark |
|---|---|---|---|---|
| Arbor Press | LOCAL | Arbor press | ||
| IAE 1F10166 Base, installation | 0AM53 | IAE 1F10166 | 1 | |
| Puller | 0AM53 | IAE 1F10158 | 1 | |
| IAE 1F10200 Base | 0AM53 | IAE 1F10200 | 1 | |
| IAE 1F10243 Half ring | 0AM53 | IAE 1F10243 | 2 | |
| IAE 1F10231 Drift | 0AM53 | IAE 1F10231 | 1 | |
| IAE 1F10232 Drift | 0AM53 | IAE 1F10232 | 1 | |
| IAE 1F10005 Pusher | 0AM53 | IAE 1F10005 | 1 |
Consumables, Materials and Expendables
| Name | Manufacturer | Part Number / Identification | Quantity | Remark |
|---|---|---|---|---|
| CoMat 10-058 PENETRATING OIL | 0AM53 | CoMat 10-058 |
Spares
NONESafety Requirements
NONEProcedure
Refer to Figure.
Install the fuel pump drive housing on IAE 1F10166 Base, installation 1 off. Install the bolts which attach the fuel pump drive housing to the base. Tighten the bolts.
SUBTASK 72-60-25-040-051 Remove the Gearshaft from the Fuel Pump Drive Housing
Remove the outer race of the roller bearing from the fuel pump drive housing. Use Puller 1 off.
SUBTASK 72-60-25-040-052 Remove the Outer Race of the Roller Bearing from the Fuel Pump Drive Housing
Refer to Figure.
Put IAE 1F10243 Half ring 2 off around and below the inner race of the roller bearing adjacent to the external splined end of the gearshaft.
Install the half rings and the gearshaft on IAE 1F10200 Base 1 off with the external splined end to the top.
Install IAE 1F10231 Drift 1 off in to the ID of the gearshaft. Push the drift until the gearshaft is fully removed from the inner race. Use arbor press or equivalent.
Install IAE 1F10232 Drift 1 off in to the ID of the gearshaft. Push the drift until the gearshaft is fully removed from the inner race. Use the arbor press or equivalent.
SUBTASK 72-60-25-040-053 Remove the Two Inner Races of the Roller Bearings from the Gearshaft
Refer to Figure.
Install the seal housing on the adapter of IAE 1F10005 Pusher 1 off with the carbon face to the bottom.
SUBTASK 72-60-25-040-054 Remove the Carbon Seal from the Seal Housing
Figure: Remove the gearshaft from the fuel pump drive housing
Remove the gearshaft from the fuel pump drive housing

Figure: Remove the inner races of the roller bearings from the gearshaft
Remove the inner races of the roller bearings from the gearshaft

Figure: Remove the carbon seal from the seal housing
Remove the carbon seal from the seal housing

