Export Control
EAR Export Classification: Not subject to the EAR per 15 C.F.R. Chapter 1, Part 734.3(b)(3), except for the following Service Bulletins which are currently published as EAR Export Classification 9E991: SBE70-0992, SBE72-0483, SBE72-0580, SBE72-0588, SBE72-0640, SBE73-0209, SBE80-0024 and SBE80-0025.Copyright
© IAE International Aero Engines AG (2001, 2014 - 2021) The information contained in this document is the property of © IAE International Aero Engines AG and may not be copied or used for any purpose other than that for which it is supplied without the express written authority of © IAE International Aero Engines AG. (This does not preclude use by engine and aircraft operators for normal instructional, maintenance or overhaul purposes.).Applicability
All
Common Information
TASK 72-60-25-300-006 Fuel Pump Drive Gear Housing - Repair The Bearing Mating Surface By Flanged Bushing, Repair-006 (VRS5051)
General
Material of component
RR | ||
|---|---|---|
DESCRIPTION | SYMBOL | MATERIAL |
Housing | - | Aluminum alloy |
Flanged bushing | - | Wrought aluminum base ally |
Price and availability - none
The practices and processes referred to in the procedure by the TASK numbers are in the SPM.
NOTE
Preliminary Requirements
Pre-Conditions
NONESupport Equipment
| Name | Manufacturer | Part Number / Identification | Quantity | Remark |
|---|---|---|---|---|
| Arbor Press | LOCAL | Arbor press | ||
| Fluorescent Penetrant Inspection Equipment | LOCAL | Fluorescent penetrant inspection equipment | ||
| Freezer | LOCAL | Freezer | ||
| IAE 3F10428 Guide pin | 0AM53 | IAE 3F10428 | ||
| IAE 3F10336 Drift, bushing (dia 67) | 0AM53 | IAE 3F10336 | ||
| Magnifying Glass, 5x | LOCAL | Magnifying Glass, 5x | ||
| Oven | LOCAL | Oven | ||
| Vibrating Marking Pencil | LOCAL | Vibrating Marking Pencil |
Consumables, Materials and Expendables
| Name | Manufacturer | Part Number / Identification | Quantity | Remark |
|---|---|---|---|---|
| CoMat 01-001 SOLVENT, DELETED | X111X | CoMat 01-001 |
Safety Requirements
NONEProcedure
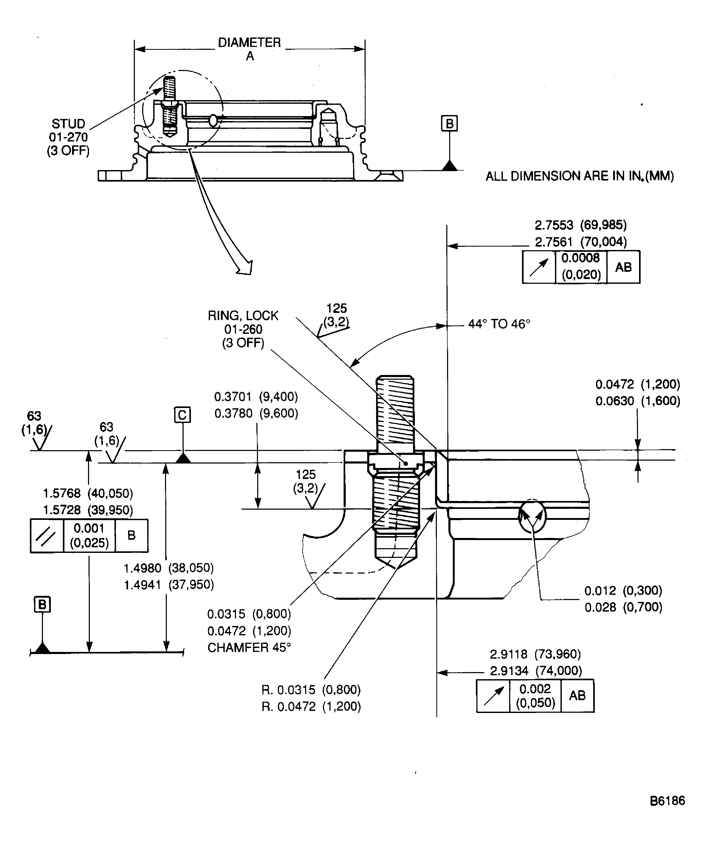
Refer to Figure.
SUBTASK 72-60-25-350-065 Remove the Studs (3 off)
Refer to Figure.
SUBTASK 72-60-25-320-063 Machine the Bearing Seat of the Fuel Pump Drive Housing
Refer to Figure.
SUBTASK 72-60-25-320-064 Machine the Bearing Mating Surface of the Fuel Pump Drive Housing
Use a Magnifying Glass, 5x.
Inspect the housing for cracks in the area of the bearing seat.
SUBTASK 72-60-25-220-070 Examine the Fuel Pump Drive Housing
Refer to SPM TASK 70-38-02-300-503.
Apply the chromate conversion coating to the machined surfaces.
SUBTASK 72-60-25-330-058 Apply the Chromate Conversion Coating
Refer to Figure.
Put IAE 3F10428 Guide pin 1 off in threaded hole, in bearing mating surface, adjacent to machined bearing seat.
Install the guide pins.
Install the bushing in the IAE 3F10336 Drift, bushing (dia 67) 1 off.
Do not increase the temperature of the housing above 284 deg F (140 deg C). Do not decrease the temperature of the assembled drift and bushing below -58 deg F (-50 deg C).

WARNING
DO NOT TOUCH THE PARTS WITHOUT PROTECTIVE GLOVES.HOT PARTS CAN CAUSE REDDENING AND BLISTERING OF THE SKIN IF THE HANDS ARE NOT PROTECTED.IMMERSE THE CONTACTED AREA IN COLD WATER FOR 10 MINUTES IF THE SKIN IS BURNED. IMMEDIATELY GET MEDICAL ATTENTION IF PAIN OR BLISTERING PERSISTS.Increase the temperature of the housing and/or decrease the temperature of the assembled drift and bushing.
Use IAE 3F10336 Drift, bushing (dia 67) 1 off.
Give sufficient back-up support at bushing bore area, to prevent housing distortion, when you install the bushing.

CAUTION
INSTALL BUSHING IN MACHINED BORE IMMEDIATELY AFTER REMOVAL FROM FREEZER; OTHERWISE BUSHING CANNOT BE CORRECTLY INSTALLED.Install the flanged bushing into machined bearing seat.
SUBTASK 72-60-25-350-066 Install the Flanged Bushing
Refer to Figure.
SUBTASK 72-60-25-320-065 Machine the Inner Diameter of the Bushing
Refer to Figure.
SUBTASK 72-60-25-320-066 Machine the Flange Surface of the Bushing
Refer to SPM TASK 70-38-02-300-503.
Apply the chromate conversion coating to the machined surfaces of the bushing.
SUBTASK 72-60-25-330-059 Apply the Chromate Conversion Coating
Refer to Figure.
SUBTASK 72-60-25-350-067 Install the New Insert
Remove the metal lifted by marking. Use Vibrating Marking Pencil.
Vibro engrave VRS5051 adjacent to the part number.
SUBTASK 72-60-25-350-068 Record the Repair
Figure: Repair The Bearing Mating Surface
Repair The Bearing Mating Surface

