DMC:V2500-A0-72-60-2504-04A-647A-CIssue No:003.00Issue Date:2015-05-01
Export Control
EAR Export Classification: Not subject to the EAR per 15 C.F.R. Chapter 1, Part 734.3(b)(3), except for the following Service Bulletins which are currently published as EAR Export Classification 9E991: SBE70-0992, SBE72-0483, SBE72-0580, SBE72-0588, SBE72-0640, SBE73-0209, SBE80-0024 and SBE80-0025.Copyright
© IAE International Aero Engines AG (2001, 2014 - 2021) The information contained in this document is the property of © IAE International Aero Engines AG and may not be copied or used for any purpose other than that for which it is supplied without the express written authority of © IAE International Aero Engines AG. (This does not preclude use by engine and aircraft operators for normal instructional, maintenance or overhaul purposes.).Applicability
All
Common Information
TASK 72-60-25-300-012 Fuel Pump Drive Gear Housing - Nickel Plate The Small Piloting Diameter, Repair-012 (VRS5057)
General
NOTE
To identify the consumable materials refer to PCI.
Consumable materials are given in SPM.
Preliminary Requirements
Pre-Conditions
NONESupport Equipment
| Name | Manufacturer | Part Number / Identification | Quantity | Remark |
|---|---|---|---|---|
| Workshop inspection equipment | LOCAL | Workshop inspection equipment | ||
| Grinding machine | LOCAL | Grinding machine | ||
| FPI inspection station | LOCAL | FPI inspection station | ||
| Basket | LOCAL | Basket | ||
| Vapor degreaser | LOCAL | Vapor degreaser | ||
| Process Plating Tanks | LOCAL | Process plating tanks | ||
| Oven | LOCAL | Oven | ||
| Magnifying glass, 4x | LOCAL | Magnifying glass, 4x | ||
| Vibrating marking pencil | LOCAL | Vibrating marking pencil |
Consumables, Materials and Expendables
| Name | Manufacturer | Part Number / Identification | Quantity | Remark |
|---|---|---|---|---|
| CoMat 02-067 STRIPPABLE COATING | 71410 | CoMat 02-067 |
Spares
NONESafety Requirements
NONEProcedure
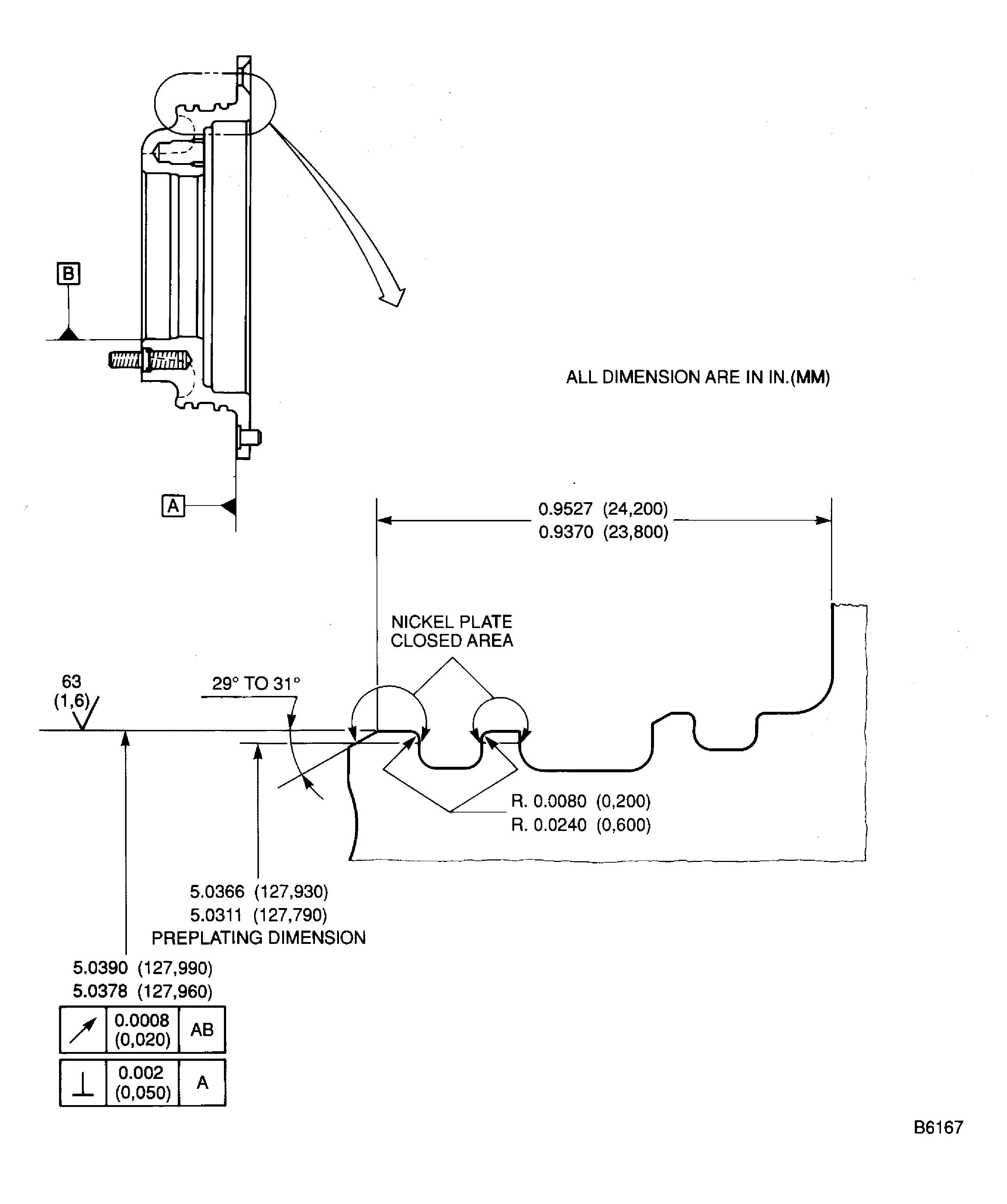
Refer to Figure.
SUBTASK 72-60-25-320-073 Machine the Small Piloting Diameter of the Fuel Pump Drive Housing
Refer to the SPM TASK 70-23-01-230-501.
No cracks are permitted.
Do the fluorescent penetrant inspection for cracks.
SUBTASK 72-60-25-230-054 Examine the Housing
Refer to Figure.
Refer to the SPM TASK 70-33-08-300-503.
Plate to a sufficient thickness to permit the machining to the last dimensions indicated in the reference figure.
The plating out of the close area is permitted but must be removed.
Do the nickel plating.
SUBTASK 72-60-25-330-066 Nickel Plate the Small Piloting Diameter of the Fuel Pump Drive Housing
Refer to Figure.
SUBTASK 72-60-25-320-074 Machine the Small Piloting Diameter of the Fuel Pump Drive Housing
Refer to Figure.
Use a Magnifying glass, 4x 1 off.
The natural network crack, emphasized by grinding, is permitted.
Do the visual inspection of the plated area for cracks and adhesion.
SUBTASK 72-60-25-220-075 Examine the Nickel Plated Area
Figure: Nickel plate the small piloting diameter of the fuel pump drive housing
Nickel plate the small piloting diameter of the fuel pump drive housing

