Export Control
EAR Export Classification: Not subject to the EAR per 15 C.F.R. Chapter 1, Part 734.3(b)(3), except for the following Service Bulletins which are currently published as EAR Export Classification 9E991: SBE70-0992, SBE72-0483, SBE72-0580, SBE72-0588, SBE72-0640, SBE73-0209, SBE80-0024 and SBE80-0025.Copyright
© IAE International Aero Engines AG (2001, 2014 - 2021) The information contained in this document is the property of © IAE International Aero Engines AG and may not be copied or used for any purpose other than that for which it is supplied without the express written authority of © IAE International Aero Engines AG. (This does not preclude use by engine and aircraft operators for normal instructional, maintenance or overhaul purposes.).Applicability
All
Common Information
TASK 72-60-26-440-001 Oil Scavenge Pump Drive Gear And Bearing Assembly - Assemble The Gear And Bearing, Assembly-001
General
Fig/item numbers in parentheses in the procedure agree with those used in the IPC. Only the primary Fig/item numbers are used. For the service bulletin alpha variants refer to the IPC.
For all parts identified in a different Chapter/Section/Subject, the applicable Chapter/Section/Subject comes before the Fig/item number.
For standard torque data and procedures, refer to the SPM TASK 70-41-00-400-501 and TASK 70-41-02-400-501.
Special torque data and assembly tolerances are included in the procedure.
Lubricate all threads and abutment faces of nuts and bolts with CoMat 10-039 ENGINE OIL, unless other lubricants are referred to in the procedure.
To identify, lubricate and install seal rings, refer to the SPM TASK 70-44-01-400-501.
After assembly apply CoMat 07-012 AIR DRYING ENAMEL to any damaged surface protection, joint flanges and attach parts. Use the correct color of the air drying enamel. Refer to the SPM TASK 70-38-06-380-501.
The number for each radial location must be identified in a clockwise direction. These start at the engine top position when you look from the rear of the engine, unless stated differently in the procedure.
NOTE
NOTE
Preliminary Requirements
Pre-Conditions
NONESupport Equipment
| Name | Manufacturer | Part Number / Identification | Quantity | Remark |
|---|---|---|---|---|
| IAE 1F10168 Base, installation | 0AM53 | IAE 1F10168 | 1 | |
| IAE 1F10176 Drift | 0AM53 | IAE 1F10176 | 1 | |
| IAE 1F10177 Base | 0AM53 | IAE 1F10177 | 1 | |
| IAE 1F10184 Drift | 0AM53 | IAE 1F10184 | 1 |
Consumables, Materials and Expendables
| Name | Manufacturer | Part Number / Identification | Quantity | Remark |
|---|---|---|---|---|
| CoMat 10-039 ENGINE OIL | LOCAL | CoMat 10-039 | ||
| CoMat 07-012 AIR DRYING ENAMEL | 0AM53 | CoMat 07-012 |
Spares
NONESafety Requirements
NONEProcedure
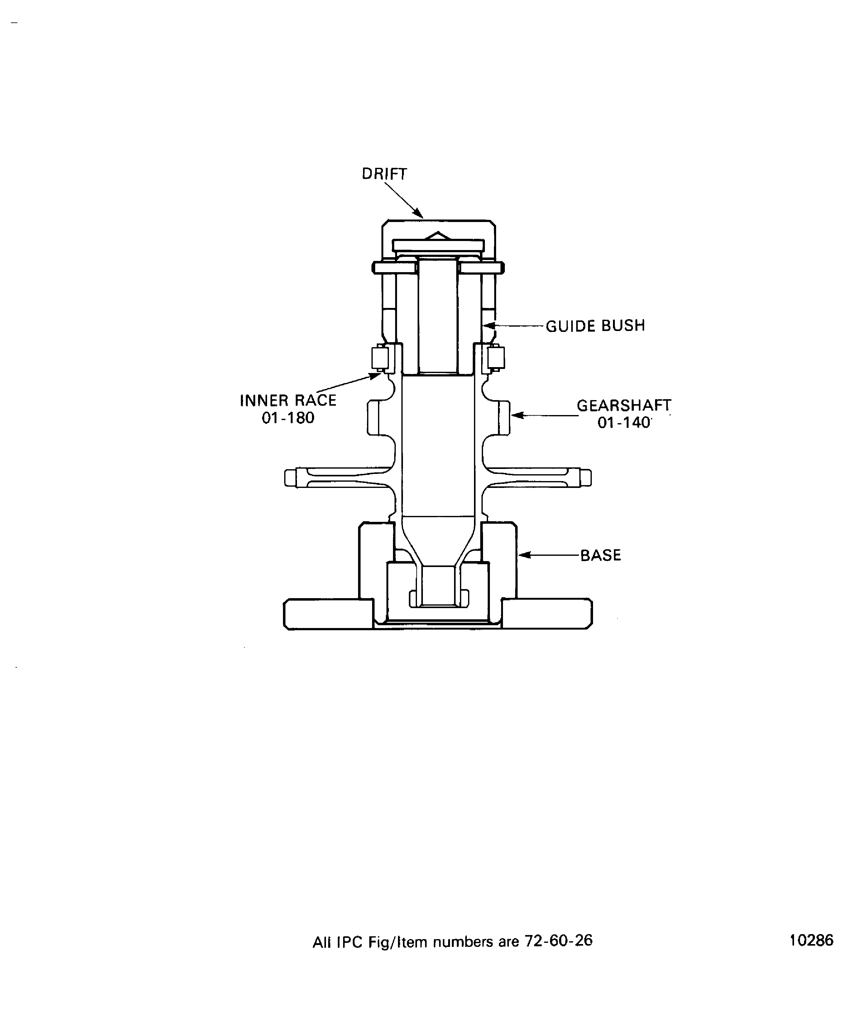
Refer to Figure.
Install the gearshaft on IAE 1F10168 Base, installation 1 off with the external splined end to the bottom.

WARNING
DO NOT TOUCH THE HOT PARTS WITHOUT PROTECTIVE GLOVES.HOT PARTS CAN CAUSE REDDENING AND BLISTERING OF THE SKIN IF THE HANDS ARE NOT PROTECTED.IMMERSE THE CONTACTED AREA IN COLD WATER FOR 10 MINUTES IF THE SKIN IS BURNED. IMMEDIATELY GET THE MEDICAL ATTENTION IF PAIN OR BLISTERING PERSISTS.Put the inner race of the roller bearing on the guide bush of IAE 1F10176 Drift 1 off.
SUBTASK 72-60-26-440-051 Install the Inner Race of the Roller Bearing (01-180) on the Gearshaft
Refer to Figure.
Install the gearshaft on IAE 1F10177 Base 1 off with the external splined end to the top.

WARNING
DO NOT TOUCH THE HOT PARTS WITHOUT PROTECTIVE GLOVES.HOT PARTS CAN CAUSE REDDENING AND BLISTERING OF THE SKIN IF THE HANDS ARE NOT PROTECTED.IMMERSE THE CONTACTED AREA IN COLD WATER FOR 10 MINUTES IF THE SKIN IS BURNED. IMMEDIATELY GET THE MEDICAL ATTENTION IF PAIN OR BLISTERING PERSISTS.Put the inner race of the roller bearing on the guide bush of IAE 1F10184 Drift 1 off.
SUBTASK 72-60-26-440-052 Install the Inner Race of the Roller Bearing (01-100) on the Gearshaft
Figure: Install the inner races of the roller bearing (01-180) on the gearshaft
Install the inner races of the roller bearing (01-180) on the gearshaft

Figure: Install the inner races of the roller bearing (01-100) on the gearshaft
Install the inner races of the roller bearing (01-100) on the gearshaft

