DMC:V2500-A0-72-60-2804-00A-649A-CIssue No:002.00Issue Date:2019-08-01
Export Control
EAR Export Classification: Not subject to the EAR per 15 C.F.R. Chapter 1, Part 734.3(b)(3), except for the following Service Bulletins which are currently published as EAR Export Classification 9E991: SBE70-0992, SBE72-0483, SBE72-0580, SBE72-0588, SBE72-0640, SBE73-0209, SBE80-0024 and SBE80-0025.Copyright
© IAE International Aero Engines AG (2001, 2014 - 2021) The information contained in this document is the property of © IAE International Aero Engines AG and may not be copied or used for any purpose other than that for which it is supplied without the express written authority of © IAE International Aero Engines AG. (This does not preclude use by engine and aircraft operators for normal instructional, maintenance or overhaul purposes.).Applicability
All
Common Information
TASK 72-60-28-300-017 Generator Drive Gear Housing - Blend Repair, Repair-017 (VRS5058)
Effectivity
FIG/ITEM PART No. | |
|---|---|
01-450 | 4B0161 |
01-450 | 4B0271 |
01-450 | 4B0281 |
01-450 | 4B0312 |
01-450 | 4B0348 |
01-450 | 4B0370 |
General
Price and availability - none
NOTE
To identify the consumable materials refer to the PCI.
Preliminary Requirements
Pre-Conditions
NONESupport Equipment
NONEConsumables, Materials and Expendables
| Name | Manufacturer | Part Number / Identification | Quantity | Remark |
|---|---|---|---|---|
| CoMat 02-140 TRIANGULAR INDIA STONE, FINE GRIT | LOCAL | CoMat 02-140 |
Spares
NONESafety Requirements
NONEProcedure
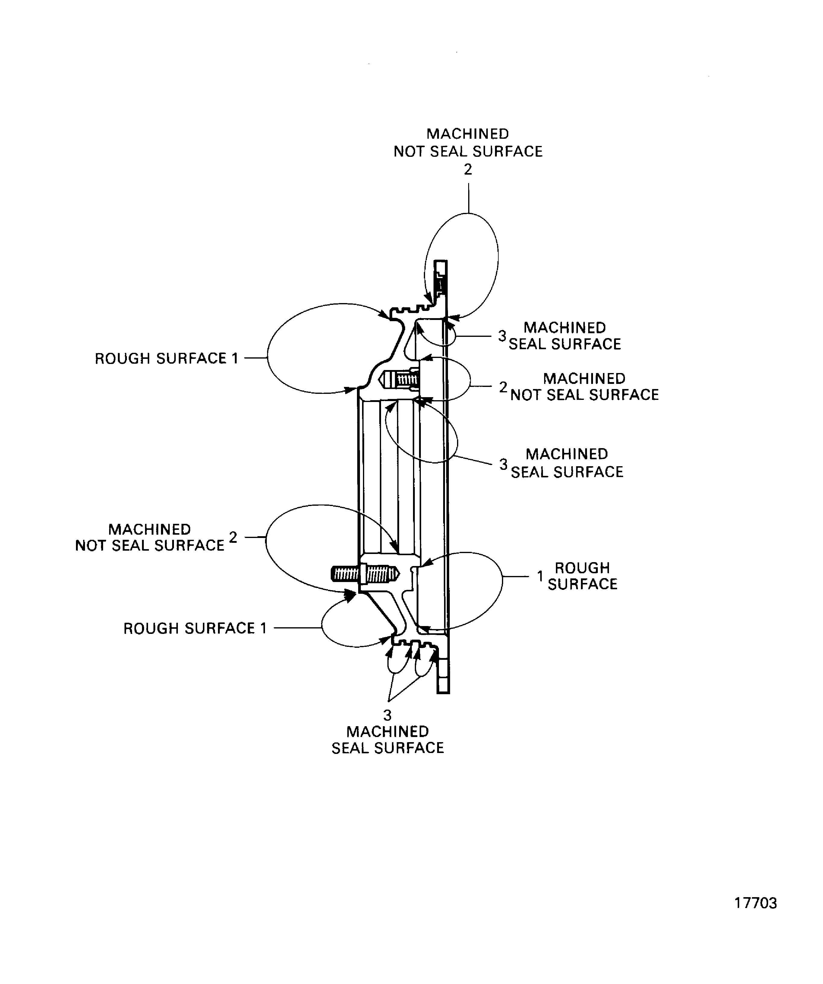
Refer to Figure.
SUBTASK 72-60-28-350-053 Repair the IDG Housing (01-450) Rough Surfaces at Location 1
Refer to Figure.
Refer to the TASK 70-35-03-300-501.
Use CoMat 02-140 TRIANGULAR INDIA STONE, FINE GRIT triangular india stone.
Hand polish and blend. The depth of the blending is not more than 0.005 in. (0.13 mm).
Seal surfaces at location 3.
SUBTASK 72-60-28-350-054 Repair the IDG Housing (01-450) Machined Surfaces
Figure: Repair Details and Dimensions
Repair Details and Dimensions

