DMC:V2500-A0-72-60-2904-00A-664A-CIssue No:004.00Issue Date:2021-05-01
Export Control
EAR Export Classification: Not subject to the EAR per 15 C.F.R. Chapter 1, Part 734.3(b)(3), except for the following Service Bulletins which are currently published as EAR Export Classification 9E991: SBE70-0992, SBE72-0483, SBE72-0580, SBE72-0588, SBE72-0640, SBE73-0209, SBE80-0024 and SBE80-0025.Copyright
© IAE International Aero Engines AG (2001, 2014 - 2021) The information contained in this document is the property of © IAE International Aero Engines AG and may not be copied or used for any purpose other than that for which it is supplied without the express written authority of © IAE International Aero Engines AG. (This does not preclude use by engine and aircraft operators for normal instructional, maintenance or overhaul purposes.).Applicability
All
Common Information
TASK 72-60-29-300-011 Deoiler Housing Assembly - Repair The Bearing Seat By Bushing, Repair-011 (VRS5086)
Material of component
RR | ||
DESCRIPTION | SYMBOL | MATERIAL |
Housing | - | A357 T613 (AMS 4219) |
Bushing | - | Wrought aluminum base alloy |
General
Price and availability - none
The practices and processes referred to in the procedure by the TASK numbers are in the SPM.
NOTE
To identify the consumable materials refer to the PCI.
NOTE
Other consumable materials are given in the SPM.
Preliminary Requirements
Pre-Conditions
NONESupport Equipment
| Name | Manufacturer | Part Number / Identification | Quantity | Remark |
|---|---|---|---|---|
| FPI Inspection station | LOCAL | FPI Inspection station | ||
| IAE 3F10339 Drift | 0AM53 | IAE 3F10339 | 1 | |
| Magnifying Glass, 5x | LOCAL | Magnifying Glass, 5x | ||
| Oven | LOCAL | Oven | ||
| Process Plating Tanks | LOCAL | Process plating tanks | ||
| Vibrating Marking Pencil | LOCAL | Vibrating Marking Pencil |
Consumables, Materials and Expendables
NONESafety Requirements
NONEProcedure
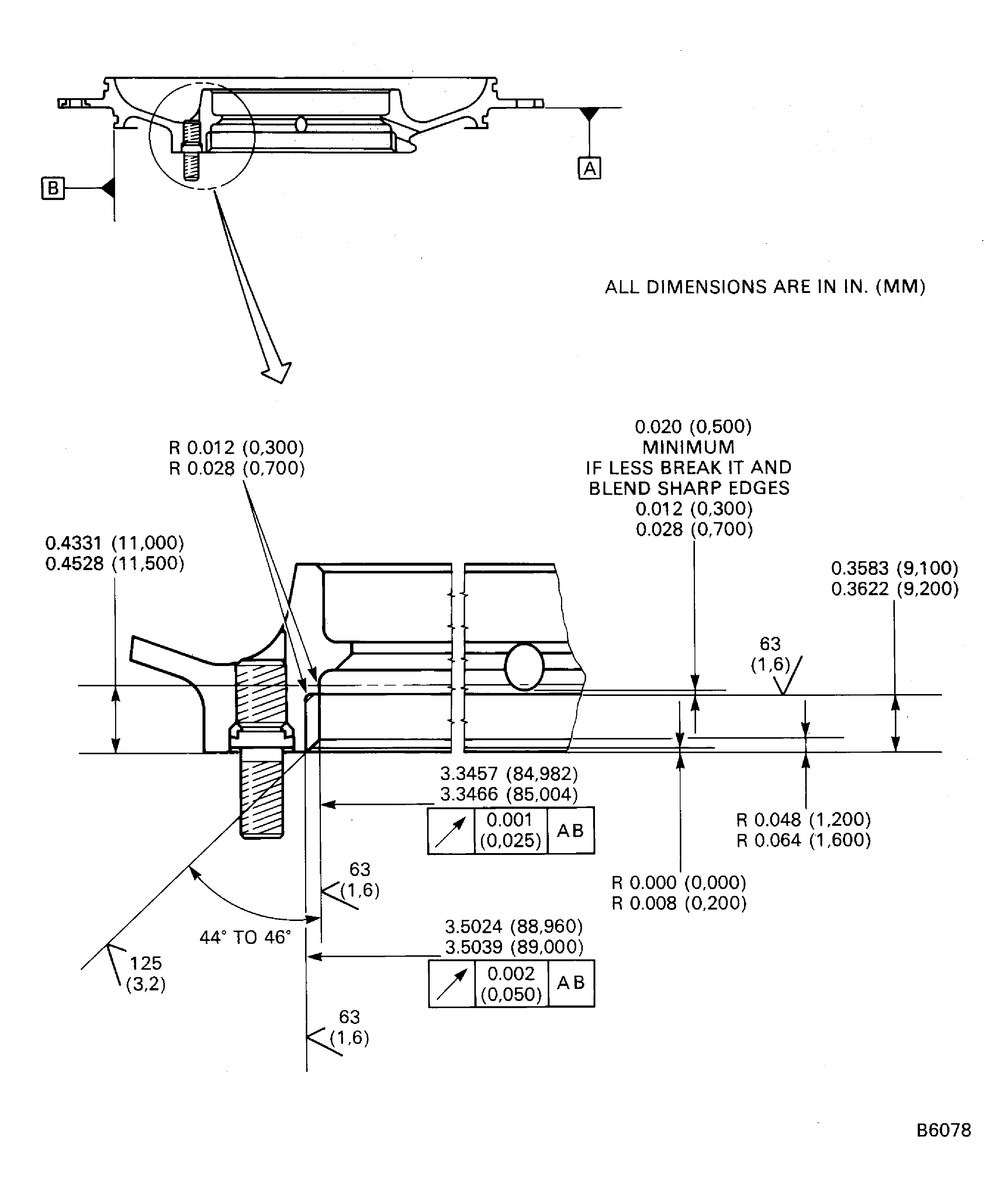
Refer to Figure.
SUBTASK 72-60-29-320-076 Machine the Bearing Seat in the Deoiler Housing
Use a Magnifying Glass, 5x.
Inspect the housing for cracks in the area of the seat.
SUBTASK 72-60-29-220-099 Examine the Deoiler Housing
Refer to SPM TASK 70-38-02-300-503.
Apply the chromate conversion coating to the machined surfaces.
SUBTASK 72-60-29-330-064 Apply the Chromate Conversion Coating

WARNING
DO NOT TOUCH THE HOT PARTS WITHOUT PROTECTIVE GLOVES.HOT PARTS CAN CAUSE REDDENING AND BLISTERING OF THE SKIN IF THE HANDS ARE NOT PROTECTED.IMMERSE THE CONTACTED AREA IN COLD WATER FOR 10 MINUTES IF THE SKIN IS BURNED. IMMEDIATELY GET MEDICAL ATTENTION IF PAIN OR BLISTERING PERSISTS.
CAUTION
INSTALL BUSHING IN MACHINED SEAT IMMEDIATELY AFTER REMOVAL FROM FREEZER OTHERWISE BUSHING CANNOT BE CORRECTLY INSTALLED.NOTE
The difference in temperature between the parts must be 216 deg F (120 deg C).Refer to Figure.

CAUTION
MAKE SURE THAT THE LEAD IN CHAMFER OF THE BUSHING POINTS AWAY FROM THE DRIFT.Install the bushing on the IAE 3F10339 Drift 1 off.
Use IAE 3F10339 Drift 1 off and an arbor press.
SUBTASK 72-60-29-350-077 Install the Bushing
Refer to Figure.
SUBTASK 72-60-29-320-077 Machine the Inner Diameter of the Bushing
Refer to SPM TASK 70-38-02-300-503.
Apply the chromate conversion coating to the machined surfaces of the bushing.
SUBTASK 72-60-29-330-065 Apply the Chromate Conversion Coating
Figure: Repair Details And Dimensions
Repair Details And Dimensions

