DMC:V2500-A0-72-60-2904-02A-647A-CIssue No:002.00Issue Date:2016-11-01
Export Control
EAR Export Classification: Not subject to the EAR per 15 C.F.R. Chapter 1, Part 734.3(b)(3), except for the following Service Bulletins which are currently published as EAR Export Classification 9E991: SBE70-0992, SBE72-0483, SBE72-0580, SBE72-0588, SBE72-0640, SBE73-0209, SBE80-0024 and SBE80-0025.Copyright
© IAE International Aero Engines AG (2001, 2014 - 2021) The information contained in this document is the property of © IAE International Aero Engines AG and may not be copied or used for any purpose other than that for which it is supplied without the express written authority of © IAE International Aero Engines AG. (This does not preclude use by engine and aircraft operators for normal instructional, maintenance or overhaul purposes.).Applicability
All
Common Information
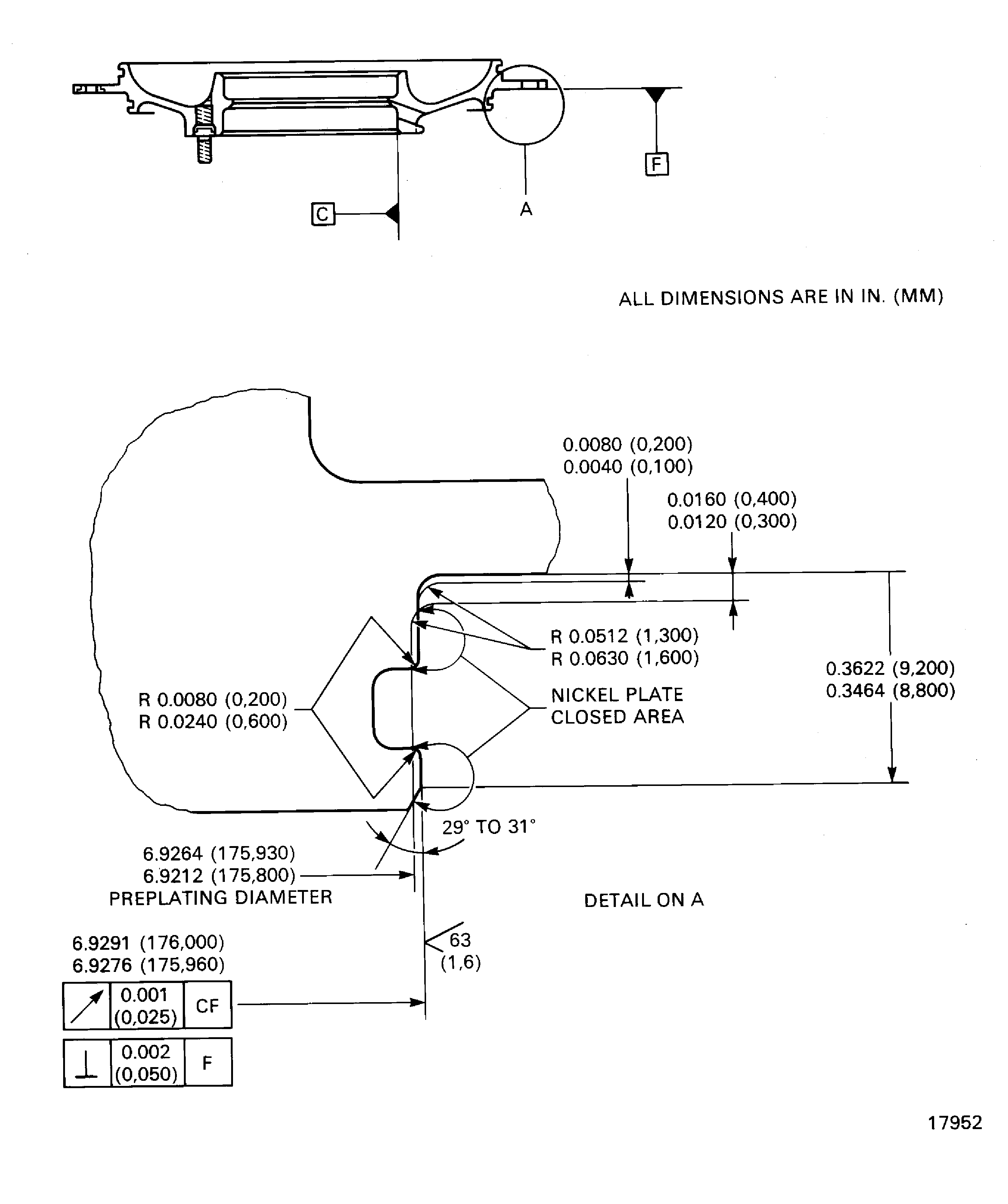
TASK 72-60-29-300-008 Deoiler Housing Assembly - Nickel Plate The Piloting Diameter, Repair-008 (VRS5083)
General
Price and availability - none
The practices and processes referred to in the procedure by the TASK numbers are in the SPM.
NOTE
To identify the consumable materials refer to PCI.
Consumable materials are given in the SPM.
Preliminary Requirements
Pre-Conditions
NONESupport Equipment
| Name | Manufacturer | Part Number / Identification | Quantity | Remark |
|---|---|---|---|---|
| Workshop inspection equipment | LOCAL | Workshop inspection equipment | ||
| Grinding machine | LOCAL | Grinding machine | ||
| FPI inspection station | LOCAL | FPI inspection station | ||
| Basket | LOCAL | Basket | ||
| Process Plating Tanks | LOCAL | Process plating tanks | ||
| Oven | LOCAL | Oven | ||
| Magnifying glass, 4x | LOCAL | Magnifying glass, 4x | ||
| Vibrating Marking Pencil | LOCAL | Vibrating Marking Pencil |
Consumables, Materials and Expendables
| Name | Manufacturer | Part Number / Identification | Quantity | Remark |
|---|---|---|---|---|
| CoMat 01-027 HYDROFLUORIC ACID | LOCAL | CoMat 01-027 | ||
| CoMat 01-058 NITRIC ACID HNO3 | LOCAL | CoMat 01-058 | ||
| CoMat 01-112 ALKALINE SILICATE DEGREASER | 23373 | CoMat 01-112 | ||
| CoMat 01-343 DELETED | LOCAL | CoMat 01-343 | ||
| CoMat 02-067 STRIPPABLE COATING | 71410 | CoMat 02-067 |
Spares
NONESafety Requirements
NONEProcedure
Refer to Figure.
SUBTASK 72-60-29-320-072 Machine the Piloting Diameter of the Housing
Refer to SPM TASK 70-23-01-230-501.
No cracks are permitted.
Do the fluorescent penetrant inspection for cracks.
SUBTASK 72-60-29-230-055 Examine the Housing
Refer to Figure.
Refer to SPM TASK 70-33-08-300-503.
Plate to a sufficient thickness to permit the machining to the last dimensions.
The plating out of the piloting diameter is permitted but must be removed.
Do the nickel plating.
SUBTASK 72-60-29-330-062 Nickel Plate the Piloting Diameter of the Housing
Refer to Figure.
SUBTASK 72-60-29-320-073 Machine the Piloting Diameter of the Housing
Refer to Figure.
SUBTASK 72-60-29-220-096 Examine the Nickel Plated Area
Figure: Repair Details and Dimensions
Repair Details and Dimensions

