Export Control
EAR Export Classification: Not subject to the EAR per 15 C.F.R. Chapter 1, Part 734.3(b)(3), except for the following Service Bulletins which are currently published as EAR Export Classification 9E991: SBE70-0992, SBE72-0483, SBE72-0580, SBE72-0588, SBE72-0640, SBE73-0209, SBE80-0024 and SBE80-0025.Copyright
© IAE International Aero Engines AG (2001, 2014 - 2021) The information contained in this document is the property of © IAE International Aero Engines AG and may not be copied or used for any purpose other than that for which it is supplied without the express written authority of © IAE International Aero Engines AG. (This does not preclude use by engine and aircraft operators for normal instructional, maintenance or overhaul purposes.).Applicability
All
Common Information
TASK 72-60-33-040-001 PMA Shaft, Rotor, And Housing Assembly - Disassemble The Shaft, Rotor, And Housing, Disassembly-001
General
Fig/item numbers in parentheses in the procedure agree with those used in the IPC. Only the primary Fig/item numbers are used. For the service bulletin alpha variants refer to the IPC.
Apply the approved CoMat 10-058 PENETRATING OIL before the removal of threaded parts and parts with an interference fit. Let the parts soak before removal.
Discard all rubber seal rings, cotter pins and seal washers removed in this procedure.
NOTE
NOTE
Preliminary Requirements
Pre-Conditions
NONESupport Equipment
| Name | Manufacturer | Part Number / Identification | Quantity | Remark |
|---|---|---|---|---|
| Arbor Press | LOCAL | Arbor press | ||
| Swivel vise | LOCAL | Swivel vise | ||
| IAE 1F10170 Base | 0AM53 | IAE 1F10170 | 1 | |
| IAE 1F10218 Reaction spanner | 0AM53 | IAE 1F10218 | 1 | |
| IAE 1P16486 Reaction spanner | 0AM53 | IAE 1P16486 | 1 | |
| IAE 1F10200 Base | 0AM53 | IAE 1F10200 | 1 | |
| IAE 1F10249 Half ring | 0AM53 | IAE 1F10249 | 2 | |
| IAE 1F10250 Drift | 0AM53 | IAE 1F10250 | 1 | |
| IAE 1F10241 Drift | 0AM53 | IAE 1F10241 | 1 | |
| IAE 1F10216 Puller | 0AM53 | IAE 1F10216 | 1 |
Consumables, Materials and Expendables
| Name | Manufacturer | Part Number / Identification | Quantity | Remark |
|---|---|---|---|---|
| CoMat 10-058 PENETRATING OIL | 0AM53 | CoMat 10-058 |
Spares
NONESafety Requirements
NONEProcedure
Refer to Figure.
Install IAE 1F10170 Base 1 off on swivel vise.
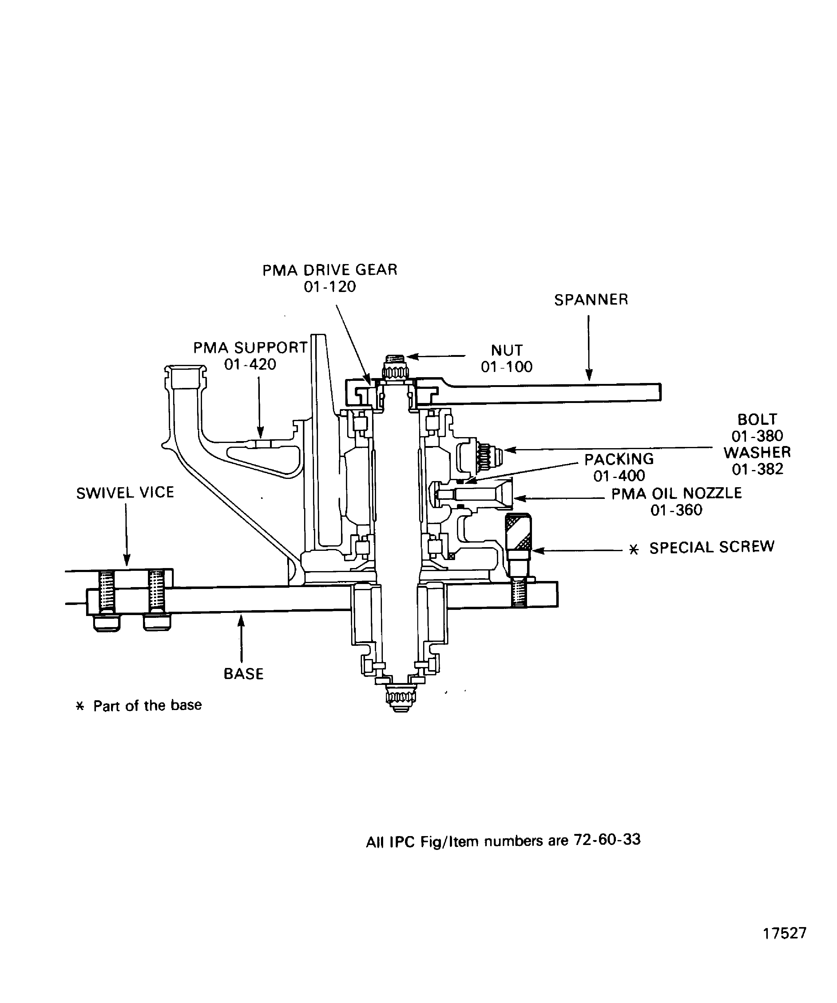
SUBTASK 72-60-33-040-051 Remove the Oil Nozzle from the PMA Support
Refer to Figure.
Install IAE 1F10218 Reaction spanner or IAE 1P16486 Reaction spanner 1 off on the PMA drive gear.
SUBTASK 72-60-33-040-052 Remove the Nut which attaches the PMA Drive Gear to the PMA Drive Shaft and Rotor
Refer to Figure.

CAUTION
BE CAREFUL NOT TO CAUSE DAMAGE TO THE PMA ROTOR DURING THE SUBSEQUENT OPERATIONS.Put IAE 1F10249 Half ring 2 off around the PMA drive shaft and below the separating diaphragm.
Install the half rings and the PMA drive gear assembly on IAE 1F10200 Base 1 off with the PMA drive gear to the top.
Install IAE 1F10250 Drift 1 off on the roller bearing with the point of the pusher in to the dimple of the PMA drive shaft.
SUBTASK 72-60-33-040-053 Remove the PMA Drive Shaft and Rotor from the PMA Support
Refer to Figure.
Install IAE 1F10241 Drift 1 off on the PMA drive shaft and rotor.
SUBTASK 72-60-33-040-054 Remove the Inner Race of the Roller Bearing and the Separating Diaphragm from the PMA Drive Shaft and Rotor
Install IAE 1F10170 Base 1 off on swivel vise.
Engage the jaws of the levers of IAE 1F10216 Puller 1 off below the smaller flange of the outer race of the roller bearing.
SUBTASK 72-60-33-040-055 Remove the Two Outer Races of the Roller Bearings from the PMA Support
Figure: Remove the nut which attaches the PMA gear drive to the PMA drive shaft
Remove the nut which attaches the PMA gear drive to the PMA drive shaft

Figure: Remove the PMA drive shaft and rotor from the PMA support
Remove the PMA drive shaft and rotor from the PMA support

Figure: Remove the inner race and the separating diaphragm from the PMA drive shaft and rotor
Remove the inner race and the separating diaphragm from the PMA drive shaft and rotor

