Export Control
EAR Export Classification: Not subject to the EAR per 15 C.F.R. Chapter 1, Part 734.3(b)(3), except for the following Service Bulletins which are currently published as EAR Export Classification 9E991: SBE70-0992, SBE72-0483, SBE72-0580, SBE72-0588, SBE72-0640, SBE73-0209, SBE80-0024 and SBE80-0025.Copyright
© IAE International Aero Engines AG (2001, 2014 - 2021) The information contained in this document is the property of © IAE International Aero Engines AG and may not be copied or used for any purpose other than that for which it is supplied without the express written authority of © IAE International Aero Engines AG. (This does not preclude use by engine and aircraft operators for normal instructional, maintenance or overhaul purposes.).Applicability
All
Common Information
TASK 72-60-42-300-007 Angle Gearbox Radial Gearshaft Support - Repair The Bearing Mating Surface By Flanged Bushing, Repair-007 (VRS5091)
Material of component
RR | ||
|---|---|---|
DESCRIPTION | SYMBOL | MATERIAL |
Support | - | Aluminium alloy |
Flanged bushing | - | Wrought aluminium base alloy |
General
Price and availability - none
The practices and processes referred to in the procedure by the TASK numbers are in the SPM.
NOTE
NOTE
Preliminary Requirements
Pre-Conditions
NONESupport Equipment
| Name | Manufacturer | Part Number / Identification | Quantity | Remark |
|---|---|---|---|---|
| Arbor Press | LOCAL | Arbor press | ||
| FPI Inspection station | LOCAL | FPI Inspection station | ||
| Freezer | LOCAL | Freezer | ||
| IAE 3F10340 Drift, Bushing (dia 88) | 0AM53 | IAE 3F10340 | 1 | |
| IAE 3F10428 Guide pin | 0AM53 | IAE 3F10428 | 1 | |
| Magnifying Glass, 5x | LOCAL | Magnifying Glass, 5x | ||
| Oven | LOCAL | Oven | ||
| Vibrating Marking Pencil | LOCAL | Vibrating Marking Pencil |
Consumables, Materials and Expendables
| Name | Manufacturer | Part Number / Identification | Quantity | Remark |
|---|---|---|---|---|
| CoMat 01-001 SOLVENT, DELETED | X111X | CoMat 01-001 |
Safety Requirements
NONEProcedure
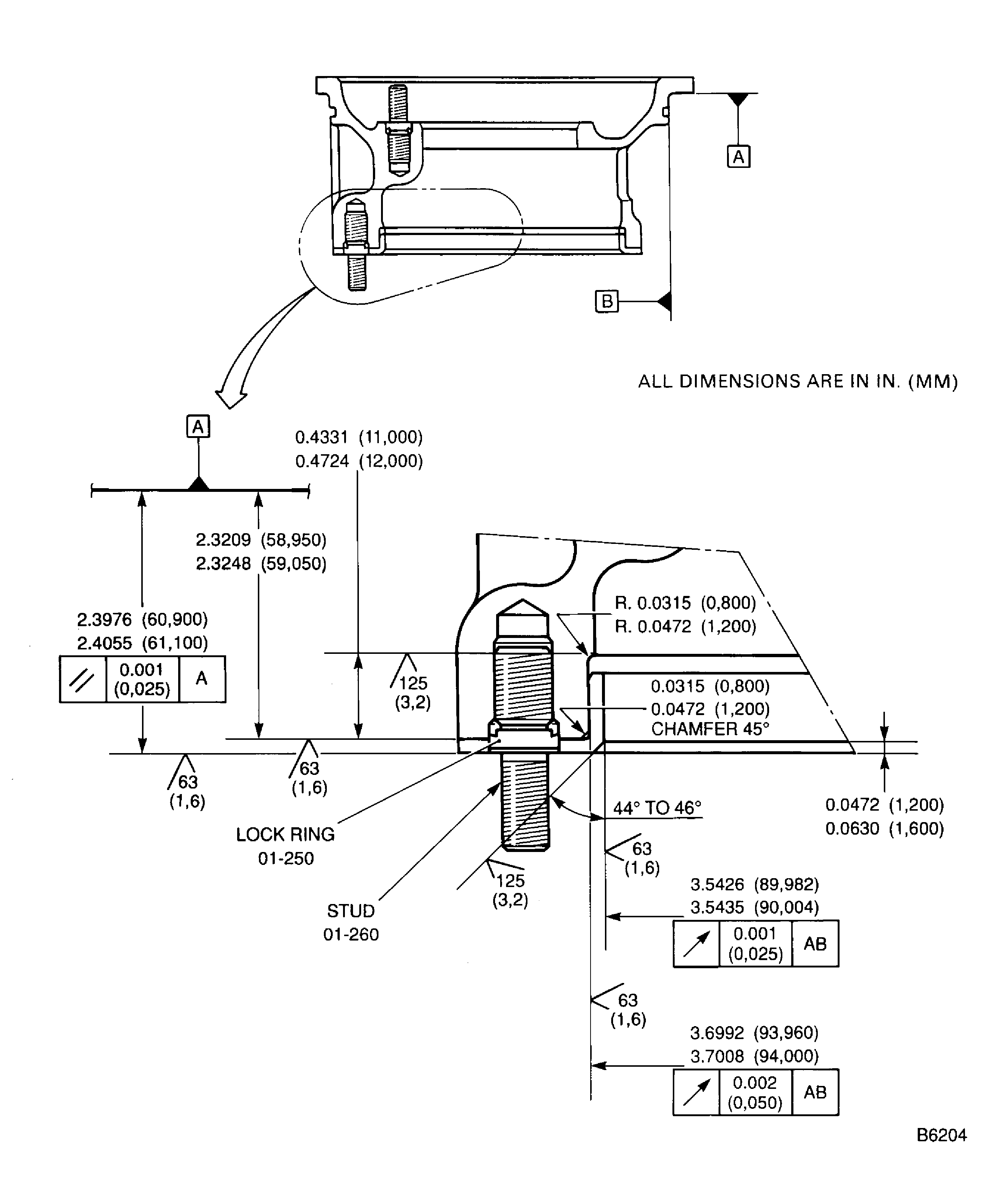
Refer to Figure.
Refer to Repair VRS5089 TASK 72-60-42-300-004.
Remove the lock rings and the studs in the bearing mating surface.
SUBTASK 72-60-42-350-066 Remove the Studs/Lock Rings (4 off)
Refer to Figure.
SUBTASK 72-60-42-320-070 Machine the Bearing Seat in the Radial Gear Support
Refer to Figure.
SUBTASK 72-60-42-320-071 Machine the Bearing Mating Surface in the Radial Gear Support
Use a Magnifying Glass, 5x.
Inspect the support for crack in the area of the bearing seat.
SUBTASK 72-60-42-220-094 Examine the Radial Gearshaft Support
Refer to the SPM TASK 70-38-02-300-503.
Apply the chromate conversion coating to the machined surfaces.
SUBTASK 72-60-42-330-061 Apply the Chromate Conversion Coating
Refer to Figure.
Put IAE 3F10428 Guide pin 1 off in threaded hole in bearing mating surface adjacent to machined bearing seat.
Install the guide pins.
Install the bushing on the IAE 3F10340 Drift, Bushing (dia 88) 1 off.

WARNING
DO NOT TOUCH THE HOT PARTS WITHOUT PROTECTIVE GLOVES.HOT PARTS CAN CAUSE REDDENING AND BLISTERING OF THE SKIN IF THE HANDS ARE NOT PROTECTED.IMMERSE THE CONTACTED AREA IN COLD WATER FOR 10 MINUTES IF THE SKIN IS BURNED. IMMEDIATELY GET THE MEDICAL ATTENTION IF PAIN OR BLISTERING PERSISTS.Increase the temperature of the support and/or degrease the temperature of the assembled drift and bushing.
NOTE
The difference in temperature between the parts must be 216 deg F (120 deg C).NOTE
Do not increase the temperature of the housing above 284 deg F (140 deg C).NOTE
Do not decrease the temperature of the assembled drift and bushing below -58 deg F (-50 deg C).Remove the support from the oven and/or the assembled drift and bushing from the freezer.
Use IAE 3F10340 Drift, Bushing (dia 88) 1 off and an arbor press.
Give sufficient back-up support at bushing bore area to prevent support distortion when you install the bushing.

CAUTION
INSTALL BUSHING IN MACHINED BORE IMMEDIATELY AFTER REMOVAL FROM FREEZER; OHERWISE BUSHING CANNOT BE CORRECTLY INSTALLED.Install the flanged bushing into machined bearing seat.
SUBTASK 72-60-42-350-067 Install the Flanged Bushing
Refer to Figure.
Refer to Repair VRS5089 TASK 72-60-42-300-004.
Install the new studs and the new lock rings.
Refer to the SPM TASK 70-38-02-300-503.
Do the touch up treatment where the chromate conversion coating has been damaged by new lock rings installation.
SUBTASK 72-60-42-350-068 Install the New Studs/Lock Rings
Refer to Figure.
SUBTASK 72-60-42-320-072 Machine the Inner Diameter of the Flanged Bushing
Refer to Figure.
SUBTASK 72-60-42-320-073 Machine the Flange Surface of the Bushing
Refer to the SPM TASK 70-38-02-300-503.
Apply the chromate conversion coating to the machined surfaces of the support.
SUBTASK 72-60-42-330-062 Apply the Chromate Conversion Coating
Figure: Repair The Bearing Mating Surface
Repair The Bearing Mating Surface

