DMC:V2500-A0-73-22-3500-00A-270A-CIssue No:001.00Issue Date:2013-11-01
Export Control
EAR Export Classification: Not subject to the EAR per 15 C.F.R. Chapter 1, Part 734.3(b)(3), except for the following Service Bulletins which are currently published as EAR Export Classification 9E991: SBE70-0992, SBE72-0483, SBE72-0580, SBE72-0588, SBE72-0640, SBE73-0209, SBE80-0024 and SBE80-0025.Copyright
© IAE International Aero Engines AG (2001, 2014 - 2021) The information contained in this document is the property of © IAE International Aero Engines AG and may not be copied or used for any purpose other than that for which it is supplied without the express written authority of © IAE International Aero Engines AG. (This does not preclude use by engine and aircraft operators for normal instructional, maintenance or overhaul purposes.).Applicability
All
Common Information
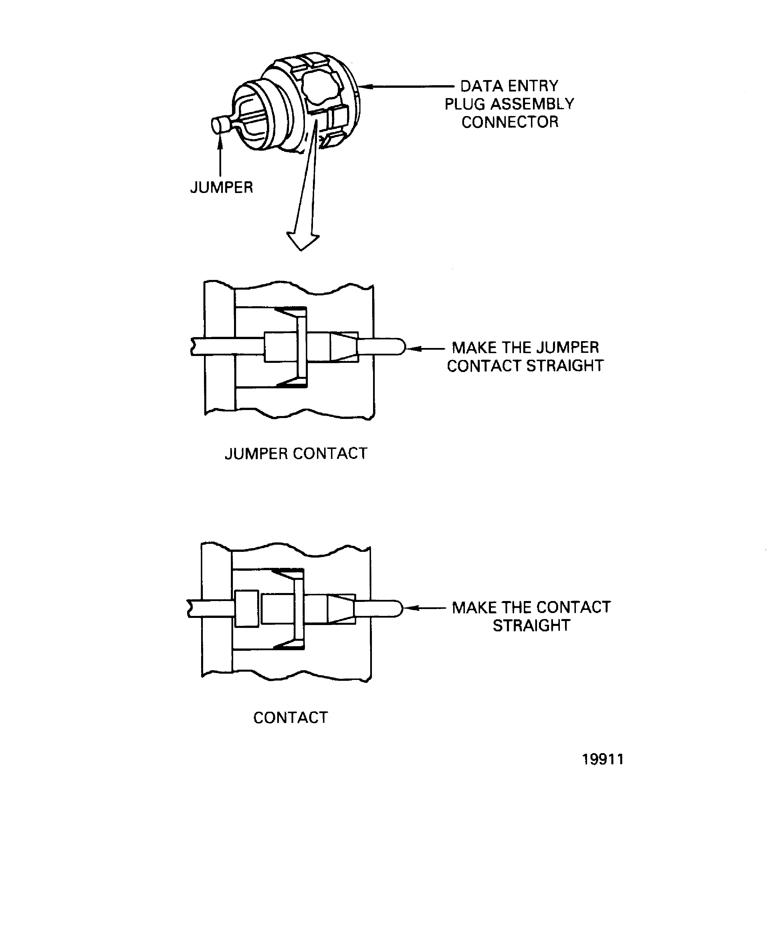
TASK 73-22-35-300-002 EEC Data Entry Plug - Related Parts - Repair The Jumper Contact or Contact, Repair-002 (VRS3501)
General
Price and availability - none
The practices and processes referred to in the procedure by TASK number are in the SPM.
Preliminary Requirements
Pre-Conditions
NONESupport Equipment
| Name | Manufacturer | Part Number / Identification | Quantity | Remark |
|---|---|---|---|---|
| Long soft nose pliers | LOCAL | Long soft nose pliers |
Consumables, Materials and Expendables
NONESpares
NONESafety Requirements
NONEProcedure
Refer to Figure.
Use a Long soft nose pliers or equivalent.
Make the jumper contact or contact straight.
SUBTASK 73-22-35-350-053 Make the Jumper Contact or Contact Straight in the Connector
Refer to Figure.
Make sure the repaired contacts are of equal distance from the other contacts and there is no damage on the contacts from the tool.
Examine the repaired jumper contact or contact
SUBTASK 73-22-35-220-064 Examine the Repair
Figure: Repair Details and Dimensions
Repair Details and Dimensions

