Export Control
EAR Export Classification: Not subject to the EAR per 15 C.F.R. Chapter 1, Part 734.3(b)(3), except for the following Service Bulletins which are currently published as EAR Export Classification 9E991: SBE70-0992, SBE72-0483, SBE72-0580, SBE72-0588, SBE72-0640, SBE73-0209, SBE80-0024 and SBE80-0025.Copyright
© IAE International Aero Engines AG (2001, 2014 - 2021) The information contained in this document is the property of © IAE International Aero Engines AG and may not be copied or used for any purpose other than that for which it is supplied without the express written authority of © IAE International Aero Engines AG. (This does not preclude use by engine and aircraft operators for normal instructional, maintenance or overhaul purposes.).Applicability
All
Common Information
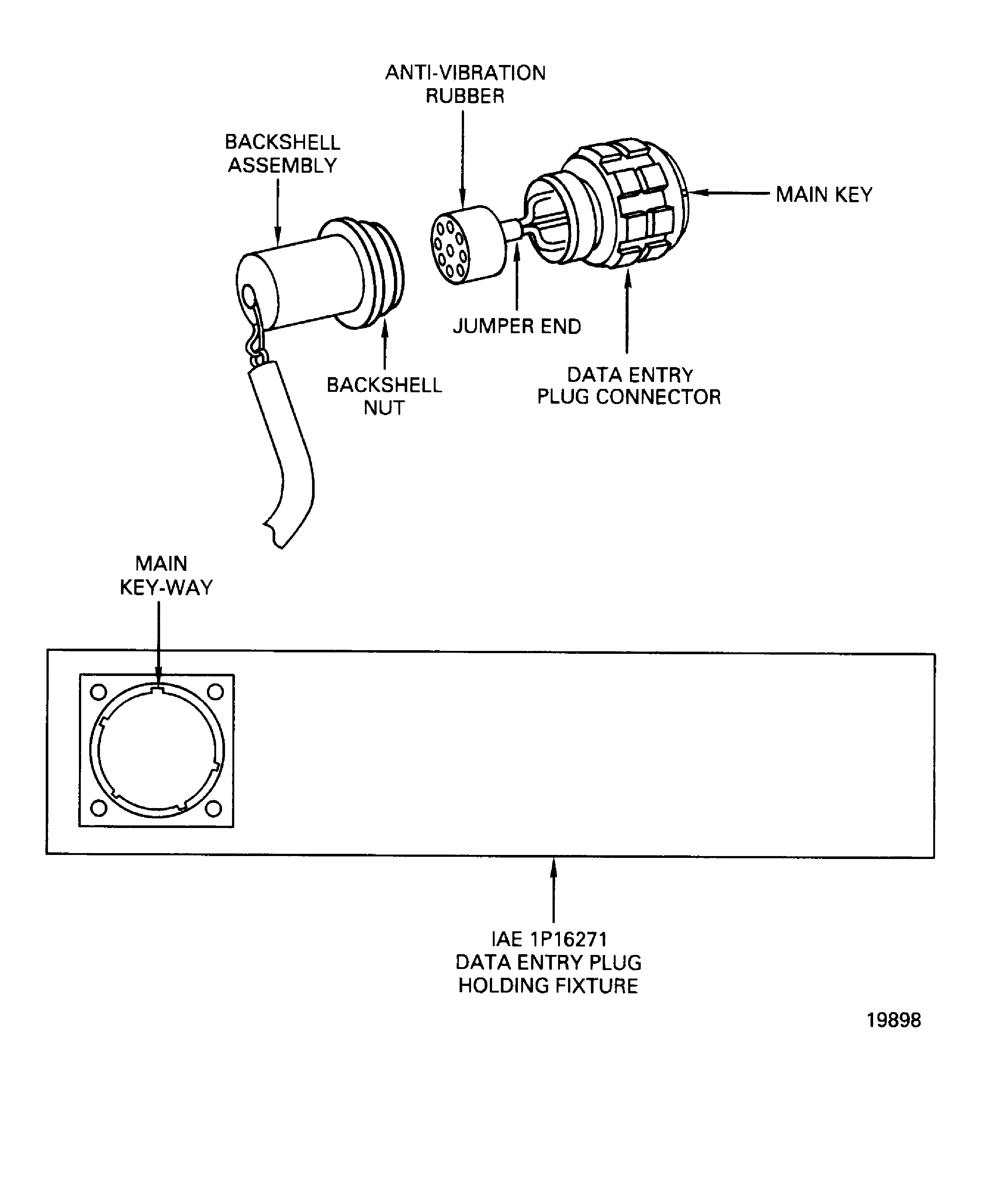
TASK 73-22-35-060-401 EEC Data Entry Plug - Related Parts - Disassemble The Data Entry Plug Assembly, Disassembly-001
General
Fig/item numbers in parentheses in the procedure agree with those used in the IPC. Only the primary Fig/item numbers are used. For the service bulletin alpha variants refer to the IPC.
Remove and discard the lockwire before parts are disconnected or removed.
NOTE
Preliminary Requirements
Pre-Conditions
NONESupport Equipment
| Name | Manufacturer | Part Number / Identification | Quantity | Remark |
|---|---|---|---|---|
| IAE 1P16271 Holding fixture | 0AM53 | IAE 1P16271 | 1 off | |
| Strap Wrench | LOCAL | TG-70 |
Consumables, Materials and Expendables
NONESpares
NONESafety Requirements
NONEProcedure
Refer to Figure.
Remove the protective cap or bag from the data entry plug assembly.
Align the main key on the data entry plug assembly with the holding fixture receptacle main key-way.
Use light hand pressure to engage the data entry plug assembly with the holding fixture receptacle and tighten with your fingers.
Install the data entry plug assembly on the IAE 1P16271 Holding fixture as follows:

CAUTION
MAKE SURE THE BACKSHELL DOES NOT TURN WHEN YOU LOOSEN THE BACKSHELL NUT. IF THE BACKSHELL TURNS, DAMAGE TO THE JUMPER WIRES CAN OCCUR.Remove the backshell from the data entry plug assembly. Use a Strap Wrench or equivalent to loosen the backshell nut.
Remove the anti-vibration rubber.
Remove the data entry plug connector from the fixture.
Install a protective cap or a clean dry bag on the data entry plug connector.
SUBTASK 73-22-35-060-051 Remove the Backshell from the Data Entry Plug Assembly
Figure: Disassemble The Data Entry Plug Assembly
Disassemble The Data Entry Plug Assembly

