Export Control
EAR Export Classification: Not subject to the EAR per 15 C.F.R. Chapter 1, Part 734.3(b)(3), except for the following Service Bulletins which are currently published as EAR Export Classification 9E991: SBE70-0992, SBE72-0483, SBE72-0580, SBE72-0588, SBE72-0640, SBE73-0209, SBE80-0024 and SBE80-0025.Copyright
© IAE International Aero Engines AG (2001, 2014 - 2021) The information contained in this document is the property of © IAE International Aero Engines AG and may not be copied or used for any purpose other than that for which it is supplied without the express written authority of © IAE International Aero Engines AG. (This does not preclude use by engine and aircraft operators for normal instructional, maintenance or overhaul purposes.).Applicability
All
Common Information
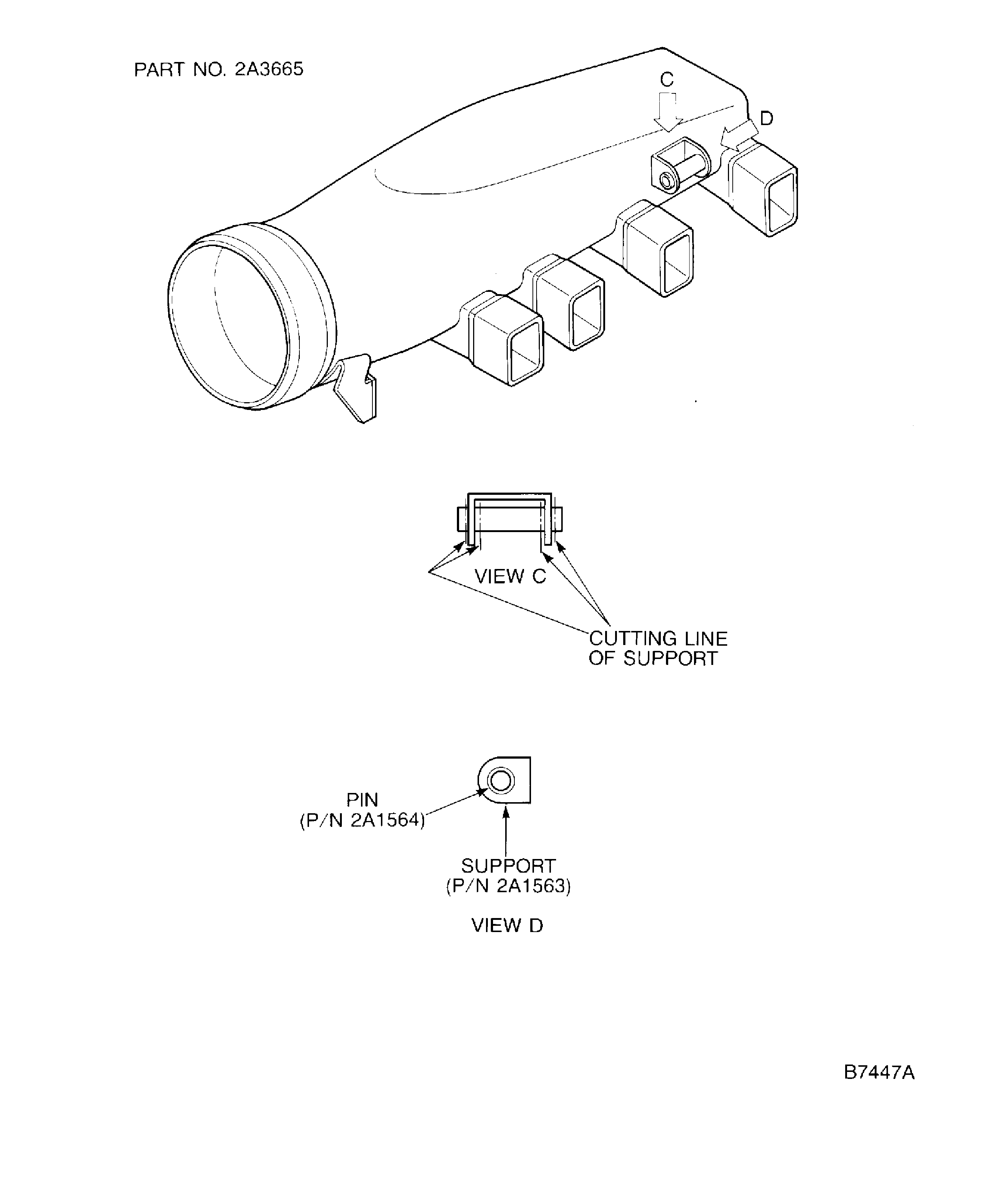
TASK 75-24-48-300-005 HPT ACC Air Manifold - Replace the Pin, Repair-005 (VRS1535)
Material of component
PART IDENT | SYMBOL | MATERIAL |
Turbine cooling manifold assembly | Fe-18.5Cr-11Ni-0.4Ti | |
Turbine cooling manifold (pin) assembly | Fe-18.5Cr-11Ni-0.4Ti |
General
Price and availability - none.
The practices and processes referred to in the procedure by the TASK number are in the SPM.
For the method to clean the parts, refer to Cleaning-000 TASK 75-24-48-100-100.
NOTE
Preliminary Requirements
Pre-Conditions
NONESupport Equipment
| Name | Manufacturer | Part Number / Identification | Quantity | Remark |
|---|---|---|---|---|
| TIG welding equipment | LOCAL | TIG welding equipment | ||
| Grinder, Hand held pneumatic | LOCAL | Grinder, Hand held pneumatic | ||
| Magnifying glass | LOCAL | Magnifying glass | 8X |
Consumables, Materials and Expendables
| Name | Manufacturer | Part Number / Identification | Quantity | Remark |
|---|---|---|---|---|
| CoMat 01-031 ACETONE (CH3)2CO | LOCAL | CoMat 01-031 | ||
| CoMat 02-099 LINT-FREE CLOTH | LOCAL | CoMat 02-099 | ||
| CoMat 03-204 WELDING FILLER WIRE | LOCAL | CoMat 03-204 |
Spares
| Name | Manufacturer | Part Number / Identification | Quantity | Remark |
|---|---|---|---|---|
| MANIFOLD - TURBINE COOLING, ASSEMBLY OF | 0AM53 | 2A0202 | ||
| MANIFOLD - TURBINE COOLING, ASSEMBLY OF | 0AM53 | 2A1540 | ||
| MANIFOLD - TURBINE COOLING, ASSEMBLY OF | 0AM53 | 2A3665 | ||
| PIN | 0AM53 | 2A0241 | 2 off | |
| PIN - HOLLOW | 0AM53 | 2A1564 | 2 off |
Safety Requirements
NONEProcedure
Refer to Cleaning-000 TASK 75-24-48-100-100.
Remove all the oxides, hydrocarbon, grit and scale from the surface to be welded and adjacent area by local cleaning.
SUBTASK 75-24-48-350-070 Remove All the Soil from the Surface
Refer to the SPM TASK 70-31-02-310-501.
Use a TIG welding equipment.
Weld the pin to the support by tungsten inert gas (TIG) weld.
Use a Grinder, Hand held pneumatic.
In contact area, remove excess weld and dress flush with adjacent area.
SUBTASK 75-24-48-350-071 Weld the Pin
Stress relieve at 1200 deg F - 25 deg F (649 deg C - 14 deg C) for one hour.
Heat treat the turbine cooling manifold assembly.
SUBTASK 75-24-48-310-057 Heat Treat the Turbine Cooling Manifold Assembly
Refer to the SPM TASK 70-23-05-230-501.
Penetrant examine the repaired area.
Use a 8X Magnifying glass.
Refer to Inspection-000 TASK 75-24-48-200-100.
Visually examine the repaired area.
SUBTASK 75-24-48-220-063 Examine the Welded Area for Cracks
Figure: Replacement of the Pin
Replacement of the Pin

Replacement of the Pin

Replacement of the Pin

Replacement of the Pin

Replacement of the Pin

