Export Control
EAR Export Classification: Not subject to the EAR per 15 C.F.R. Chapter 1, Part 734.3(b)(3), except for the following Service Bulletins which are currently published as EAR Export Classification 9E991: SBE70-0992, SBE72-0483, SBE72-0580, SBE72-0588, SBE72-0640, SBE73-0209, SBE80-0024 and SBE80-0025.Copyright
© IAE International Aero Engines AG (2001, 2014 - 2021) The information contained in this document is the property of © IAE International Aero Engines AG and may not be copied or used for any purpose other than that for which it is supplied without the express written authority of © IAE International Aero Engines AG. (This does not preclude use by engine and aircraft operators for normal instructional, maintenance or overhaul purposes.).Applicability
All
Common Information
TASK 75-24-48-300-008 HPT ACC Air Manifold - Replace the Support and Pin, Repair-008 (VRS1530)
Material of component
DESCRIPTION | SYMBOL | MATERIAL |
Manifold | Fe-18.5 Cr-11 Ni-0.04Ti | |
Pin | Fe-18.5 Cr-11 Ni-0.04Ti | |
Support | Fe-18.5 Cr-11 Ni-0.04Ti |
General
Price and availability - none.
The practices and processes referred to in the procedure by the TASK number are in the SPM.
For the method to clean the parts, refer to TASK 75-24-48-100-000 (75-24-48, CLEANING-00, Page 601).
NOTE
Preliminary Requirements
Pre-Conditions
NONESupport Equipment
| Name | Manufacturer | Part Number / Identification | Quantity | Remark |
|---|---|---|---|---|
| TIG welding equipment | LOCAL | TIG welding equipment | ||
| Grinder, Hand held pneumatic | LOCAL | Grinder, Hand held pneumatic |
Consumables, Materials and Expendables
| Name | Manufacturer | Part Number / Identification | Quantity | Remark |
|---|---|---|---|---|
| CoMat 01-031 ACETONE (CH3)2CO | LOCAL | CoMat 01-031 | ||
| CoMat 02-099 LINT-FREE CLOTH | LOCAL | CoMat 02-099 | ||
| CoMat 03-204 WELDING FILLER WIRE | LOCAL | CoMat 03-204 |
Spares
| Name | Manufacturer | Part Number / Identification | Quantity | Remark |
|---|---|---|---|---|
| PIN - HOLLOW | 0AM53 | 2A1564 | ||
| SUPPORT - MANIFOLD, TURBINE COOLING | 0AM53 | 2A1563 | 2 |
Safety Requirements
NONEProcedure
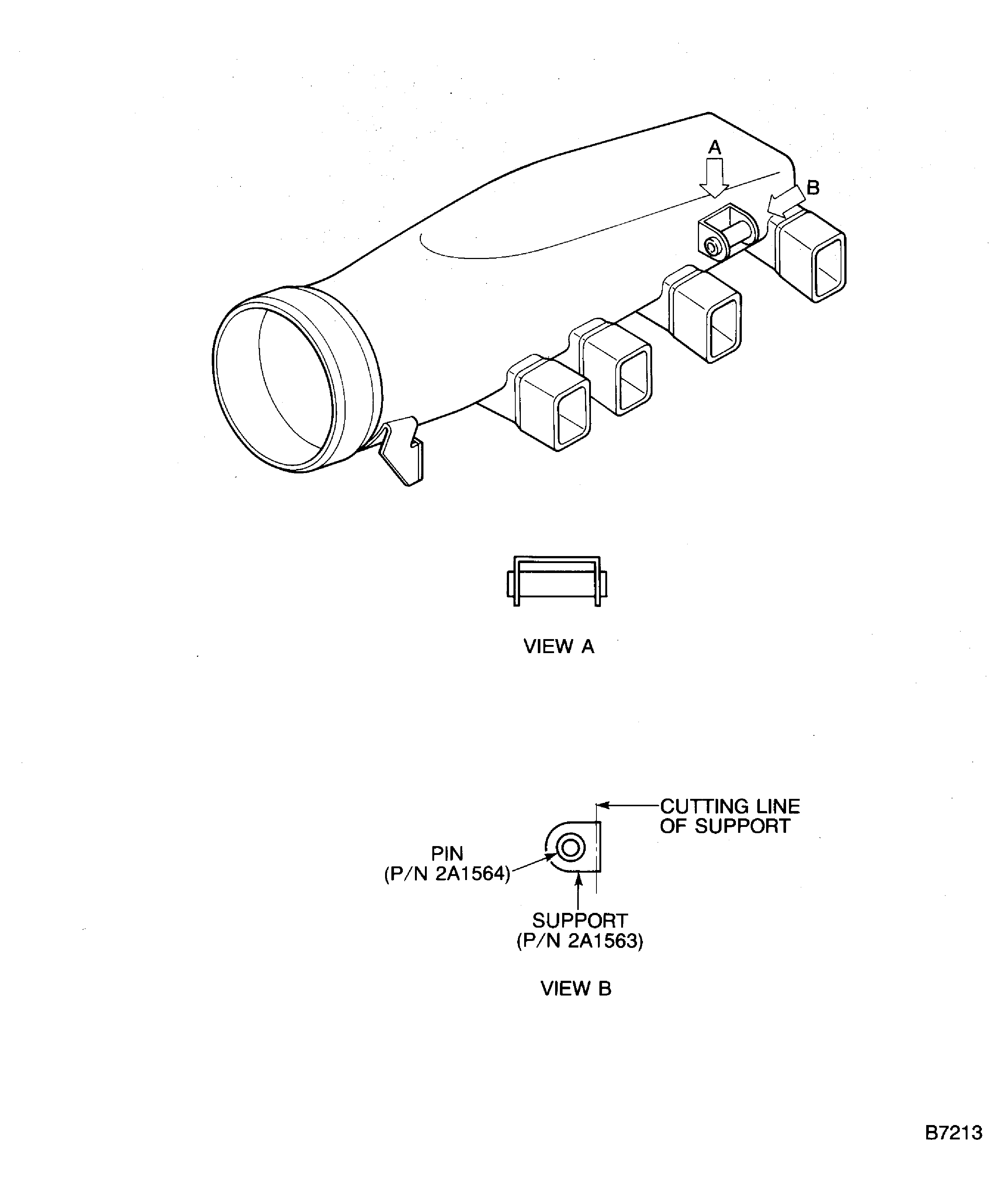
Refer to Figure.
Refer to Figure.
Use a wire cutter.
Cut out the support flanges at 2 point, each point is as close as the manifold body.
Refer to Figure.
Use a Grinder, Hand held pneumatic.
Remove the residual support from the manifold body, keeping the original thickness of the manifold body.
SUBTASK 75-24-48-350-072 Cut Out the Pin and Support
Refer to TASK 75-24-48-100-000 (75- 24-48, CLEANING-00, Page 601)..
Remove all the oxides, hydrocarbon, grit and scale from the surface to be welded and adjacent area by local cleaning.
SUBTASK 75-24-48-350-073 Remove All the Soil from the Surface
Refer to Figure.
Refer to Figure.
Refer to SPM TASK 70-31-02-300-501.
Use a TIG welding equipment.
Weld the pin to the support by tungsten inert gas (TIG) weld.
Refer to Figure.
Refer to SPM TASK 70-31-02-300-501.
Use an TIG welding equipment.
Weld the support to the manifold by tungsten inert gas (TIG) weld.
Use a Grinder, Hand held pneumatic.
In contact area, remove excess weld and dress flush with adjacent area.
SUBTASK 75-24-48-350-074 Weld the Pin and Support
Stress relieve at 1200 deg F plus or minus 25 deg F (649 deg C plus or minus 14 deg C) for one hour.
Heat treat the turbine cooling manifold assembly.
SUBTASK 75-24-48-310-080 Heat Treat the Turbine Cooling Manifold Assembly
Refer to SPM TASK 70-23-05-230-501.
Penetrant examine the repaired area.
Use a 8X magnifying glass.
Refer to the TASK 75-24-48-200-000 (75-24-48, INSPECTION/CHECK-00, Page 801).
Visually examine the repaired area.
SUBTASK 75-24-48-220-064 Examine the Welded Area for Cracks
Figure: Replacement of the Pin and Support
Replacement of the Pin and Support

Figure: Replacement of the pin and support
Replacement of the pin and support

Replacement of the pin and support

