Export Control
EAR Export Classification: Not subject to the EAR per 15 C.F.R. Chapter 1, Part 734.3(b)(3), except for the following Service Bulletins which are currently published as EAR Export Classification 9E991: SBE70-0992, SBE72-0483, SBE72-0580, SBE72-0588, SBE72-0640, SBE73-0209, SBE80-0024 and SBE80-0025.Copyright
© IAE International Aero Engines AG (2001, 2014 - 2021) The information contained in this document is the property of © IAE International Aero Engines AG and may not be copied or used for any purpose other than that for which it is supplied without the express written authority of © IAE International Aero Engines AG. (This does not preclude use by engine and aircraft operators for normal instructional, maintenance or overhaul purposes.).Applicability
All
Common Information
TASK 75-24-48-300-018 HPT ACC Air Manifold - Replace the Pin, Repair-018 (VRS1544)
Material of component
DESCRIPTION | RR SYMBOL | MATERIAL |
Turbine cooling manifold assembly | Fe-18.5Cr-1Ni-0.04Ti | |
Turbine cooling manifold assembly (Pin) | Fe-18.5Cr-1Ni-0.04Ti |
General
Price and availability - none.
The practice and processes referred to in the procedure by the TASK number are in the SPM.
For the method to clean the parts, refer to Cleaning-000 TASK 75-24-48-100-100.
NOTE
Preliminary Requirements
Pre-Conditions
NONESupport Equipment
| Name | Manufacturer | Part Number / Identification | Quantity | Remark |
|---|---|---|---|---|
| Magnifying glass | LOCAL | Magnifying glass | 8x | |
| TIG welding equipment | LOCAL | TIG welding equipment | ||
| Grinder, Hand held pneumatic | LOCAL | Grinder, Hand held pneumatic | ||
| Wire cutter | LOCAL | Wire cutter |
Consumables, Materials and Expendables
| Name | Manufacturer | Part Number / Identification | Quantity | Remark |
|---|---|---|---|---|
| CoMat 01-031 ACETONE (CH3)2CO | LOCAL | CoMat 01-031 | ||
| CoMat 02-099 LINT-FREE CLOTH | LOCAL | CoMat 02-099 | ||
| CoMat 03-204 WELDING FILLER WIRE | LOCAL | CoMat 03-204 |
Spares
NONESafety Requirements
NONEProcedure
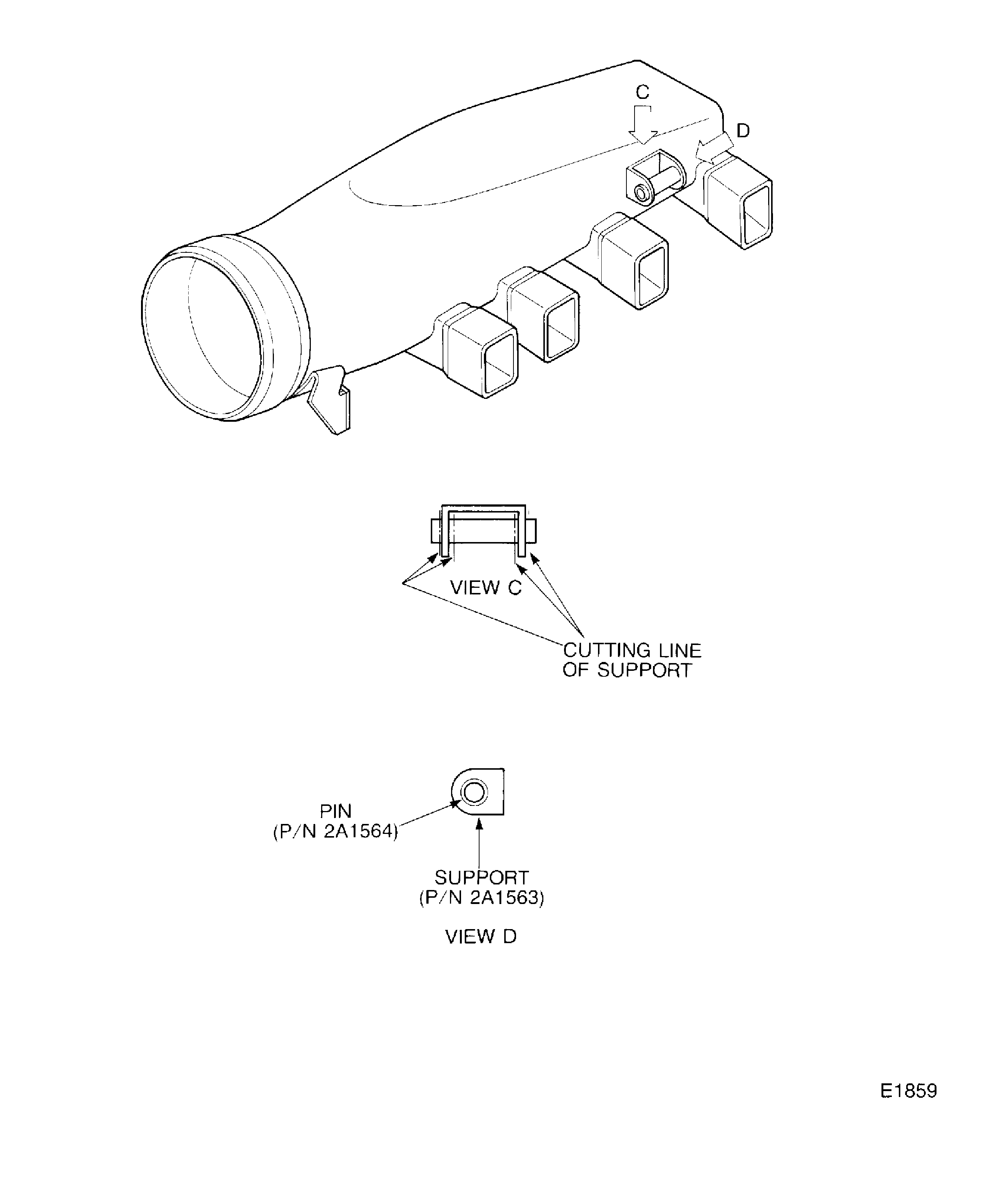
Refer to Figure.
Refer to Figure.
Use a Wire cutter.
Cut out the pin.
Refer to Figure.
Use a Grinder, Hand held pneumatic.
Remove the residual pin from support.
SUBTASK 75-24-48-350-132 Cut Out The Pin
Refer to Cleaning-000 TASK 75-24-48-100-100.
Remove all the oxides, hydrocarbon, grit and scale from the surface to be welded and adjacent area by local cleaning.
SUBTASK 75-24-48-350-133 Remove All the Soil from the Surface
Refer to Figure.
Refer to Figure.
Refer to TASK 70-31-02-300-501.
Use an TIG welding equipment.
Weld the pin to the support by tungsten inert gas (TIG) weld.
Use a Grinder, Hand held pneumatic.
In contact area, remove excess weld and dress flush with adjacent area.
SUBTASK 75-24-48-350-134 Weld the Pin
Stress relieve at 1175 to 1225 deg F (635 to 663 deg C) for one hour.
Heat treat the turbine cooling manifold assembly.
SUBTASK 75-24-48-310-074 Heat Treat the Turbine Cooling Manifold Assembly
Refer to SPM TASK 70-23-05-230-501.
Penetrant examine the repaired area.
Use an 8x Magnifying glass.
Refer to Inspection-000 TASK 75-24-48-200-100.
Visually examine the repaired area.
SUBTASK 75-24-48-220-084 Examine the Welded Area for Cracks
Figure: Replacement of the Pin and Support
Replacement of the Pin and Support

Replacement of the Pin and Support

