DMC:V2500-A0-75-24-4901-01A-649A-CIssue No:002.00Issue Date:2015-02-01
Export Control
EAR Export Classification: Not subject to the EAR per 15 C.F.R. Chapter 1, Part 734.3(b)(3), except for the following Service Bulletins which are currently published as EAR Export Classification 9E991: SBE70-0992, SBE72-0483, SBE72-0580, SBE72-0588, SBE72-0640, SBE73-0209, SBE80-0024 and SBE80-0025.Copyright
© IAE International Aero Engines AG (2001, 2014 - 2021) The information contained in this document is the property of © IAE International Aero Engines AG and may not be copied or used for any purpose other than that for which it is supplied without the express written authority of © IAE International Aero Engines AG. (This does not preclude use by engine and aircraft operators for normal instructional, maintenance or overhaul purposes.).Applicability
All
Common Information
TASK 75-24-49-300-028 LPT ACC Connector Air Tube - Blend Repair Surface Damage, Repair-028 (VRS4359)
General
Price and availability.
Refer to IAE for any of these items.
The practices and processes referred to in the procedure by the TASK number are in the SPM.
NOTE
Equivalent equipment may be used.
Preliminary Requirements
Pre-Conditions
NONESupport Equipment
| Name | Manufacturer | Part Number / Identification | Quantity | Remark |
|---|---|---|---|---|
| Illuminated comparator magnifier | LOCAL | Illuminated comparator magnifier |
Consumables, Materials and Expendables
NONESpares
NONESafety Requirements
NONEProcedure
Use files and stones to remove raised material.
Blend the nicks, dents and pits on the connector tube.
Use fine stones to make the blended surface as smooth as the initial surface.
Edges and corners are not permitted.
Polish the blended areas.
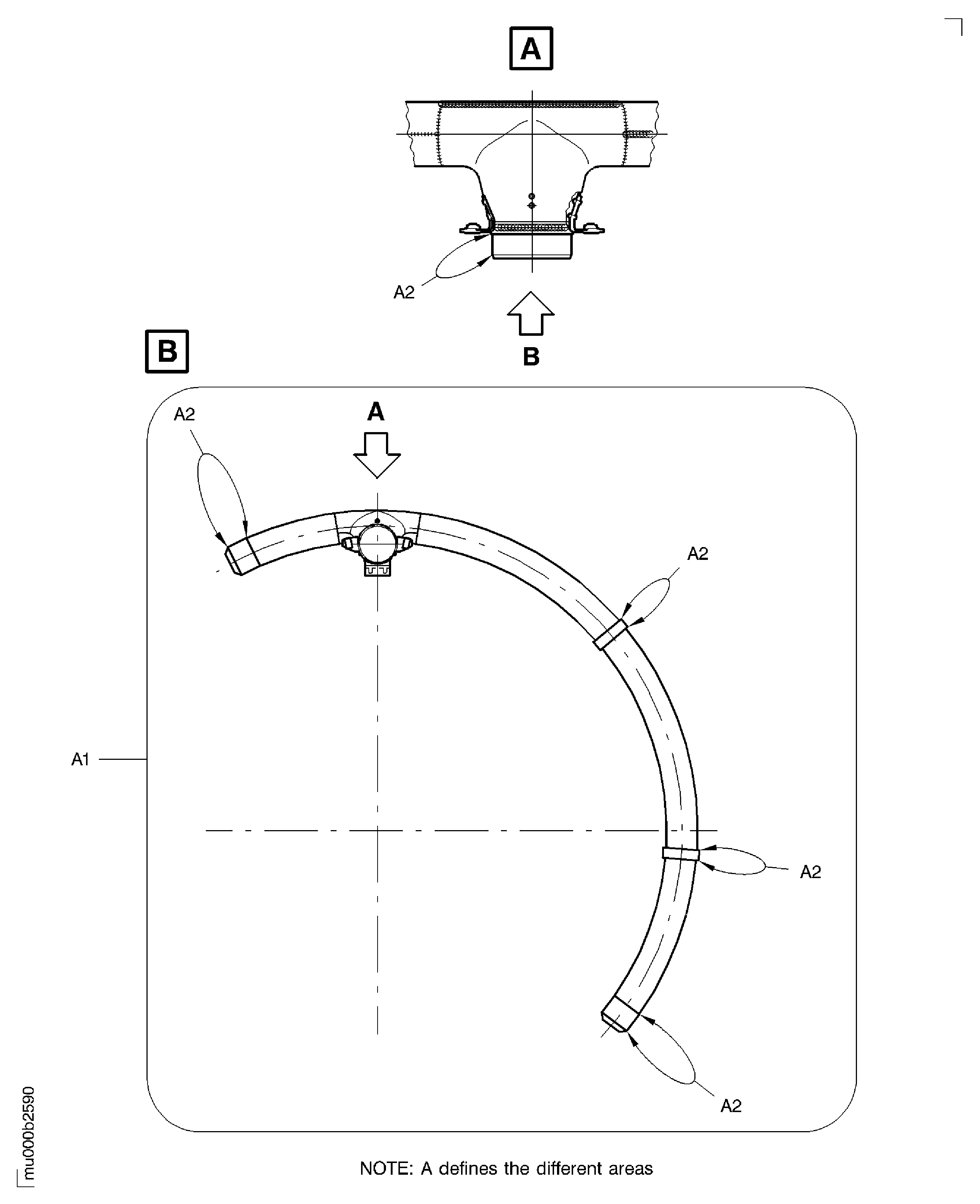
SUBTASK 75-24-49-350-110 General Instructions for the Blend Repair of the Tube Connector (01-010)
Refer to Figure.
No blend repair necessary.
Remove raised material only.
Blend repair in area A1 and A2.
SUBTASK 75-24-49-350-111 Blend the Tube Connector (01-010)
The surface finish of all repairs must be as good as the surrounding areas.
Examine the surface finish.
SUBTASK 75-24-49-220-141 Do the Post Repair Inspection of the Tube Connector (01-010)
Figure: Blend Repair of the Connector Tube
Blend Repair of the Connector Tube

