Export Control
EAR Export Classification: Not subject to the EAR per 15 C.F.R. Chapter 1, Part 734.3(b)(3), except for the following Service Bulletins which are currently published as EAR Export Classification 9E991: SBE70-0992, SBE72-0483, SBE72-0580, SBE72-0588, SBE72-0640, SBE73-0209, SBE80-0024 and SBE80-0025.Copyright
© IAE International Aero Engines AG (2001, 2014 - 2021) The information contained in this document is the property of © IAE International Aero Engines AG and may not be copied or used for any purpose other than that for which it is supplied without the express written authority of © IAE International Aero Engines AG. (This does not preclude use by engine and aircraft operators for normal instructional, maintenance or overhaul purposes.).Applicability
All
Common Information
TASK 75-24-49-300-004 LPT ACC Cooling Air Ducts - Blend Repair Surface Damage, Repair-004 (VRS4048)
Material of component
DESCRIPTION | RR SYMBOL | MATERIAL |
Air cooling duct, upper | TiCu2 | |
Air cooling duct, lower | TiCu2 |
General
Price and availability
Refer to IAE for any of these items.
The practices and processes referred to in the procedure by the TASK numbers are in the SPM.
Related repairs - none
NOTE
Preliminary Requirements
Pre-Conditions
NONESupport Equipment
| Name | Manufacturer | Part Number / Identification | Quantity | Remark |
|---|---|---|---|---|
| Radius gage set | LOCAL | Radius gage set | ||
| Dial caliper | LOCAL | Dial caliper | ||
| Illuminated comparator magnifier | LOCAL | Illuminated comparator magnifier |
Consumables, Materials and Expendables
NONESpares
NONESafety Requirements
NONEProcedure
Use files and stones to remove the nicks, dents or pits.
Blend the nicks, dents or pits of the air cooling duct.
Use fine stones to make the blended surface as smooth as the initial surface. Edges and corners are not permitted.
Polish the blended areas.
SUBTASK 75-24-49-350-055 General Instructions for the Blend Repair of the Air Cooling Duct (02-010 and 03-010)
Maximum permitted depth of blend repair is 0.006 in. (0.15 mm) for nicks. Remove only raised material for rounded dents.
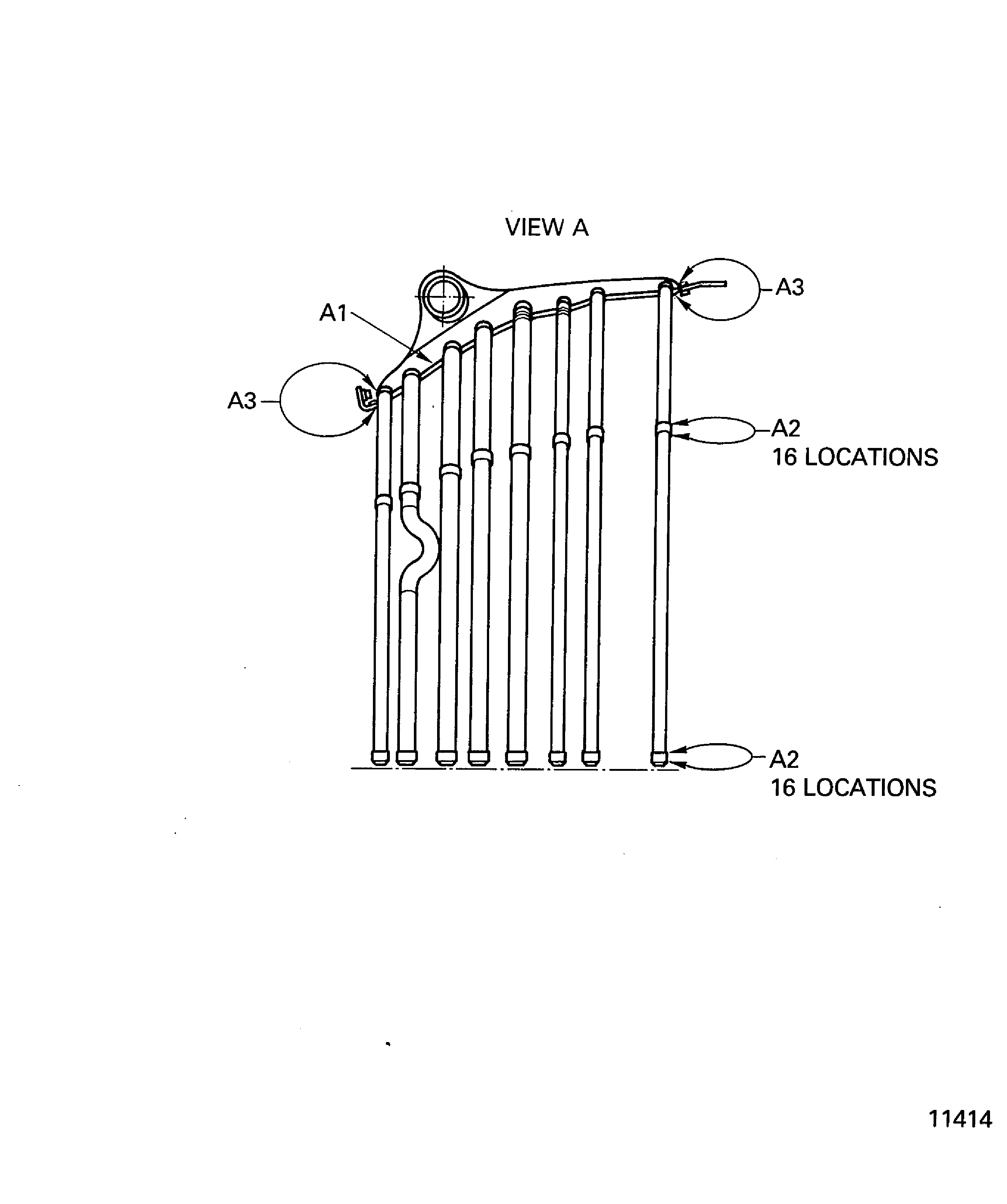
Blend repair in area A1.
No blend repair necessary.
Remove raised material only.
Blend repair in area A2 and all tubes.
No blend repair necessary.
Remove raised material only.
Blend repair in area A3.
SUBTASK 75-24-49-350-056 Blend Repair of the Air Cooling Duct (02-010 and 03-010)
NOTE
Keep material removal to the minimum to remove damage.For local blending, use a length to depth ratio of 5:1 minimum (refer to Figure).Unless stated differently there is no limit for the number of blends. If there is a number of damage marks together blend the whole area to the specified depth. Minimum distance between blends is 0.500 in. (12.7 mm).Examine all blended areas in accordance with the SPM TASK 70-23-05-230-501.
No cracks are permitted.
Do the test for cracks.
SUBTASK 75-24-49-230-056 Examine the Air Cooling Duct (02-010 and 03-010)
The surface finish of all repairs must be as good as surrounding areas.
Examine the surface finish.
Refer to Figure.
Use Dial caliper and Radius gage set.
Measure the dimensions of the blended areas.
The blend ratio must be in the limits given in Step
Examine the blend repaired areas dimensionally.
SUBTASK 75-24-49-220-075 Do the Post Repair Inspection of the Air Cooling Duct (02-010 and 03-010)
Figure: Blend Repair of the Air Cooling Duct
Blend Repair of the Air Cooling Duct

Blend Repair of the Air Cooling Duct

