Export Control
EAR Export Classification: Not subject to the EAR per 15 C.F.R. Chapter 1, Part 734.3(b)(3), except for the following Service Bulletins which are currently published as EAR Export Classification 9E991: SBE70-0992, SBE72-0483, SBE72-0580, SBE72-0588, SBE72-0640, SBE73-0209, SBE80-0024 and SBE80-0025.Copyright
© IAE International Aero Engines AG (2001, 2014 - 2021) The information contained in this document is the property of © IAE International Aero Engines AG and may not be copied or used for any purpose other than that for which it is supplied without the express written authority of © IAE International Aero Engines AG. (This does not preclude use by engine and aircraft operators for normal instructional, maintenance or overhaul purposes.).Applicability
All
Common Information
TASK 79-22-41-060-401 Oil Scavenge Pump - Related Parts - Disassemble The Oil Scavenge Pump, Disassembly-001
General
NOTE
Fig/item numbers in parentheses in the procedure agree with those used in the IPC. Only the primary Fig/item numbers are used. For the service bulletin alpha variants refer to the IPC.
Remove and discard the lockwire before parts are disconnected or removed.
Discard all packings removed in this procedure.
Preliminary Requirements
Pre-Conditions
NONESupport Equipment
| Name | Manufacturer | Part Number / Identification | Quantity | Remark |
|---|---|---|---|---|
| IAE 1F10305 Support stud (short) | 0AM53 | IAE 1F10305 | 3 | |
| IAE 1F10304 Clamping fixture | 0AM53 | IAE 1F10304 | ||
| IAE 1F10306 Support stud (long) | 0AM53 | IAE 1F10306 | 3 | |
| IAE 1F10314 Puller | 0AM53 | IAE 1F10314 | 1 | |
| IAE 1F10311 Adapter | 0AM53 | IAE 1F10311 | 1 | |
| IAE 1F10310 Slide hammer | 0AM53 | IAE 1F10310 | 1 | |
| IAE 1F10312 Adapter wrench | 0AM53 | IAE 1F10312 | 1 |
Consumables, Materials and Expendables
NONESpares
NONESafety Requirements
NONEProcedure
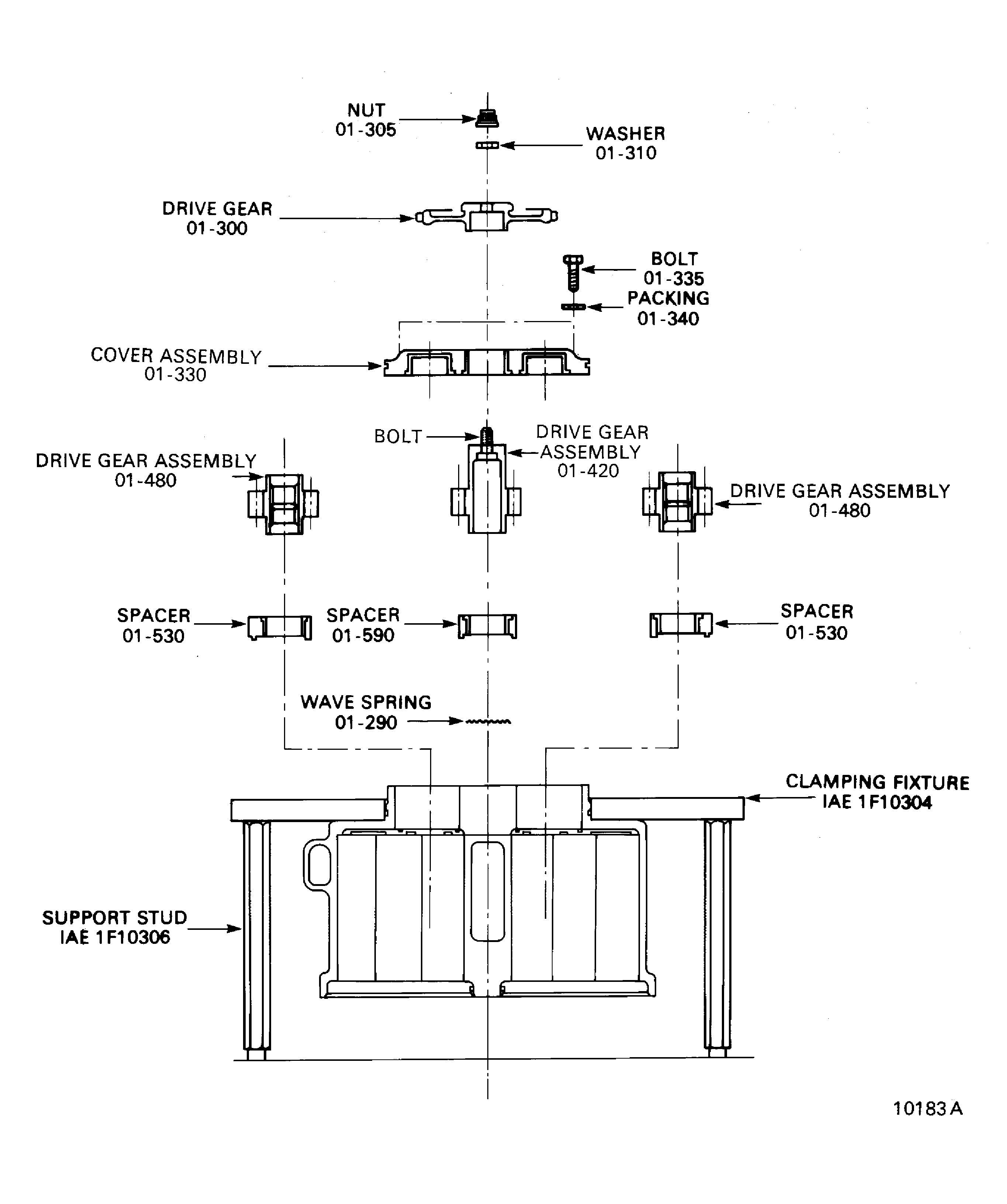
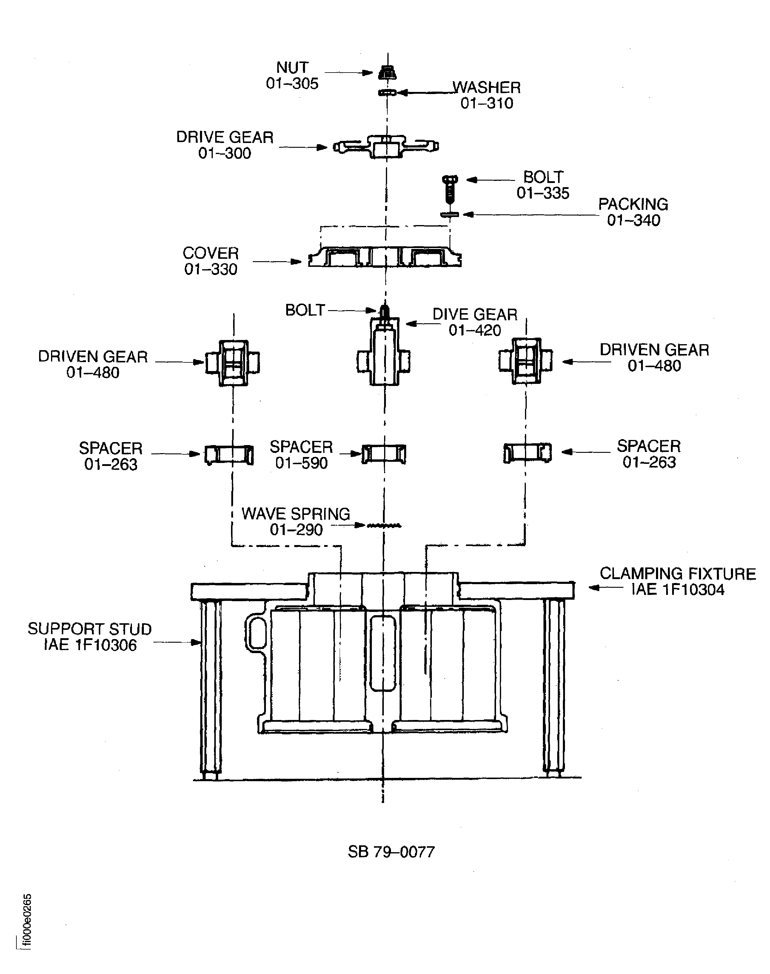
Install IAE 1F10305 Support stud (short) to IAE 1F10304 Clamping fixture and position on the bench.
Remove the eight bolts and the packings which attach the two covers.
Remove the two covers from the casing. Use IAE 1F10311 Adapter with IAE 1F10310 Slide hammer. Discard the two packings.
Remove the two drive gear assemblies and the two driven gears.
Remove the two couplings from the drive gear assemblies.
Remove the four spacers.
Remove the two drive gear assemblies and the two driven gears.
Remove the two couplings from the drive gear assemblies.
Remove the four spacers.
Remove and discard the four wave springs.
Remove the lockwire. Release and remove plug (01-660). Discard the packing.
Install IAE 1F10306 Support stud (long) to the clamping fixture.
Remove IAE 1F10305 Support stud (short) from clamping fixture.
Install IAE 1F10312 Adapter wrench to the pump drive gear.
Hold the pump drive gear and remove the nut and the washer which attach the drive gear to the hub.
Remove the drive gear from the hub. Use IAE 1F10314 Puller.
Remove the six bolts and packings which attach the cover on the drive gear side. Discard the packings.
Remove the cover and the drive gear assembly.
Remove the two drive gear assemblies from the casing.
Remove the three spacers.
Remove and discard the wave springs.
Remove the casing from the clamping fixture.
NOTE
Keep the gears mesh together at all times as they are matched assemblies.
SUBTASK 79-22-41-060-051 Disassemble the Oil Scavenge Pump
Figure: Scavenge Oil Pump - Disassemble The Components
Scavenge Oil Pump - Disassemble The Components

Scavenge Oil Pump - Disassemble The Components

Scavenge Oil Pump - Disassemble The Components

Scavenge Oil Pump - Disassemble The Components

Figure: Scavenge Oil Pump - Disassemble The Components
Scavenge Oil Pump - Disassemble The Components

Scavenge Oil Pump - Disassemble The Components

