Export Control
EAR Export Classification: Not subject to the EAR per 15 C.F.R. Chapter 1, Part 734.3(b)(3), except for the following Service Bulletins which are currently published as EAR Export Classification 9E991: SBE70-0992, SBE72-0483, SBE72-0580, SBE72-0588, SBE72-0640, SBE73-0209, SBE80-0024 and SBE80-0025.Copyright
© IAE International Aero Engines AG (2001, 2014 - 2021) The information contained in this document is the property of © IAE International Aero Engines AG and may not be copied or used for any purpose other than that for which it is supplied without the express written authority of © IAE International Aero Engines AG. (This does not preclude use by engine and aircraft operators for normal instructional, maintenance or overhaul purposes.).Applicability
All
Common Information
TASK 79-22-41-300-044 Oil Scavenge Pump - Related Parts - Repair The Chip Detector Housing Bore By Threaded Insert In The Casing Assembly, Repair-044 (VRS5426)
General
Price and availability - none.
The practices and processes referred to in the procedure by the TASK numbers are in the SPM.
NOTE
Preliminary Requirements
Pre-Conditions
NONESupport Equipment
| Name | Manufacturer | Part Number / Identification | Quantity | Remark |
|---|---|---|---|---|
| Workshop inspection equipment | LOCAL | Workshop inspection equipment | ||
| Grinding machine | LOCAL | Grinding machine | ||
| Magnifying glass | LOCAL | Magnifying glass | ||
| Vibrating marking pencil | LOCAL | Vibrating marking pencil |
Consumables, Materials and Expendables
| Name | Manufacturer | Part Number / Identification | Quantity | Remark |
|---|---|---|---|---|
| CoMat 01-001 1,1,1-TRICHLOROETHANE, INHIBITED AND STABILIZED | LOCAL | CoMat 01-001 | ||
| CoMat 01-043 SULFURIC ACID H2SO4 | LOCAL | CoMat 01-043 | ||
| CoMat 01-058 NITRIC ACID HNO3 | LOCAL | CoMat 01-058 | ||
| CoMat 02-008 PUMICE POWDER | LOCAL | CoMat 02-008 | ||
| CoMat 02-139 LIME | LOCAL | CoMat 02-139 | ||
| CoMat 02-141 LOCKWIRE | LOCAL | CoMat 02-141 | ||
| CoMat 07-028 CHROMATE CONVERSION COATING FOR ALUMINUM | LOCAL | CoMat 07-028 | ||
| CoMat 10-077A APPROVED ENGINE OIL | LOCAL | CoMat 10-077A |
Spares
| Name | Manufacturer | Part Number / Identification | Quantity | Remark |
|---|---|---|---|---|
| Threaded insert | LOCAL | 4P7299 | AR | |
| Packing | LOCAL | AS3208-11 | AR |
Safety Requirements
NONEProcedure
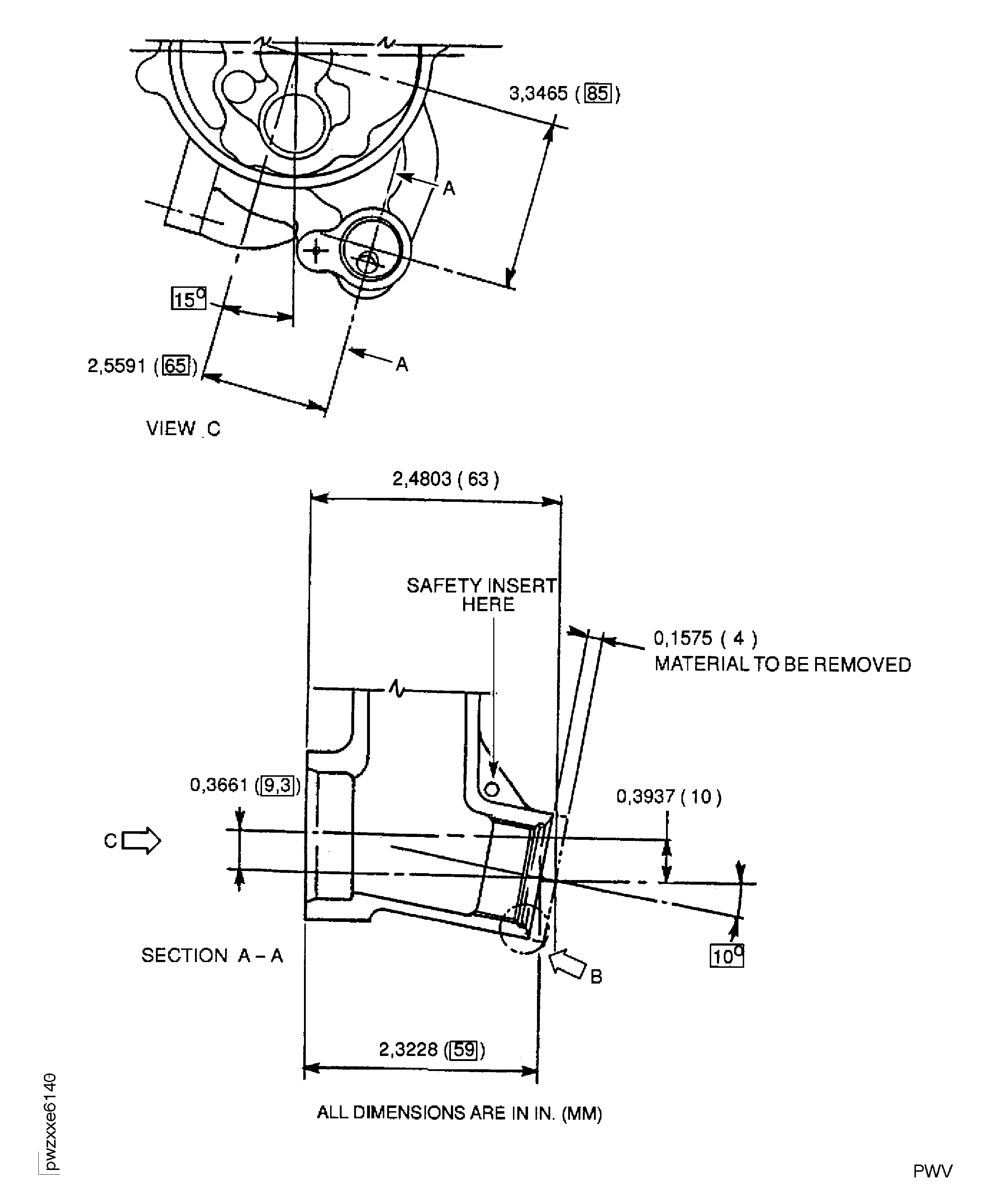
Refer to Figure.
Remove 0.1575 in. (4 mm) of material.
The perpendicularity of the surface must be within 0.004 in. (0.102 mm) FIR in relation to diameter D.
Bore surface rough must be 63 micro-inches (1.6 micrometers).
Machine the chip detector housing mating surface.
SUBTASK 79-22-41-320-063 Machine the Chip Detector Housing Mating Surface
Refer to Figure.
Machine the chip detector housing bore.
SUBTASK 79-22-41-320-064 Machine the Chip Detector Housing Bore
Use a Magnifying glass.
Examine the casing assembly for cracks in locality of bore.
SUBTASK 79-22-41-320-065 Examine the Casing Assembly
Refer to SPM TASK 70-38-02-300-503
Apply the chromate conversion coating to the machined surfaces and to the threads.
SUBTASK 79-22-41-330-071 Apply the Chromate Conversion Coating
Install the insert into threaded hole in the casing assembly.
Torque the insert to 53.105 lbfin. to 70.806 lbfin. (6 Nm to 8 Nm).
Safety the insert to the casing assembly.
Lubricate AS3208-11 and install it on the groove of the insert.
SUBTASK 79-22-41-320-066 Install the Threaded Insert
Remove the metal lifted by marking.
Vibroengrave VRS5426 adjacent to the part number.
SUBTASK 79-22-41-320-067 Record the Repair
Figure: Repair Details and Dimensions
Repair Details and Dimensions

Repair Details and Dimensions

