Export Control
EAR Export Classification: Not subject to the EAR per 15 C.F.R. Chapter 1, Part 734.3(b)(3), except for the following Service Bulletins which are currently published as EAR Export Classification 9E991: SBE70-0992, SBE72-0483, SBE72-0580, SBE72-0588, SBE72-0640, SBE73-0209, SBE80-0024 and SBE80-0025.Copyright
© IAE International Aero Engines AG (2001, 2014 - 2021) The information contained in this document is the property of © IAE International Aero Engines AG and may not be copied or used for any purpose other than that for which it is supplied without the express written authority of © IAE International Aero Engines AG. (This does not preclude use by engine and aircraft operators for normal instructional, maintenance or overhaul purposes.).Applicability
All
Common Information
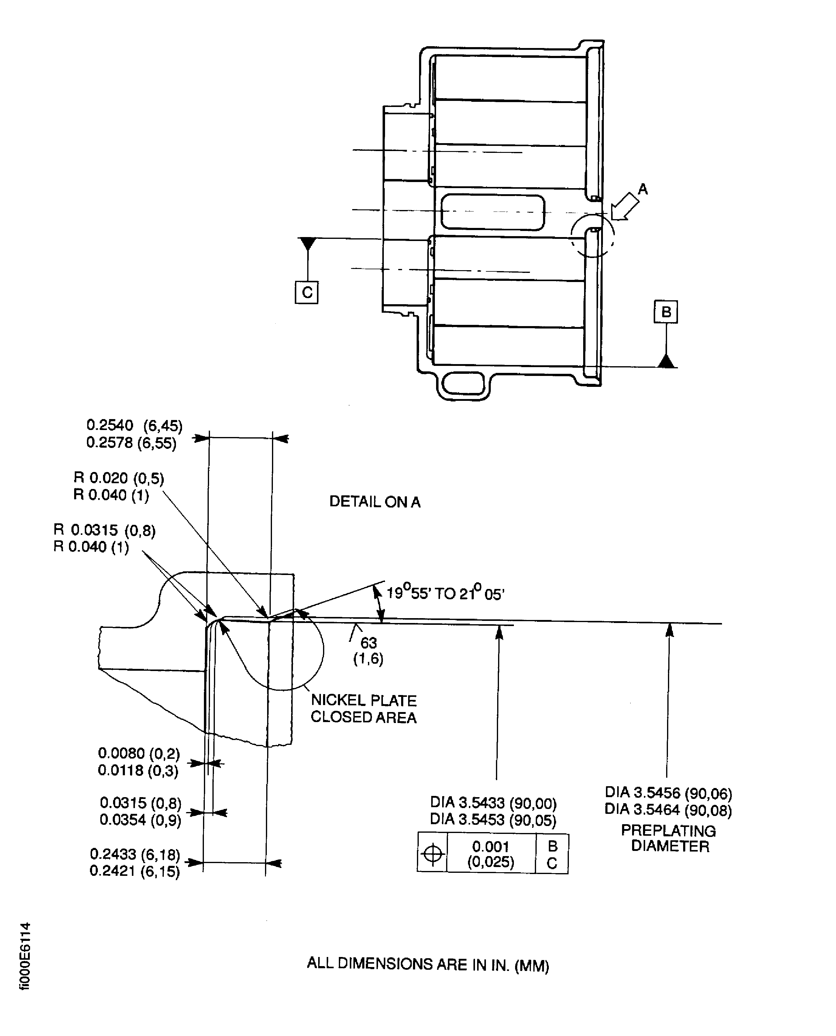
TASK 79-22-41-300-031 Oil Scavenge Pump - Related Parts - Nickel Plate The Cover Seat In The Oil Casing Assembly, Repair-031 (VRS5368)
General
Price and availability - none
The practices and processes referred to in the procedure by the TASK numbers are in the SPM.
NOTE
Preliminary Requirements
Pre-Conditions
NONESupport Equipment
| Name | Manufacturer | Part Number / Identification | Quantity | Remark |
|---|---|---|---|---|
| Workshop Inspection Equipment | LOCAL | Workshop Inspection Equipment | ||
| Grinding Machine | LOCAL | Grinding Machine | ||
| FPI inspection station | LOCAL | FPI inspection station | ||
| Basket | LOCAL | Basket | ||
| Process Plating Tanks | LOCAL | Process Plating Tanks | ||
| Oven | LOCAL | Oven | ||
| Magnifying glass | LOCAL | Magnifying glass | 4x | |
| Vibrating marking pencil | LOCAL | Vibrating marking pencil |
Consumables, Materials and Expendables
| Name | Manufacturer | Part Number / Identification | Quantity | Remark |
|---|---|---|---|---|
| CoMat 02-067 STRIPPABLE COATING | 71410 | CoMat 02-067 |
Spares
NONESafety Requirements
NONEProcedure
Refer to Figure.
Remove all damage and wear. The cover seat must be between 3.5456 to 3.5464 in. (90.060 to 90.080 mm) after the removal of the damage.
Keep the removal of the material to the minimum necessary to remove the damage.
Machine the cover seat
SUBTASK 79-22-41-320-059 Machine the Cover Seat in the Casing Assembly
Refer to SPM TASK 70-23-01-230-501.
No cracks are permitted.
Do the fluorescent penetrant inspection for cracks
SUBTASK 79-22-41-230-061 Examine the Casing Assembly
Refer to Figure.
Apply masking to the areas of the casing assembly not to be plated
Refer to SPM TASK 70-33-08-300-503.
Plate to a sufficient thickness to permit machining to the last dimensions indicated in the reference figure.
Plating external to the piloting diameter area is permitted, but must be removed.
Do the nickel plating
Remove the mask.
Flush with cold water.
Flush with hot water.
Dry with an air blast.
Clean and dry the drive gear
SUBTASK 79-22-41-330-069 Nickel Plate the Cover Seat in the Casing Assembly
Do this procedure as soon as possible, in less than 4 hours, after plating.
Put the casing assembly into an Oven at 241 to 260 deg F (116 to 127 deg C) for 60 to 90 minutes
SUBTASK 79-22-41-370-055 De-embrittle the Casing Assembly
Plating must have a constant color.
No circumferential cracks are permitted.
No roughness or blistering is permitted.
Do a visual inspection of the plating for finish, cracks and adhesion
SUBTASK 79-22-41-220-164 Examine the Casing Assembly
Refer to Figure.
The dimensions must be between 3.5433 to 3.5453 in. (90.000 to 90.050 mm).
Chamfer, where necessary.
Machine the cover seat
SUBTASK 79-22-41-320-060 Machine the Cover Seat in the Casing Assembly
Refer to Figure.
Use a Magnifying glass. The natural network crack, shown by grinding is permitted.
Do a visual inspection of the plated area for cracks and adhesion
Do not accept a thickness of less than 0.0006 in. (0.015 mm), after the last machining is not permitted.
Measure the thickness of the plating
SUBTASK 79-22-41-220-165 Examine the Nickel Plated Area
Refer to Figure.
Remove the metal lifted by marking.
Vibro-engrave VRS5368 adjacent to the part number
SUBTASK 79-22-41-350-073 Record the Repair
Figure: Repair Details And Dimensions
Repair Details And Dimensions

