DMC:V2500-A1-29-11-17-01A-941A-DIssue No:002.00Issue Date:2018-11-01
Export Control
EAR Export Classification: Not subject to the EAR per 15 C.F.R. Chapter 1, Part 734.3(b)(3), except for the following Service Bulletins which are currently published as EAR Export Classification 9E991: SBE70-0992, SBE72-0483, SBE72-0580, SBE72-0588, SBE72-0640, SBE73-0209, SBE80-0024 and SBE80-0025.Copyright
© IAE International Aero Engines AG (2001, 2014 - 2021) The information contained in this document is the property of © IAE International Aero Engines AG and may not be copied or used for any purpose other than that for which it is supplied without the express written authority of © IAE International Aero Engines AG. (This does not preclude use by engine and aircraft operators for normal instructional, maintenance or overhaul purposes.).Applicability
All
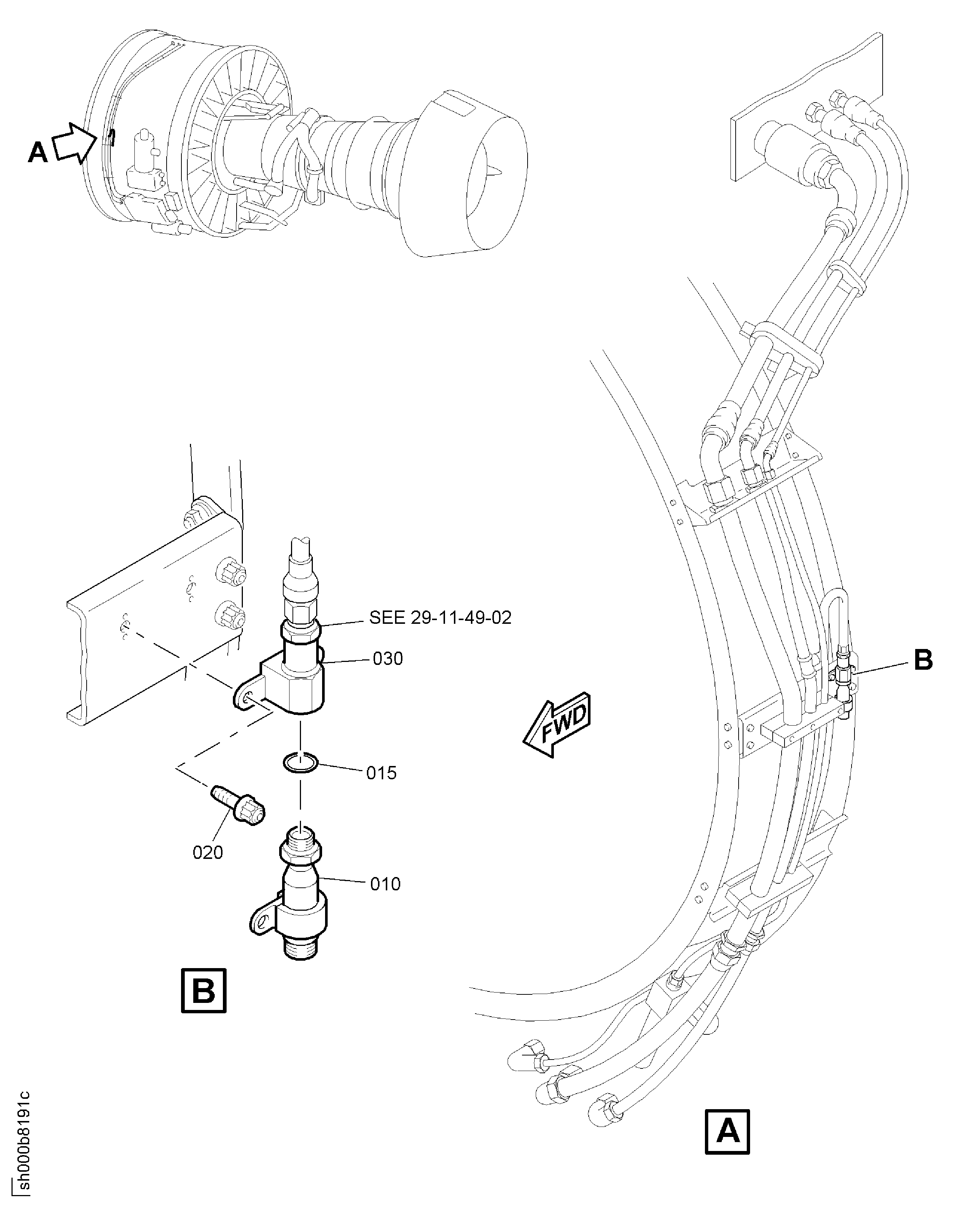
| Fig. Item | Part No. | Description | Effect/Model Applic. | UPA |
|---|---|---|---|---|
| 01 | ||||
| B29111701 | HYDRAULIC POWER - HYDRAULIC PRESSURE SWITCH, PRE SBN29-0004 | aa | ||
| SBN0004-01 | HYDRAULIC POWER - HYDRAULIC PRESSURE SWITCH, PRE SBN29-0263 | ab | ||
| SBN0263-01 | HYDRAULIC POWER - HYDRAULIC PRESSURE SWITCH, PRE SBN29-0262 | ac | ||
| SBN0262-01 | HYDRAULIC POWER - HYDRAULIC PRESSURE SWITCH, PRE SBN70-0901 | ad | ||
| SBN0901-01 | HYDRAULIC POWER - HYDRAULIC PRESSURE SWITCH, PRE SBE70-0904 | ae | ||
| SBE0904-01 | HYDRAULIC POWER - HYDRAULIC PRESSURE SWITCH | af | ||
| 010 | 50-1-3100-00 | • SWITCH - LP WARNING D2638 PRE SBN70-0901 | aa-af | 1 |
| 010A | 450-1-3100-00 | • SWITCH - LPT WARNING D2638 POST SBN70-0901 | aa-af | 1 |
| 015 | 100-910-2397 | • PACKING 51563 | aa-af | 1 |
| 020 | AS21409 | • BOLT - 0.190 DIA X 0.562 U1653 PRE SBN29-0004 | aa | 2 |
| 020A | AS21411 | • BOLT, .190 DIA X .688 U1653 POST SBN29-0004 | aa-af | 2 |
| 025 | 740-5285-501 | • SPACER 51563 POST SBN29-0004 | ab-af | 1 |
| 027 | 745-5022-501 | • WASHER - TAB 51563 POST SBN29-0262 PRE SBE70-0904 | ad-af | 2 |
| 027A | 745-5022-503 | • WASHER - TAB 51563 POST SBE70-0904 | ad-af | 2 |
| 030 | 740-5777-501 | • ADAPTER - LP SWITCH MOUNT 51563 | aa-af | 1 |
| 035 | AS62414 | • CLIP - 22.22 MM (0.875) U1653 POST SBN29-0263 | ac-af | 1 |
| 040 | AS21409 | • BOLT - 0.190 DIA X 0.562 U1653 POST SBN29-0263 | ac-af | 1 |
| 040A | AS21409 | • BOLT - 0.190 DIA X 0.562 U1653 ALT MS9556-07 | ac-af | 1 |
| -040B | MS9556-07 | • BOLT - MACHINE, DOUBLE HEXAGON, EXTERNAL WASHER HEAD, 0.190 - 32 X 0.562 96906 ALT AS21409 | af | REF |
| 045 | AS41104 | • NUT - 0.19 DIA U1653 POST SBN29-0263 | ac-af | 1 |
| - ITEM NOT ILLUSTRATED, ***** EFFECTIVITY NOT AVAILABLE | ||||
Figure: HYDRAULIC POWER-HYDRAULIC PRESSURE SWITCH
SWITCH LP HYDRAULIC

SWITCH LP HYDRAULIC

