DMC:V2500-A1-30-21-49-02A-941A-DIssue No:004.00Issue Date:2020-02-01
Export Control
EAR Export Classification: Not subject to the EAR per 15 C.F.R. Chapter 1, Part 734.3(b)(3), except for the following Service Bulletins which are currently published as EAR Export Classification 9E991: SBE70-0992, SBE72-0483, SBE72-0580, SBE72-0588, SBE72-0640, SBE73-0209, SBE80-0024 and SBE80-0025.Copyright
© IAE International Aero Engines AG (2001, 2014 - 2021) The information contained in this document is the property of © IAE International Aero Engines AG and may not be copied or used for any purpose other than that for which it is supplied without the express written authority of © IAE International Aero Engines AG. (This does not preclude use by engine and aircraft operators for normal instructional, maintenance or overhaul purposes.).Applicability
All
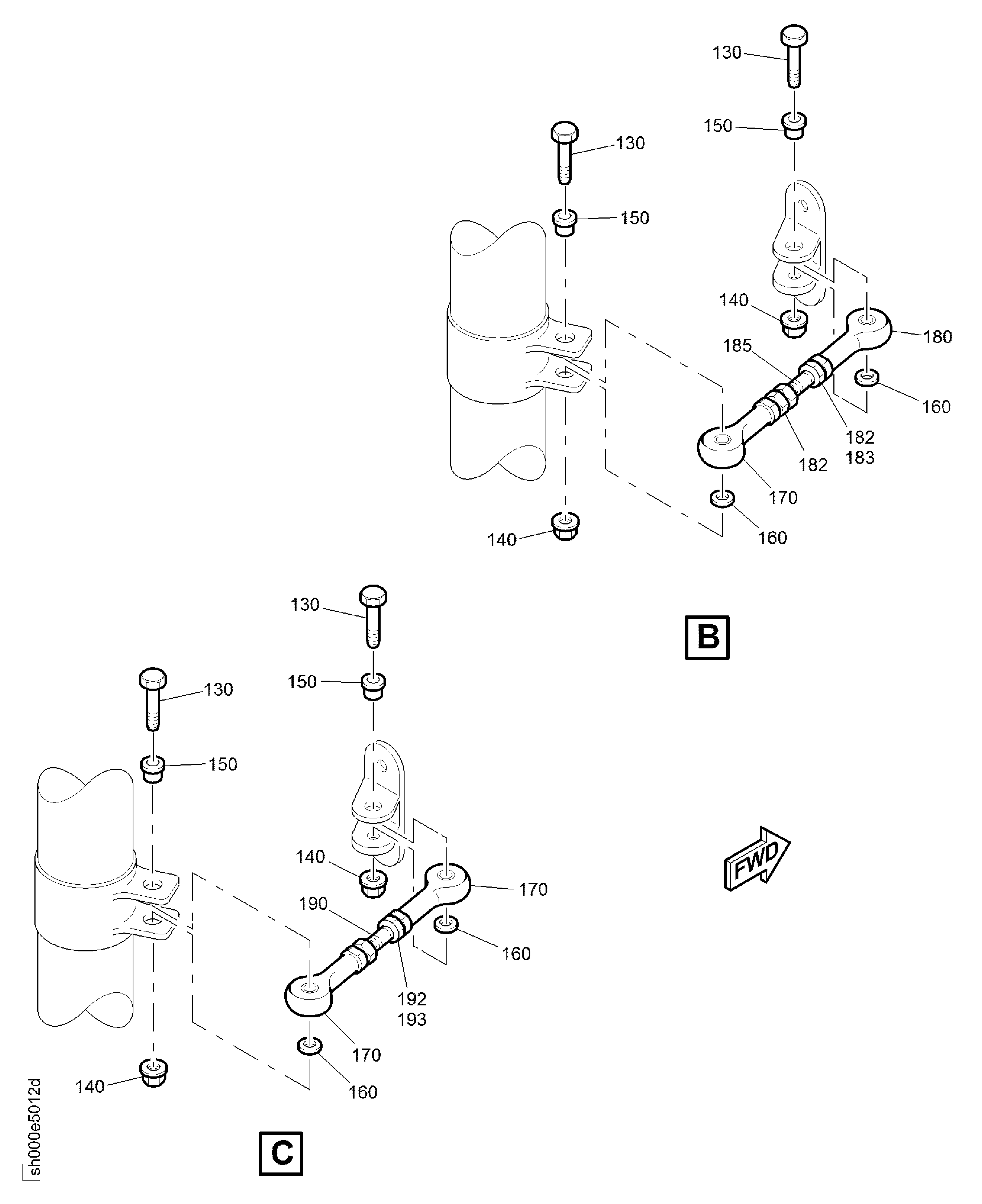
| Fig. Item | Part No. | Description | Effect/Model Applic. | UPA |
|---|---|---|---|---|
| 02 | ||||
| B30214902 | ICE AND RAIN PROTECTION - ANTI ICE DUCTS, PRE SBN70-0439 | aa | ||
| SBN0439-01 | ICE AND RAIN PROTECTION - ANTI ICE DUCTS, PRE SBE70-0670 | ab | ||
| SBE0670-01 | ICE AND RAIN PROTECTION - ANTI ICE DUCTS, PRE SBN70-0744 | ac | ||
| SBN0744-01 | ICE AND RAIN PROTECTION - ANTI ICE DUCTS | ad | ||
| 100 | 740-5152-507 | • DUCT - ASSEMBLY OF 51563 | aa-ad | 1 |
| 110 | 6299257-0200 | • COUPLING - ASSEMBLY OF 00624 | aa-ad | 1 |
| 120 | NK103102-0200 | • SEAL K6712 | aa-ad | 1 |
| 130 | NAS6704-16 | • BOLT 80205 | aa-ad | 4 |
| 140 | MS21043-4 | • NUT 96906 | aa-ad | 4 |
| -140A | H41-4 | • NUT 15653 ALT MS21043-4 | aa-ad | REF |
| 150 | 740-5111-501 | • BUSHING - FLANGED 51563 | aa-ad | 4 |
| 160 | SP156E | • WASHER K7766 | aa-ad | 4 |
| 170 | RFY04UJ | • BEARING K7067 PRE SBN70-0439 | aa | 3 |
| 170A | P3A1830 | • BEARING K7067 POST SBN70-0439 PRE SBN70-0744 | aa-ac | 3 |
| 170B | B0308015 | • BEARING K4585 POST SBN70-0744 | aa-ad | 3 |
| 180 | RMY04UJ | • BEARING - LINK, MALE K7067 PRE SBN70-0439 | aa | 1 |
| 180A | P3A1820 | • BEARING - ROD END, ASSEMBLY OF K7067 POST SBN70-0439 | aa-ad | 1 |
| 182 | A105GT | • NUT - 0.312 DIA K7766 | aa-ad | 1 |
| 183 | SP108G | • WASHER - TAB K7766 | aa-ad | 1 |
| 190 | 740-5169-501 | • ROD 51563 | aa-ad | 1 |
| 192 | A105GT | • NUT - 0.312 DIA K7766 | aa-ad | 2 |
| 193 | SP108G | • WASHER - TAB K7766 | aa-ad | 2 |
| -300 | 324425 | • VALVE - INTAKE ANTI-ICE 79318 | aa-ad | REF |
| 500 | 740-5153-507 | • DUCT - ASSEMBLY OF 51563 | aa-ad | 1 |
| 510 | 6299257-0200 | • COUPLING - ASSEMBLY OF 00624 | aa-ad | 1 |
| 520 | NK103102-0200 | • SEAL K6712 PRE SBE70-0670 | aa-ab | 1 |
| 520A | NK103102-0200 | • SEAL K6712 ALT S2347-200 POST SBE70-0670 | ac-ad | 1 |
| 520B | S2347-200 | • SEAL 51563 ALT NK103102-0200 POST SBE70-0670 | ac-ad | 1 |
| - ITEM NOT ILLUSTRATED, ***** EFFECTIVITY NOT AVAILABLE | ||||
Figure: Anti-Ice Ducts
DUCT ASSY ANTI ICE

Figure: Anti-Ice Ducts
Anti-Ice Ducts

